TOP
|
特許
|
意匠
|
商標
特許ウォッチ
Twitter
他の特許を見る
10個以上の画像は省略されています。
公開番号
2025177413
公報種別
公開特許公報(A)
公開日
2025-12-05
出願番号
2024084228
出願日
2024-05-23
発明の名称
コンデンサモジュール
出願人
日本特殊陶業株式会社
代理人
弁理士法人グランダム特許事務所
主分類
H01G
4/38 20060101AFI20251128BHJP(基本的電気素子)
要約
【課題】コンデンサをより高集積化することが可能な技術を提供する。
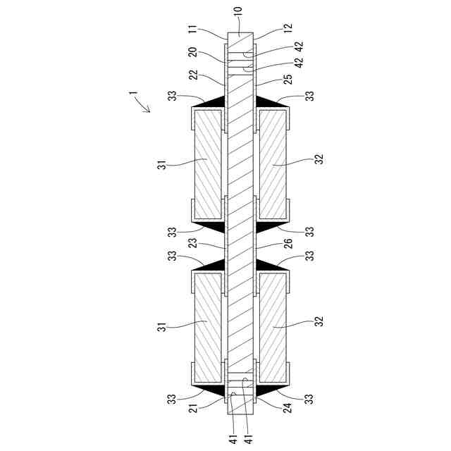
【解決手段】コンデンサモジュール1は、絶縁基板10と、複数の第1セラミックコンデンサ31と、複数の第2セラミックコンデンサ32と、ビア41,42と、を備える。絶縁基板10は、第1面11と、第1面11とは反対側の第2面12と、を有する。複数の第1セラミックコンデンサ31は、第1面11に実装される。複数の第2セラミックコンデンサ32は、第2面12に実装される。ビア41,42は、絶縁基板10を貫通し、第1セラミックコンデンサ31と第2セラミックコンデンサ32とを電気的に接続する。絶縁基板10の厚さ方向において、少なくとも1つの第1セラミックコンデンサ31と、少なくとも1つの第2セラミックコンデンサ32とは、少なくとも一部が互いに重なる位置に配置される。
【選択図】図3
特許請求の範囲
【請求項1】
第1面と、前記第1面とは反対側の第2面と、を有する絶縁基板と、
前記第1面に実装される複数の第1セラミックコンデンサと、
前記第2面に実装される複数の第2セラミックコンデンサと、
前記絶縁基板を貫通し、前記第1セラミックコンデンサと前記第2セラミックコンデンサとを電気的に接続するビアと、を備え、
前記絶縁基板の厚さ方向において、少なくとも1つの前記第1セラミックコンデンサと、少なくとも1つの前記第2セラミックコンデンサとは、少なくとも一部が互いに重なる位置に配置される
コンデンサモジュール。
続きを表示(約 920 文字)
【請求項2】
前記絶縁基板の厚さ方向から見た場合に、前記複数の第1セラミックコンデンサが配置される領域の面積と、前記複数の第2セラミックコンデンサが配置される領域の面積のうち大きい方の面積S1と、前記複数の第1セラミックコンデンサと前記複数の第2セラミックコンデンサとが重なる領域の面積S2との関係が以下の式(1)の条件を満たす
請求項1に記載のコンデンサモジュール。
(S2/S1)×100≧50[%] ・・・式(1)
【請求項3】
前記面積S1と前記面積S2との関係が、以下の式(2)の条件を満たす
請求項2に記載のコンデンサモジュール。
(S2/S1)×100≧82[%] ・・・式(2)
【請求項4】
前記各第2セラミックコンデンサは、前記厚さ方向から見た場合に、前記第1セラミックコンデンサに対して少なくとも一部が重なる位置に配置される
請求項1から請求項3のいずれか一項に記載のコンデンサモジュール。
【請求項5】
前記複数の第1セラミックコンデンサ、及び前記複数の第2セラミックコンデンサは、全てが同一形状である
請求項4に記載のコンデンサモジュール。
【請求項6】
前記複数の第1セラミックコンデンサ、及び前記複数の第2セラミックコンデンサは、樹脂でモールドされている
請求項1から請求項3のいずれか一項に記載のコンデンサモジュール。
【請求項7】
-40℃から300℃の範囲において、前記第1セラミックコンデンサ及び前記第2セラミックコンデンサの線膨張係数と、前記絶縁基板の線膨張係数との差が10%以下である
請求項1から請求項3のいずれか一項に記載のコンデンサモジュール。
【請求項8】
前記第1セラミックコンデンサ、及び前記第2セラミックコンデンサは、誘電材料として、タングステンブロンズ材料を含み、
車両に搭載されるインバータの平滑コンデンサとして利用される
請求項1から請求項3のいずれか一項に記載のコンデンサモジュール。
発明の詳細な説明
【技術分野】
【0001】
本開示は、コンデンサモジュールに関する。
続きを表示(約 1,400 文字)
【背景技術】
【0002】
特許文献1から特許文献3には、複数のコンデンサを集積化したコンデンサモジュールが開示されている。いずれの文献においても、全てのコンデンサが、片側の面に設置されている。
【先行技術文献】
【特許文献】
【0003】
特開2019-110214号公報
特開2020-4826号公報
特開2021-57589号公報
【発明の概要】
【発明が解決しようとする課題】
【0004】
上記構成では、コンデンサを高集積化する上で限界がある。
【0005】
本開示は、コンデンサをより高集積化することが可能な技術の提供を目的とする。
【課題を解決するための手段】
【0006】
本開示のコンデンサモジュールは、
第1面と、前記第1面とは反対側の第2面と、を有する絶縁基板と、
前記第1面に実装される複数の第1セラミックコンデンサと、
前記第2面に実装される複数の第2セラミックコンデンサと、
前記絶縁基板を貫通し、前記第1セラミックコンデンサと前記第2セラミックコンデンサとを電気的に接続するビアと、を備え、
前記絶縁基板の厚さ方向において、少なくとも1つの前記第1セラミックコンデンサと、少なくとも1つの前記第2セラミックコンデンサとは、少なくとも一部が互いに重なる位置に配置される。
【発明の効果】
【0007】
本開示によれば、コンデンサをより高集積化することができる。
【図面の簡単な説明】
【0008】
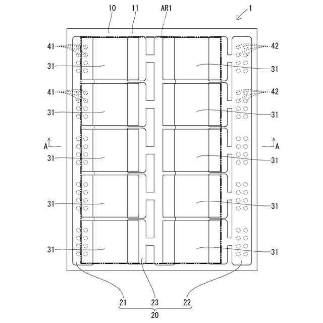
図1は、第1実施形態のコンデンサモジュールの平面図である。
図2は、第1実施形態のコンデンサモジュールの底面図である。
図3は、図1のA-A線断面図である。
図4は、実施例1の重複パターンを示す説明図である。
図5は、実施例2の重複パターンを示す説明図である。
図6は、実施例3の重複パターンを示す説明図である。
図7は、実施例4の重複パターンを示す説明図である。
図8は、実施例5の重複パターンを示す説明図である。
図9は、実施例6の重複パターンを示す説明図である。
図10は、実施例1~6の重複面積、重複率、及び結果を示す説明図である。
図11は、第2実施形態のコンデンサモジュールの平面図である。
図12は、図11のB-B線断面図である。
【発明を実施するための形態】
【0009】
[本開示の実施形態の説明]
以下では、本開示の実施形態が列記されて例示される。
【0010】
〔1〕第1面と、前記第1面とは反対側の第2面と、を有する絶縁基板と、
前記第1面に実装される複数の第1セラミックコンデンサと、
前記第2面に実装される複数の第2セラミックコンデンサと、
前記絶縁基板を貫通し、前記第1セラミックコンデンサと前記第2セラミックコンデンサとを電気的に接続するビアと、を備え、
前記絶縁基板の厚さ方向において、少なくとも1つの前記第1セラミックコンデンサと、少なくとも1つの前記第2セラミックコンデンサとは、少なくとも一部が互いに重なる位置に配置される
コンデンサモジュール。
(【0011】以降は省略されています)
この特許をJ-PlatPat(特許庁公式サイト)で参照する
関連特許
日本特殊陶業株式会社
賦形体
17日前
日本特殊陶業株式会社
センサ
10日前
日本特殊陶業株式会社
加熱装置
1日前
日本特殊陶業株式会社
保持装置
29日前
日本特殊陶業株式会社
反応装置
3日前
日本特殊陶業株式会社
保持装置
22日前
日本特殊陶業株式会社
ガスセンサ
24日前
日本特殊陶業株式会社
ガスセンサ
8日前
日本特殊陶業株式会社
化学センサ
1か月前
日本特殊陶業株式会社
ガスセンサ
2日前
日本特殊陶業株式会社
ガスセンサ
1日前
日本特殊陶業株式会社
アンテナ装置
3日前
日本特殊陶業株式会社
アンテナ装置
3日前
日本特殊陶業株式会社
FETセンサ
1日前
日本特殊陶業株式会社
電極埋設部材
1か月前
日本特殊陶業株式会社
アンテナ装置
3日前
日本特殊陶業株式会社
スパークプラグ
29日前
日本特殊陶業株式会社
積層磁石及びモーター
1日前
日本特殊陶業株式会社
積層磁石及びモーター
1日前
日本特殊陶業株式会社
セルスタックシステム
29日前
日本特殊陶業株式会社
積層磁石及びモーター
1日前
日本特殊陶業株式会社
積層磁石及びモーター
1日前
日本特殊陶業株式会社
積層磁石及びモーター
1日前
日本特殊陶業株式会社
積層磁石及びモーター
1日前
日本特殊陶業株式会社
コンデンサモジュール
1日前
日本特殊陶業株式会社
超音波トランスデューサ
8日前
日本特殊陶業株式会社
電極および蓄電デバイス
1か月前
日本特殊陶業株式会社
電極および蓄電デバイス
1か月前
日本特殊陶業株式会社
超音波トランスデューサ
8日前
日本特殊陶業株式会社
検知装置および検知方法
29日前
日本特殊陶業株式会社
貯蔵装置および水素の製造方法
1日前
日本特殊陶業株式会社
非接触給電用のコイルユニット
2日前
日本特殊陶業株式会社
磁性コイル、および無線給電用デバイス
29日前
日本特殊陶業株式会社
無線給電用コイル、および無線給電用デバイス
16日前
日本特殊陶業株式会社
多孔性担体、触媒体、および多孔性担体の製造方法
10日前
日本特殊陶業株式会社
酸素発生反応用触媒、電極、および電気化学デバイス
22日前
続きを見る
他の特許を見る