TOP
|
特許
|
意匠
|
商標
特許ウォッチ
Twitter
他の特許を見る
公開番号
2025149404
公報種別
公開特許公報(A)
公開日
2025-10-08
出願番号
2024050026
出願日
2024-03-26
発明の名称
極低温流体用配管設備
出願人
川崎重工業株式会社
代理人
個人
主分類
F17D
1/02 20060101AFI20251001BHJP(ガスまたは液体の貯蔵または分配)
要約
【課題】第2断熱領域を流れる流体の流速が大きくなることを抑制できる極低温流体用配管設備を提供する。
【解決手段】極低温流体用配管設備は、極低温流体が供給される内管と、内管の第1断熱領域を覆い、内管との間に真空層を形成する外管と、内管において第1断熱領域より下流側に位置する第2断熱領域を覆い、断熱性を有する被覆部材とを、備え、内管は、第2断熱領域において、第1断熱領域の少なくとも一部分である小径部分の内径より大きい内径を有する大径部分を含む。
【選択図】 図1
特許請求の範囲
【請求項1】
極低温流体が供給される内管と、
前記内管の第1断熱領域を覆い、前記内管との間に真空層を形成する外管と、
前記内管において前記第1断熱領域より下流側に位置する第2断熱領域を覆い、断熱性を有する被覆部材と、を備え、
前記内管は、前記第2断熱領域において、前記第1断熱領域の少なくとも一部分である小径部分の内径より大きい内径を有する大径部分を含む、極低温流体用配管設備。
続きを表示(約 680 文字)
【請求項2】
前記内管は、前記小径部分と前記大径部分との間に位置し、下流側に進むに従って拡径する拡径部分を含む、請求項1に記載の極低温流体用配管設備。
【請求項3】
前記拡径部分は、前記内管において前記第1断熱領域に位置している、請求項2に記載の極低温流体用配管設備。
【請求項4】
前記内管に設けられ、前記内管を流れる流体を加熱する加熱装置を更に備える、請求項2に記載の極低温流体用配管設備。
【請求項5】
前記加熱装置は、前記内管において前記拡径部分の下流側に設けられている、請求項4に記載の極低温流体用配管設備。
【請求項6】
前記加熱装置は、極低温より高温の加熱用ガスを前記内管に供給する加熱用ガス供給装置である、請求項4に記載の極低温流体用配管設備。
【請求項7】
前記内管内の温度を計測する温度センサと、
前記温度センサで計測される温度に基づいて前記加熱装置を制御する制御装置と、を備える、請求項4に記載の極低温流体用配管設備。
【請求項8】
前記加熱装置は、前記内管に接続される供給配管と、前記供給配管に設けられる制御弁と、を含み、
前記制御装置は、前記温度センサで計測される温度に基づいて前記制御弁の開度を制御する、請求項7に記載の極低温流体用配管設備。
【請求項9】
前記温度センサは、前記内管の前記第1断熱領域であって前記加熱装置の下流側に設けられている、請求項7に記載の極低温流体用配管設備。
発明の詳細な説明
【技術分野】
【0001】
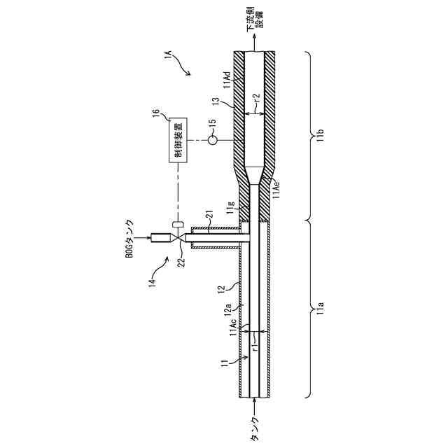
本発明は、極低温流体が流される極低温流体用配管設備に関する。
続きを表示(約 1,500 文字)
【背景技術】
【0002】
極低温流体を移送する際には、極低温流体用配管設備が用いられる、極低温流体用配管設備としては、例えば特許文献1の配管システムが知られている。特許文献1の配管システムは、真空断熱二重配管からなる第1配管と断熱性を有する被覆部材が配管に被せられた第2配管とを備えている。そして、配管システムは、第1配管と第2配管との間に予熱部を更に備えている。予熱部は、第1配管に対応する第1断熱領域から第2配管に対応する第2断熱領域へと流れる極低温流体に熱を与える。特許文献1の配管システムでは、予熱部によって極低温流体の温度を極低温から低温まで上昇させ、第2配管周りにおいて液化酸素が発生することを抑制している。
【先行技術文献】
【特許文献】
【0003】
特開2023-89737号公報
【発明の概要】
【発明が解決しようとする課題】
【0004】
極低温流体は、予熱部で熱せられることによって膨張する。そうすると、流体の流速が大きくなる。その他にも、例えば、極低温流体は、第2配管を流れる際に被覆部材から介して入ってくる熱によって加熱される。そうすると、第2配管を流れる極低温流体もまた予熱部を備える場合と同様に温度上昇して膨張する。これにより、流体の流速が大きくなる。
【0005】
そこで本発明は、第2断熱領域を流れる流体の流速が大きくなることを抑制できる極低温流体用配管設備を提供することを目的としている。
【課題を解決するための手段】
【0006】
本発明の極低温流体用配管設備は、極低温流体が供給される内管と、前記内管の第1断熱領域を覆い、前記内管との間に真空層を形成する外管と、前記内管において前記第1断熱領域より下流側に位置する第2断熱領域を覆い、断熱性を有する被覆部材と、を備え、前記内管は、前記第2断熱領域において、前記第1断熱領域の少なくとも一部分である小径部分の内径より大きい内径を有する大径部分を含むものである。
【0007】
本発明に従えば、内管は、第2断熱領域において、第1断熱領域の少なくとも一部分である小径部分の内径より大きい内径を有する大径部分を含む。それ故、大径部分において小径部分より大きな流量の流体を流すことができる。これにより、第1断熱領域から第2断熱領域に流れる極低温流体が断熱性の低下に伴って膨張しても、第2断熱領域を流れる流体の流速が大きくなることを抑制することができる。
【発明の効果】
【0008】
本発明によれば、第2断熱領域を流れる流体の流速が大きくなることを抑制できる。
【図面の簡単な説明】
【0009】
第1実施形態の極低温流体用配管設備の示す断面図である。
第2実施形態の極低温流体用配管設備の示す断面図である。
第3実施形態の極低温流体用配管設備の示す断面図である。
【発明を実施するための形態】
【0010】
以下、本発明に係る第1乃至第3実施形態の極低温流体用配管設備(以下、「配管設備」という)1,1A,1Bについて前述する図面を参照しながら説明する。なお、以下の説明で用いる方向の概念は、説明する上で便宜上使用するものであって、発明の構成の向き等をその方向に限定するものではない。また、以下に説明する配管設備1,1A,1Bは、本発明の一実施形態に過ぎない。従って、本発明は実施形態に限定されず、発明の趣旨を逸脱しない範囲で追加、削除、変更が可能である。
(【0011】以降は省略されています)
この特許をJ-PlatPat(特許庁公式サイト)で参照する
関連特許
川崎重工業株式会社
ロボット
5日前
川崎重工業株式会社
ロボット
7日前
川崎重工業株式会社
ダクト継手
5日前
川崎重工業株式会社
ゼオライト触媒
7日前
川崎重工業株式会社
遠心ターボ機械
7日前
川崎重工業株式会社
エンドエフェクタ
19日前
川崎重工業株式会社
締結方法及び締結装置
5日前
川崎重工業株式会社
極低温流体用配管設備
今日
川崎重工業株式会社
環状フレームの成形方法
9日前
川崎重工業株式会社
ガス燃料供給システムおよび船舶
5日前
川崎重工業株式会社
配管の接続構造および配管システム
1日前
川崎重工業株式会社
ロボットシステム及びその動作方法
今日
川崎重工業株式会社
焼却灰の骨材化システムおよび骨材化方法
19日前
川崎重工業株式会社
焼却灰の骨材化システムおよび骨材化方法
19日前
川崎重工業株式会社
水素の生産計画システムおよび生産計画方法
9日前
川崎重工業株式会社
油圧ショベルの油圧システムおよびブーム制御弁
1日前
川崎重工業株式会社
移動体、給電システム及びワイヤレス式受電方法
20日前
川崎重工業株式会社
秘密計算システム、秘密計算方法及び秘密計算装置
6日前
川崎重工業株式会社
手術支援システムおよび手術支援システムの制御方法
27日前
川崎重工業株式会社
異常診断装置、異常診断プログラムおよび異常診断方法
9日前
川崎重工業株式会社
極低温用圧縮設備、及びそれを備えるボイルオフガス液化システム
今日
ヤンマーホールディングス株式会社
燃料供給装置及びエンジンシステム
19日前
川崎重工業株式会社
手術支援ロボット、手術支援システムおよび手術支援ロボットの制御方法
今日
川崎重工業株式会社
手術支援システム、手術支援システムの制御装置および手術支援システムの制御方法
19日前
株式会社石井鐵工所
低温タンクの揚液装置
3か月前
株式会社石井鐵工所
低温タンクの揚液装置
5か月前
川崎重工業株式会社
竪型タンク
4か月前
川崎重工業株式会社
三重殻タンク
7か月前
川崎重工業株式会社
三重殻タンク
7か月前
川崎重工業株式会社
極低温流体用配管設備
今日
株式会社神戸製鋼所
ガス供給システム
10か月前
川崎重工業株式会社
液化水素貯蔵タンク
8か月前
大日本印刷株式会社
ガス充填容器
8か月前
川崎重工業株式会社
液化ガス貯蔵タンク
8か月前
川崎重工業株式会社
液化水素貯蔵タンク
8か月前
トヨタ自動車株式会社
水素タンク
3か月前
続きを見る
他の特許を見る