TOP
|
特許
|
意匠
|
商標
特許ウォッチ
Twitter
他の特許を見る
10個以上の画像は省略されています。
公開番号
2025064018
公報種別
公開特許公報(A)
公開日
2025-04-17
出願番号
2023173387
出願日
2023-10-05
発明の名称
燃料供給装置および発電システム
出願人
オリオン機械株式会社
代理人
個人
主分類
F17C
11/00 20060101AFI20250410BHJP(ガスまたは液体の貯蔵または分配)
要約
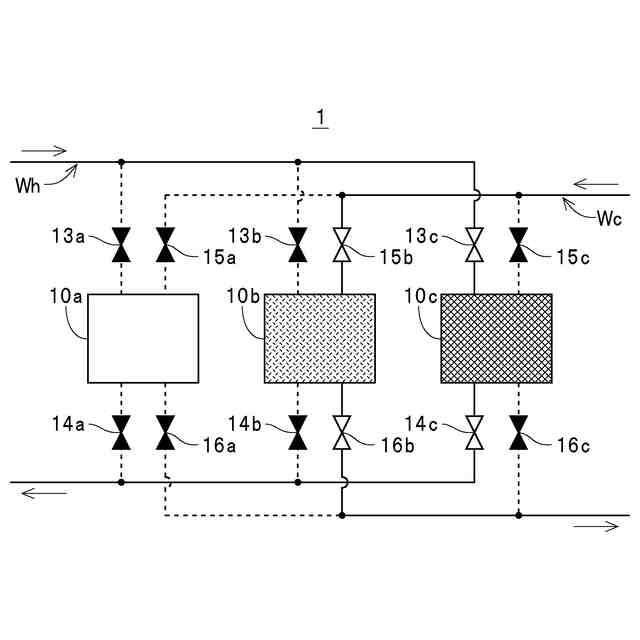
【課題】燃料電池ユニットに対して十分な量の第2の気体(水素ガス)を継続して供給可能とする。
【解決手段】予め規定された容器変更条件が満たされたときに、制御部19が、各温調液槽10のうちの水素ガスGを供給しているキャニスターCが収容された温調液槽10に貯液されている水Wを、水Wの貯液量が予め規定された第1の貯液量を下回る状態となっている温調液槽10に流入させ、かつ各温調液槽10のうちの水素ガスGを流入させているキャニスターCが収容された温調液槽10に貯液されている水Wを、水素ガスGを供給しているキャニスターCが収容された温調液槽10に流入させた後に、凝縮器22によって加熱した水W、および蒸発器25によって冷却した水Wを、定められた温調液槽10に対してそれぞれ供給させる。
【選択図】図1
特許請求の範囲
【請求項1】
酸化剤を含む第1の気体および水素を含む第2の気体を反応させて発電可能に構成された燃料電池ユニットに当該第2の気体を供給可能に構成された燃料供給装置であって、
前記第2の気体を貯蔵可能な複数の貯蔵用容器と、
前記貯蔵用容器を収容可能に構成されると共に当該貯蔵用容器との熱交換によって当該貯蔵用容器の温度を調整する熱媒液を貯液可能に構成された少なくとも3つの貯液槽と、
前記熱媒液を加熱する加熱部および当該熱媒液を冷却する冷却部を有する温度調整部と、
前記加熱部によって加熱された前記熱媒液を前記各貯液槽のうちのいずれかに供給すると共に、前記冷却部によって冷却された前記熱媒液を当該各貯液槽のうちの他のいずれかに供給する熱媒液供給部と、
気体生成装置によって生成された前記第2の気体を前記各貯液槽のうちのいずれかに収容されている前記貯蔵用容器に流入させて貯蔵させると共に、当該各貯液槽のうちの他のいずれかに収容されている前記貯蔵用容器に貯蔵されている前記第2の気体を前記燃料電池ユニットに供給させる気体流路切替え部と、
前記温度調整部による前記熱媒液の温度調整、前記熱媒液供給部による前記熱媒液の供給、および前記気体流路切替え部による前記第2の気体の流路切替えを制御する制御部とを備え、
前記制御部は、
前記各貯液槽のうちの前記第2の気体を供給している前記貯蔵用容器が収容された第1の貯液槽に前記加熱部によって加熱された前記熱媒液を供給させ、前記各貯液槽のうちの前記第2の気体を流入させている前記貯蔵用容器が収容された第2の貯液槽に前記冷却部によって冷却された前記熱媒液を供給させ、かつ前記各貯液槽のうちの予め規定された第1の貯蔵量を超える前記第2の気体が貯蔵された状態において当該第2の気体の供給および当該第2の気体の流入が行われていない前記貯蔵用容器が収容された第3の貯液槽の前記熱媒液の貯液量が予め規定された第1の貯液量を下回る状態を維持させると共に、
予め規定された容器変更条件が満たされたときに、前記第1の貯液槽に貯液されている前記熱媒液を前記第3の貯液槽に流入させ、かつ前記第2の貯液槽に貯液されている前記熱媒液を前記第1の貯液槽に流入させた後に、前記第3の貯液槽を新たな前記第1の貯液槽として前記加熱部によって加熱された前記熱媒液の当該新たな前記第1の貯液槽への供給、および当該新たな第1の貯液槽に収容された前記貯蔵用容器からの前記第2の気体の供給を開始させ、前記第1の貯液槽を新たな前記第2の貯液槽として前記冷却部によって冷却された前記熱媒液の当該新たな第2の貯液槽への供給、および当該新たな第2の貯液槽に収容されている前記貯蔵用容器への前記第2の気体の流入を開始させると共に、前記第2の貯液槽を新たな前記第3の貯液槽として当該新たな第3の貯液槽の前記熱媒液の貯液量が前記予め規定された第1の貯液量を下回り、かつ当該新たな第3の貯液槽に収容された前記貯蔵用容器への前記第2の気体の供給および当該第2の気体の流入が行われない状態を維持させる燃料供給装置。
続きを表示(約 1,600 文字)
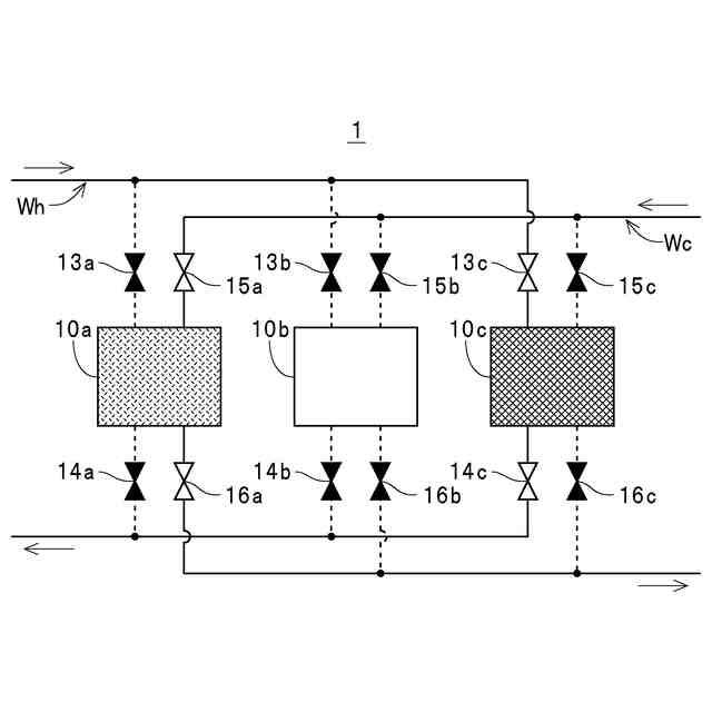
【請求項2】
酸化剤を含む第1の気体および水素を含む第2の気体を反応させて発電可能に構成された燃料電池ユニットに当該第2の気体を供給可能に構成された燃料供給装置であって、
前記第2の気体を貯蔵可能な複数の貯蔵用容器と、
前記貯蔵用容器を収容可能に構成されると共に当該貯蔵用容器との熱交換によって当該貯蔵用容器の温度を調整する熱媒液を貯液可能に構成された少なくとも3つの貯液槽と、
前記熱媒液を加熱する加熱部および当該熱媒液を冷却する冷却部を有する温度調整部と、
前記加熱部によって加熱された前記熱媒液を前記各貯液槽のうちのいずれかに供給すると共に、前記冷却部によって冷却された前記熱媒液を当該各貯液槽のうちの他のいずれかに供給する熱媒液供給部と、
気体生成装置によって生成された前記第2の気体を前記各貯液槽のうちのいずれかに収容されている前記貯蔵用容器に流入させて貯蔵させると共に、当該各貯液槽のうちの他のいずれかに収容されている前記貯蔵用容器に貯蔵されている前記第2の気体を前記燃料電池ユニットに供給させる気体流路切替え部と、
前記温度調整部による前記熱媒液の温度調整、前記熱媒液供給部による前記熱媒液の供給、および前記気体流路切替え部による前記第2の気体の流路切替えを制御する制御部とを備え、
前記制御部は、
前記各貯液槽のうちの前記第2の気体を流入させている前記貯蔵用容器が収容された貯液槽Aに前記冷却部によって冷却された前記熱媒液を供給させ、前記各貯液槽のうちの前記第2の気体を供給している前記貯蔵用容器が収容された貯液槽Bに前記加熱部によって加熱された前記熱媒液を供給させ、かつ前記各貯液槽のうちの前記第2の気体の貯蔵量が予め規定された第2の貯蔵量を下回る状態において当該第2の気体の供給および当該第2の気体の流入が行われていない前記貯蔵用容器が収容された貯液槽Cの前記熱媒液の貯液量が予め規定された第1の貯液量を下回る状態を維持させると共に、
予め規定された容器変更条件が満たされたときに、前記貯液槽Aに貯液されている前記熱媒液を前記貯液槽Cに流入させ、かつ前記貯液槽Bに貯液されている前記熱媒液を前記貯液槽Aに流入させた後に、前記貯液槽Cを新たな前記貯液槽Aとして前記冷却部によって冷却された前記熱媒液の当該新たな前記貯液槽Aへの供給、および当該新たな貯液槽Aに収容された前記貯蔵用容器への前記第2の気体の流入を開始させ、前記貯液槽Aを新たな前記貯液槽Bとして前記加熱部によって加熱された前記熱媒液の当該新たな貯液槽Bへの供給、および当該新たな貯液槽Bに収容されている前記貯蔵用容器からの前記第2の気体の供給を開始させると共に、前記貯液槽Bを新たな前記貯液槽Cとして当該新たな貯液槽Cの前記熱媒液の貯液量が前記予め規定された第1の貯液量を下回り、かつ当該新たな貯液槽Cに収容された前記貯蔵用容器への前記第2の気体の供給および当該第2の気体の流入が行われない状態を維持させる燃料供給装置。
【請求項3】
前記制御部は、前記第2の気体を供給している前記貯蔵用容器の当該第2の気体の貯蔵量が予め規定された下限貯蔵量まで減少したときに前記予め規定された容器変更条件が満たされたと判別する請求項1または2記載の燃料供給装置。
【請求項4】
前記制御部は、前記第2の気体を流入させている前記貯蔵用容器の当該第2の気体の貯蔵量が予め規定された上限貯蔵量まで増加したときに前記予め規定された容器変更条件が満たされたと判別する請求項1または2記載の燃料供給装置。
【請求項5】
請求項1または2記載の燃料供給装置と、前記燃料電池ユニットと、前記気体生成装置とを備えて構成されている発電システム。
発明の詳細な説明
【技術分野】
【0001】
本発明は、水素を含む第2の気体を燃料電池ユニットに対して供給可能に構成された燃料供給装置、並びにそのような燃料供給装置および燃料電池ユニットを備えて発電可能に構成された発電システムに関するものである。
続きを表示(約 2,500 文字)
【背景技術】
【0002】
例えば、下記の特許文献には、発電部において外気(酸素)と燃料(水素)とを反応させて発電することができるように構成された燃料電池が開示されている。この燃料電池では、燃料タンクに水素吸蔵合金が収容されており、この水素吸蔵合金から放出される水素を外気中の酸素と反応させることで電力を発生させる構成が採用されている。この場合、水素吸蔵合金から水素が放出されるときには、吸熱反応によって水素吸蔵合金(燃料タンク)の温度が低下する。また、水素吸蔵合金は、その温度が低下することで水素の放出速度(単位時間当りの放出量)が低下することが知られている。したがって、発電に必要とされる十分な量の水素を燃料タンクから発電部に継続して供給するには、燃料タンクの温度低下を防ぎ、水素吸蔵合金から好適に水素が放出され得る温度を維持する必要がある。
【0003】
そこで、この燃料電池では、水素と酸素との反応によって発電部に生じる熱を利用して燃料タンクを加熱することで好適な温度を維持する構成が採用されている。具体的には、この燃料電池は、燃料タンクに固定された固定熱接続部材と、発電部の熱を外部へ放出するための外部放熱部と、固定熱接続部材および外部放熱部のいずれかに発電部の熱を選択的に伝熱する可動式熱接続部材とを備えて構成されている。また、この燃料電池は、可動式熱接続部材が発電部に対して常時接触させられると共に、温度によって形状が変形する形状記憶合金バネとバイアスバネとを備えた駆動部によって可動式熱接続部材を移動させて固定熱接続部材および外部放熱部のいずれか一方に接触させる構成が採用されている。
【0004】
より具体的には、この燃料電池では、駆動部によって可動式熱接続部材が移動させられて発電部と固定熱接続部材とが可動式熱接続部材を介して熱的に接続されることで、発電部に生じた熱が燃料タンクに伝熱され、これにより、水素吸蔵合金が加熱されて、必要とされる水素を放出可能な温度が維持される。また、この燃料電池では、駆動部によって可動式熱接続部材が移動させられて発電部と外部放熱部とが可動式熱接続部材を介して熱的に接続されることで、発電部に生じた熱が燃料タンクに伝熱されずに外部放熱部から放出され、燃料タンクの過剰な温度上昇を回避することが可能となっている。
【先行技術文献】
【特許文献】
【0005】
特開2007-080587号公報(第5-18頁、第1-10C図)
【発明の概要】
【発明が解決しようとする課題】
【0006】
ところが、上記特許文献に開示の燃料電池には、以下のような解決すべき問題点が存在する。すなわち、上記特許文献に開示の燃料電池では、吸熱反応による温度低下に伴って燃料タンク(水素吸蔵合金)からの単位時間あたりの水素の放出量が低下するのを回避するために、発電部に生じる熱を利用して燃料タンクを加熱する構成が採用されている。
【0007】
一方、出願人は、水素ガスの貯蔵部(燃料タンク)を複数備え、発電中の燃料電池ユニット(発電部)に対していずれかの貯蔵部から水素ガスを供給しつつ、水素ガス発生装置によって生成された水素ガスを他のいずれかの貯蔵部に対して流入させて貯蔵させることが可能な発電システムを試作した。この発電システムによれば、燃料電池ユニットに対して水素ガスを供給している貯蔵部の水素ガスの残量が低下したときに、残量が低下した貯蔵部に代えて、水素ガス発生装置によって生成された水素ガスが貯蔵されている他の貯蔵部から燃料電池ユニットに対して水素ガスを供給することにより、燃料電池ユニットに発電を継続させることができる。また、他の貯蔵部からの水素ガスの供給と並行して、残量が低下した貯蔵部に水素ガス発生装置によって生成された水素ガスを流入させて貯蔵させることにより、新たに水素ガスの供給を開始した貯蔵部の残量が低下したときに、再び貯蔵部を切り替えて水素ガスを継続して供給することができる。
【0008】
この場合、上記特許文献に開示の構成と同様にして、出願人が試作した発電システムにおいても、燃料電池ユニットに対して水素ガスを供給している貯蔵部を加熱することによって単位時間あたりの水素ガスの供給量が低下するのを回避することができる。しかしながら、上記のような貯蔵部の切替え後に、残量が低下した貯蔵部に対して水素ガスを流入させて貯蔵させようとしたときに、切替え直前まで加熱されていた貯蔵部の温度が高温であることで、水素吸蔵合金への水素の吸蔵効率が低下する。このため、十分な量の水素ガスが貯蔵された状態となるまでに長時間を要する結果、燃料電池ユニットに対して水素ガスを供給している貯蔵部の残量が低下して再び貯蔵部を切り替える必要が生じたときに、水素ガス発生装置によって生成された水素ガスを流入させている貯蔵部内に十分な水素ガスが貯蔵されていない状態となることがある。かかる場合には、十分な量の水素ガスが貯蔵されていない貯蔵部から燃料電池ユニットに対する水素ガスの供給を開始することとなり、短時間で、貯蔵部を再び切り替える必要が生じる状態となってしまう。
【0009】
このように、上記特許文献に開示の構成では、貯蔵部(燃料タンク)を加熱することで単位時間あたりの水素ガスの放出量が低下するのを回避することができるものの、水素ガスの供給によって残量が低下した貯蔵部に水素ガスを効率良く貯蔵することができず、結果として、燃料電池ユニットに対して水素ガスを継続して供給するのが困難となることがあるという問題点が存在する。
【0010】
本発明は、かかる解決すべき問題点に鑑みてなされたものであり、燃料電池ユニットに対して十分な量の水素ガス(第2の気体)を継続して供給し得る燃料供給装置および発電システムを提供することを主目的とする。
【課題を解決するための手段】
(【0011】以降は省略されています)
この特許をJ-PlatPat(特許庁公式サイト)で参照する
関連特許
オリオン機械株式会社
空調装置
17日前
オリオン機械株式会社
空調装置
17日前
国立研究開発法人農業・食品産業技術総合研究機構
繋留牛の管理方法及び管理システム
8日前
株式会社石井鐵工所
低温タンクの揚液装置
4か月前
株式会社石井鐵工所
低温タンクの揚液装置
6か月前
川崎重工業株式会社
竪型タンク
5か月前
川崎重工業株式会社
三重殻タンク
7か月前
川崎重工業株式会社
三重殻タンク
7か月前
川崎重工業株式会社
極低温流体用配管設備
24日前
川崎重工業株式会社
液化ガス貯蔵タンク
9か月前
大日本印刷株式会社
ガス充填容器
9か月前
川崎重工業株式会社
液化水素貯蔵タンク
9か月前
川崎重工業株式会社
液化水素貯蔵タンク
9か月前
トヨタ自動車株式会社
水素タンク
4か月前
株式会社タツノ
充填ノズル
1か月前
トヨタ自動車株式会社
水素充填装置
5か月前
岩谷産業株式会社
燃料ガス充填設備
1か月前
帝人株式会社
繊維補強圧力容器及びその製造方法
2か月前
株式会社タツノ
充填ノズル
2か月前
那須電機鉄工株式会社
水素吸蔵合金タンク
9か月前
川崎重工業株式会社
低温流体の移送システム
5か月前
株式会社神戸製鋼所
水素吸蔵合金容器
3か月前
豊田合成株式会社
圧力容器
6か月前
清水建設株式会社
水素貯蔵供給システム
8か月前
川崎重工業株式会社
三重殻タンクのパージ方法
7か月前
川崎重工業株式会社
再液化装置
9か月前
トヨタ自動車株式会社
タンクモジュール
6か月前
トヨタ自動車株式会社
水素消費システム
4か月前
トヨタ自動車株式会社
水素消費システム
4か月前
オリオン機械株式会社
燃料供給装置および発電システム
4か月前
トヨタ自動車株式会社
水素タンクシステム
4か月前
トヨタ自動車株式会社
カートリッジタンク
5か月前
オリオン機械株式会社
燃料供給装置および発電システム
6か月前
JFEエンジニアリング株式会社
エネルギー貯蔵システム
4か月前
JFEエンジニアリング株式会社
エネルギー貯蔵システム
2か月前
鹿島建設株式会社
水素貯蔵システム
4か月前
続きを見る
他の特許を見る