TOP
|
特許
|
意匠
|
商標
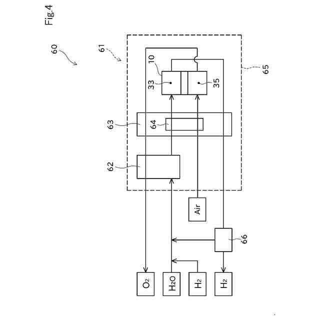
特許ウォッチ
Twitter
他の特許を見る
公開番号
2025150863
公報種別
公開特許公報(A)
公開日
2025-10-09
出願番号
2024052003
出願日
2024-03-27
発明の名称
固体酸化物形電解セルおよびその利用
出願人
日本特殊陶業株式会社
代理人
個人
,
個人
主分類
C25B
5/00 20060101AFI20251002BHJP(電気分解または電気泳動方法;そのための装置)
要約
【課題】空気極へのクラックの発生を抑制できる技術を提供する。
【解決手段】固体酸化物形電解セルは、一般式A1
x
A2
y
BO
3-δ
(ただし、0.9≦x+y<1、δは酸素欠損量)で表されるペロブスカイト構造を有する複合酸化物を主成分として含有する空気極と、燃料極と、前記空気極と前記燃料極との間に配置された固体電解質層と、を備え、前記空気極は、硫黄を含有する第1の物質と、前記複合酸化物とは異なる物質であって、コバルトと鉄との少なくとも一方を含有する第2の物質と、を含み、前記空気極の断面における前記第1の物質と前記第2の物質との面積占有率の合計は、前記固体電解質層側の界面から10μm以内の界面領域よりも、前記固体電解質層側とは反対の表面から10μm以内の表面領域の方が大きい。
【選択図】図2
特許請求の範囲
【請求項1】
一般式A1
x
A2
y
BO
3-δ
(ただし、0.9≦x+y<1、δは酸素欠損量)で表されるペロブスカイト構造を有する複合酸化物を主成分として含有する空気極と、
燃料極と、
前記空気極と前記燃料極との間に配置された固体電解質層と、
を備え、
前記空気極は、
硫黄を含有する第1の物質と、
前記複合酸化物とは異なる物質であって、コバルトと鉄との少なくとも一方を含有する第2の物質と、
を含み、
前記空気極の断面における前記第1の物質と前記第2の物質との面積占有率の合計は、前記固体電解質層側の界面から10μm以内の界面領域よりも、前記固体電解質層側とは反対の表面から10μm以内の表面領域の方が大きい、
固体酸化物形電解セル。
続きを表示(約 930 文字)
【請求項2】
請求項1に記載の固体酸化物形電解セルにおいて、
前記空気極の断面における前記第1の物質と前記第2の物質との面積占有率の合計は、
前記表面領域において、0.1%以上かつ10.5%以下であり、
前記界面領域において、0.02%以上かつ4.6%以下である、
固体酸化物形電解セル。
【請求項3】
請求項1または請求項2に記載の固体酸化物形電解セルにおいて、
前記燃料極には、水蒸気を含む燃料ガスが、100~130リットル/(分・cm
2
)の流量で供給されて用いられる、
固体酸化物形電解セル。
【請求項4】
請求項1または請求項2に記載の固体酸化物形電解セルにおいて、
前記空気極には、酸素を含むガスが、30~50リットル/(分・cm
2
)の流量で供給されて用いられる、
固体酸化物形電解セル。
【請求項5】
請求項1または請求項2に記載の固体酸化物形電解セルにおいて、
前記空気極が面する空気室の容積が、9cm
3
~11cm
3
である、
固体酸化物形電解セル。
【請求項6】
請求項1または請求項2に記載の固体酸化物形電解セルと、
前記固体電解質層に配置される、中央が開口したセパレータと、を備える、
セパレータ付きセル。
【請求項7】
請求項1または請求項2に記載の固体酸化物形電解セルを複数積層した電解スタック。
【請求項8】
請求項7に記載の電解スタックと、
前記電解スタックに供給される水蒸気を生成する気化器と、
前記電解スタックに供給されるガスとの間で熱交換を行う熱交換器と、
前記電解スタックを加熱するためのヒータと、
前記電解スタック、前記気化器、前記熱交換器および前記ヒータが内部に配置された断熱材と、を備える、
ホットモジュール。
【請求項9】
請求項8に記載のホットモジュールを備える水素製造装置。
発明の詳細な説明
【技術分野】
【0001】
本開示は、固体酸化物形電解セルおよびその利用に関する。
続きを表示(約 1,800 文字)
【背景技術】
【0002】
水素と酸素との電気化学反応を利用して発電を行う固体酸化物形の燃料電池(以下、「SOFC」という。)が知られている。例えば、特許文献1に記載のSOFCの構成単位である燃料電池の単セルは、固体酸化物を含む電解質層と、電解質層に対して一方側に配置された空気極と、電解質層に対して他方側に配置された燃料極とを備える。空気極に供給された酸素から解離された酸素イオンが、固体電解質の酸素伝導度に基づいて燃料極に移動し、燃料極に供給される燃料ガスに含まれる水素と反応し水蒸気を生成するとともに電気を発生する。
【0003】
上記のSOFCは、逆向きに通電することにより、固体酸化物形電解セル(以下、単に「SOEC」という。)として用いることが可能であり、再生可能エネルギーの導入過程で課題となっている余剰電力等を用いて水蒸気を水素に変換する形態の蓄エネルギー技術として用いられることが知られている。燃料極に水蒸気を供給するとともに、空気極と燃料極の間に電流を流すと、水蒸気が電気分解され燃料極から水素が発生し、燃料極で生成した酸素イオンが固体電解質の酸素伝導度に基づいて空気極に移動し、空気極から酸素が発生する。
【先行技術文献】
【特許文献】
【0004】
特開2023-080459号公報
【発明の概要】
【発明が解決しようとする課題】
【0005】
一般的に、SOFCでは、使用時に燃料極で酸素が消費されるため、空気室側でガス圧力が下がるが、SOECでは、使用時に空気極側で酸素が発生するため、空気室側のガス圧力が上がったり、燃料ガスである水蒸気が気化する際の急激なガス圧力の上昇等により、SOFCとは異なる応力がかかり空気極にクラックが発生する虞がある。また、一般的に、SOECでは、電流密度が低下することを抑制する技術が望まれている。
【課題を解決するための手段】
【0006】
本開示は、以下の形態として実現することができる。
【0007】
(1)本開示の一形態によれば、固体酸化物形電解セルが提供される。この固体酸化物形電解セルは、一般式A1
x
A2
y
BO
3-δ
(ただし、0.9≦x+y<1、δは酸素欠損量)で表されるペロブスカイト構造を有する複合酸化物を主成分として含有する空気極と、燃料極と、前記空気極と前記燃料極との間に配置された固体電解質層と、を備え、前記空気極は、硫黄を含有する第1の物質と、前記複合酸化物とは異なる物質であって、コバルトと鉄との少なくとも一方を含有する第2の物質と、を含み、前記空気極の断面における前記第1の物質と前記第2の物質との面積占有率の合計は、前記固体電解質層側の界面から10μm以内の界面領域よりも、前記固体電解質層側とは反対の表面から10μm以内の表面領域の方が大きい。この形態の固体酸化物形電解セルよれば、空気極へのクラックの発生を抑制することができる。
【0008】
(2)上記(1)に記載の固体酸化物形電解セルにおいて、前記空気極の断面における前記第1の物質と前記第2の物質との面積占有率の合計は、前記表面領域において、0.1%以上かつ10.5%以下であってもよく、前記界面領域において、0.02%以上かつ4.6%以下であってもよい。この形態の固体酸化物形電解セルによれば、空気極へのクラックの発生を抑制することができる。
【0009】
(3)上記(1)または上記(2)に記載の固体酸化物形電解セルにおいて、前記燃料極には、水蒸気を含む燃料ガスが、100~130リットル/(分・cm
2
)の流量で供給されて用いられてもよい。この形態の固体酸化物形電解セルによれば、空気極へのクラックの発生を抑制することができる。
【0010】
(4)上記(1)から上記(3)までのいずれか一項に記載の固体酸化物形電解セルにおいて、前記空気極には、酸素を含むガスが、30~50リットル/(分・cm
2
)の流量で供給されて用いられてもよい。この形態の固体酸化物形電解セルによれば、空気極へのクラックの発生を抑制することができる。
(【0011】以降は省略されています)
この特許をJ-PlatPat(特許庁公式サイト)で参照する
関連特許
本田技研工業株式会社
電解装置
29日前
株式会社カネカ
可撓性ガス拡散電極
18日前
本田技研工業株式会社
水電解スタック
14日前
一般財団法人電力中央研究所
電解反応装置
14日前
本田技研工業株式会社
CO2電解装置
14日前
株式会社荏原製作所
蒸気発電プラント
7日前
SECカーボン株式会社
カソードアセンブリ
10日前
本田技研工業株式会社
電解セルの製造方法
22日前
古河電気工業株式会社
端子
8日前
メルテックス株式会社
極薄電解銅箔及びその製造方法
今日
株式会社豊田中央研究所
電極
18日前
NOK株式会社
セルユニット
18日前
NOK株式会社
セルユニット
18日前
NOK株式会社
セルユニット
18日前
ナミックス株式会社
銅部材
1か月前
三菱マテリアル株式会社
皮膜付端子材及びその製造方法
8日前
NOK株式会社
セルユニット
18日前
本田技研工業株式会社
膜電極構造体の製造方法
8日前
三菱重工業株式会社
皮膜形成装置
7日前
東京瓦斯株式会社
水電解システム
25日前
本田技研工業株式会社
電気化学式水素昇圧システム
3日前
本田技研工業株式会社
電気化学式水素昇圧システム
14日前
株式会社東芝
電解装置及び電解方法
22日前
三菱マテリアル株式会社
酸性電解銅めっき液
28日前
株式会社デンソー
セル制御システム
7日前
株式会社アイシン
電解システム
8日前
日本特殊陶業株式会社
ホットモジュール
8日前
日本特殊陶業株式会社
ホットモジュール
8日前
三菱マテリアル株式会社
めっき皮膜付銅端子材及びその製造方法
14日前
株式会社アイシン
電解システム
9日前
日本特殊陶業株式会社
固体酸化物形電解セルおよびその利用
8日前
一般財団法人電力中央研究所
アンモニア処理設備、発電設備
14日前
日本特殊陶業株式会社
固体酸化物形電解セルおよびその利用
8日前
日本特殊陶業株式会社
固体酸化物形電解セルおよびその利用
8日前
日本特殊陶業株式会社
固体酸化物形電解セルおよびその利用
8日前
株式会社東芝
電解装置および電解方法
14日前
続きを見る
他の特許を見る