TOP
|
特許
|
意匠
|
商標
特許ウォッチ
Twitter
他の特許を見る
10個以上の画像は省略されています。
公開番号
2025155175
公報種別
公開特許公報(A)
公開日
2025-10-14
出願番号
2024058775
出願日
2024-04-01
発明の名称
放射性廃棄物収納用セパレータ、放射性廃棄物収納容器および放射性廃棄物収納方法
出願人
三菱重工業株式会社
代理人
弁理士法人酒井国際特許事務所
主分類
G21F
9/36 20060101AFI20251006BHJP(核物理;核工学)
要約
【課題】収納容器への放射性廃棄物の充填率を向上すること。
【解決手段】セパレータ1は、複数の放射性廃棄物21を収納する収納容器11の内部に配置されて放射性廃棄物21に接触し得る支持部材3を選択的に取り付けできる複数の係合部2aを有するベース部材2を含む。
【選択図】図8
特許請求の範囲
【請求項1】
複数の放射性廃棄物を収納する収納容器の内部に配置されて前記放射性廃棄物に接触し得る支持部材を選択的に取り付けできる複数の係合部を有するベース部材を含む、放射性廃棄物収納用セパレータ。
続きを表示(約 790 文字)
【請求項2】
前記ベース部材は、前記収納容器の内面に沿って配置される板状に形成され、前記係合部が前記ベース部材の板状を貫通する貫通孔として形成される、
請求項1に記載の放射性廃棄物収納用セパレータ。
【請求項3】
前記支持部材または前記ベース部材の少なくとも一方に設けられる吊り下げ用の掛け部をさらに含む、
請求項1に記載の放射性廃棄物収納用セパレータ。
【請求項4】
前記掛け部は、前記係合部に選択的に取り付けられる、
請求項3に記載の放射性廃棄物収納用セパレータ。
【請求項5】
前記支持部材は、棒状に形成され、前記ベース部材に立てて取り付けられる、
請求項1に記載の放射性廃棄物収納用セパレータ。
【請求項6】
耐食性を有する金属材で形成される、
請求項1に記載の放射性廃棄物収納用セパレータ。
【請求項7】
請求項1から6のいずれか1項に記載の放射性廃棄物収納用セパレータが内部に配置される、
放射性廃棄物収納容器。
【請求項8】
水抜き孔を有する、
請求項7に記載の放射性廃棄物収納容器。
【請求項9】
複数の放射性廃棄物を収納する収納容器と、前記収納容器の内部に配置されて前記放射性廃棄物に接触し得る支持部材を選択的に取り付けできる複数の係合部を有するベース部材と、
を用い、
前記放射性廃棄物の大きさ及び/又は形状に基づいて前記ベース部材に前記支持部材を取り付ける工程と、
前記ベース部材を前記収納容器の内部に配置する工程と、
水中又は気中において前記放射性廃棄物を前記支持部材に沿わせて前記収納容器の内部に収納する工程と、
を含む、放射性廃棄物収納方法。
発明の詳細な説明
【技術分野】
【0001】
本開示は、放射性廃棄物収納用セパレータ、放射性廃棄物収納容器および放射性廃棄物収納方法に関する。
続きを表示(約 1,500 文字)
【背景技術】
【0002】
例えば、特許文献1には、放射性廃棄物を収納する容器について記載されている。
【先行技術文献】
【特許文献】
【0003】
特許第5079374号公報
【発明の概要】
【発明が解決しようとする課題】
【0004】
放射性廃棄物は、例えば、原子力設備において放射能によって汚染された低レベル廃棄物であり、これを解体して解体片とされ、収納容器に収納されて放射性廃棄物処分場に運ばれ、一般に、収納容器に収納された状態で保管又は処分される。ここで、収納容器の個数を減らすことは、コストの低減や、保管場所の容量を減らすことに繋がる。そのため、収納容器の内部において放射性廃棄物を隙間なく整然と収納し、収納容器への放射性廃棄物の充填率を向上することが望まれている。
【0005】
本開示は、上述した課題を解決するものであり、収納容器への放射性廃棄物の充填率を向上することのできる放射性廃棄物収納用セパレータ、放射性廃棄物収納容器および放射性廃棄物収納方法を提供することを目的とする。
【課題を解決するための手段】
【0006】
上述の目的を達成するために、本開示の一態様に係る放射性廃棄物収納用セパレータは、複数の放射性廃棄物を収納する収納容器の内部に配置されて前記放射性廃棄物に接触し得る支持部材を選択的に取り付けできる複数の係合部を有するベース部材を含む。
【0007】
上述の目的を達成するために、本開示の一態様に係る放射性廃棄物収納容器は、複数の放射性廃棄物を収納する収納容器と、上述のセパレータと、を含む。
【0008】
上述の目的を達成するために、本開示の一態様に係る放射性廃棄物収納方法は、複数の放射性廃棄物を収納する収納容器と、前記収納容器の内部に配置されて前記放射性廃棄物に接触し得る支持部材を選択的に取り付けできる複数の係合部を有するベース部材と、を用い、前記放射性廃棄物の解体片の大きさ及び/又は形状に基づいて前記ベース部材に前記支持部材を取り付ける工程と、前記ベース部材を前記収納容器の内部に配置する工程と、水中又は気中において前記解体片を前記支持部材に沿わせて前記収納容器の内部に収納する工程と、含む。
【発明の効果】
【0009】
本開示は、収納容器への放射性廃棄物の充填率を向上することができる。
【図面の簡単な説明】
【0010】
図1は、実施形態の放射性廃棄物収納用セパレータの斜視図である。
図2は、実施形態の放射性廃棄物収納用セパレータの組み立て斜視図である。
図3は、実施形態の放射性廃棄物収納用セパレータの斜視図である。
図4は、実施形態の放射性廃棄物収納容器にセパレータを配置した斜視図である。
図5は、実施形態の放射性廃棄物収納方法のフローチャート図である。
図6-1は、実施形態の放射性廃棄物の例の斜視図である。
図6-2は、実施形態の放射性廃棄物の例の斜視図である。
図6-3は、実施形態の放射性廃棄物の例の斜視図である。
図6-4は、実施形態の放射性廃棄物の例の斜視図である。
図7は、実施形態の放射性廃棄物収納容器に放射性廃棄物を収納した斜視図である。
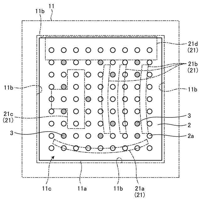
図8は、実施形態の放射性廃棄物収納容器に放射性廃棄物を収納した平面図である。
【発明を実施するための形態】
(【0011】以降は省略されています)
この特許をJ-PlatPat(特許庁公式サイト)で参照する
関連特許
個人
常温核融合装置
5か月前
個人
常温核融合装置
5か月前
個人
常温核融合装置
5か月前
個人
原子力プラント
1日前
個人
超音波振動子の利用
1日前
個人
トリチウムの除去装置
6か月前
個人
廃炉方法及び固化材
16日前
個人
元素変換用固体核融合工程
4か月前
個人
安山岩を利用した放射線消去装置
3か月前
個人
安山岩を利用した放射線消去装置
4か月前
個人
はんれい岩を利用した放射線消去装置
3か月前
パテントフレア株式会社
核融合反応促進法
5か月前
パテントフレア株式会社
核融合反応促進法
6か月前
個人
金属製軽水炉使用済核燃料増殖原子炉
6か月前
個人
装置、加速器、減速器、核変換システム
6か月前
合同会社日本レプトン
電子発生ペースト
20日前
株式会社エー・アンド・デイ
X線検査装置
5か月前
株式会社エー・アンド・デイ
X線検査装置
5か月前
個人
ホウ素を用いるミューオン触媒核融合システム
6か月前
個人
核変換システム、加工装置、除去装置、切除装置
5か月前
栗田工業株式会社
放射性廃液の処理方法
16日前
PDRファーマ株式会社
遮蔽容器
5か月前
住友重機械工業株式会社
搬送システム
3か月前
国立大学法人大阪大学
原子力発電装置
4か月前
浜松ホトニクス株式会社
電子線照射装置
5か月前
浜松ホトニクス株式会社
電子線照射装置
5か月前
個人
共振励起型固体核融合装置と元素変換用固体核融合工程
3か月前
合同会社日本レプトン
電子発生器具及びその製造方法
20日前
合同会社日本レプトン
電子発生器具及びその製造方法
20日前
個人
過剰熱起電力発生方法
4か月前
株式会社アキュサイト
放射性物質の処理装置および方法
6か月前
三菱重工業株式会社
加圧容器
1か月前
日揮株式会社
放射性廃棄物の固化処理方法
6か月前
合同会社日本レプトン
物質活性化素材及び物質活性化部材
6か月前
清水建設株式会社
放射線遮蔽壁
6か月前
株式会社大林組
埋め戻し材、埋め戻し材の製造方法
2か月前
続きを見る
他の特許を見る