TOP
|
特許
|
意匠
|
商標
特許ウォッチ
Twitter
他の特許を見る
公開番号
2025153910
公報種別
公開特許公報(A)
公開日
2025-10-10
出願番号
2024056623
出願日
2024-03-29
発明の名称
ポンプシステム
出願人
三菱重工業株式会社
代理人
個人
,
個人
,
個人
,
個人
,
個人
主分類
F17C
9/00 20060101AFI20251002BHJP(ガスまたは液体の貯蔵または分配)
要約
【課題】複数のポンプが直列に接続される接続方式において、ポンプが収容されるタンクを低圧に維持することができるポンプシステムを提供する。
【解決手段】ポンプシステムは、液化ガスを貯留可能なタンクと、タンク内に収容され、タンク内の液化ガスに浸漬された複数のポンプと、複数のポンプを直列に接続し、直列に接続される2つのポンプにおいて、低圧側のポンプの吐出部と高圧側のポンプの吸込部とを直接接続するとともに、液化ガスが流通可能な直列配管と、を備える。
【選択図】図1
特許請求の範囲
【請求項1】
液化ガスを貯留可能なタンクと、
前記タンク内に収容され、前記タンク内の液化ガスに浸漬された複数のポンプと、
複数の前記ポンプを直列に接続し、直列に接続される2つの前記ポンプにおいて、低圧側の前記ポンプの吐出部と高圧側の前記ポンプの吸込部とを直接接続するとともに、液化ガスが流通可能な直列配管と、
を備える、
ポンプシステム。
続きを表示(約 600 文字)
【請求項2】
前記タンクは、複数設けられ、
前記ポンプは、各前記タンク内に1台ずつ収容されている、
請求項1に記載のポンプシステム。
【請求項3】
液化ガスの供給源と、
前記供給源から複数の前記タンクの各々に液化ガスを供給するタンク供給配管と、
をさらに備える、
請求項2に記載のポンプシステム。
【請求項4】
液化ガスの供給源と、
前記供給源から複数の前記タンクのうち一の前記タンクに液化ガスを供給するタンク供給配管と、
をさらに備え、
複数の前記タンクは液化ガスが流通可能に直列に接続されている、
請求項2に記載のポンプシステム。
【請求項5】
前記タンク内の上端よりも下方に設置され、前記タンク内のガスを抜くガス抜き配管をさらに備える、
請求項1から4のいずれか1項に記載のポンプシステム。
【請求項6】
前記タンク内のガス層を検知するガス層検知部をさらに備える、
請求項1から4のいずれか1項に記載のポンプシステム。
【請求項7】
複数の前記ポンプのうち、最も低圧側に配置された1段目の前記ポンプの吸込部は、前記タンク内の液化ガスを吸い込むように設置されている、
請求項1から4のいずれか1項に記載のポンプシステム。
発明の詳細な説明
【技術分野】
【0001】
本開示は、ポンプシステムに関する。
続きを表示(約 1,900 文字)
【背景技術】
【0002】
例えば、特許文献1に開示されるように、需要側で必要とされる圧力まで液化ガスを昇圧するため、複数のポンプ装置を直列に接続する方式がある。この方式では、複数のポンプによって、液化ガスが段階的に昇圧される。ポンプ装置は、液化ガスを貯留するタンクと、タンク内の液化ガスに浸漬されるポンプと、を有する。ポンプは、タンク内の液化ガスを吸い込み、後段のポンプ装置のタンクに吐出する。
【先行技術文献】
【特許文献】
【0003】
特開2023-173562号公報
【発明の概要】
【発明が解決しようとする課題】
【0004】
しかしながら、特許文献1に開示されるような技術では、後段のタンク内には、昇圧された液化ガスが供給される。このため、後段側のポンプ装置ほどタンク内が高圧となる。このため、後段側のタンクほど、設計圧力を高くする耐圧設計が必要となる。
また、タンク内が高圧となるほど、タンク内における液化ガスの気化が抑制される。このため、後段のタンクほどタンク上部のガス層が薄くなる。ガス層が薄くなると、タンクの上部は液化ガスの温度に近い低温となる。このため、タンク上部にあるフランジは、タンク外との温度差が大きくなり、タンク上部の熱変形が大きくなる。また、ガス層の薄層化により、タンク内への入熱が増大する。
【0005】
本開示は、上記課題を解決するためになされたものであって、複数のポンプが直列に接続される接続方式において、ポンプが収容されるタンクを低圧に維持することができるポンプシステムを提供することを目的とする。
【課題を解決するための手段】
【0006】
上記課題を解決するために、本開示に係るポンプシステムは、液化ガスを貯留可能なタンクと、前記タンク内に収容され、前記タンク内の液化ガスに浸漬された複数のポンプと、複数の前記ポンプを直列に接続し、直列に接続される2つの前記ポンプにおいて、低圧側の前記ポンプの吐出部と高圧側の前記ポンプの吸込部とを直接接続するとともに、液化ガスが流通可能な直列配管と、を備える。
【発明の効果】
【0007】
本開示のポンプシステムによれば、複数のポンプが直列に接続される接続方式において、ポンプが収容されるタンクを低圧に維持することができる。
【図面の簡単な説明】
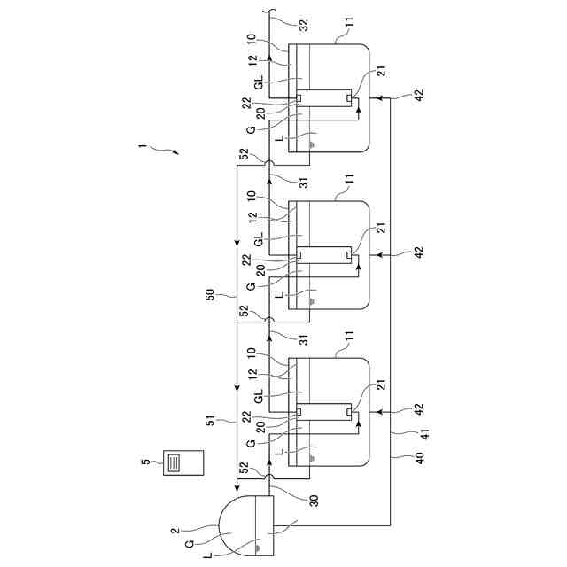
【0008】
本開示の実施形態に係るポンプシステムの概略構成図である。
本開示の実施形態に係るタンク及びポンプの拡大図である。
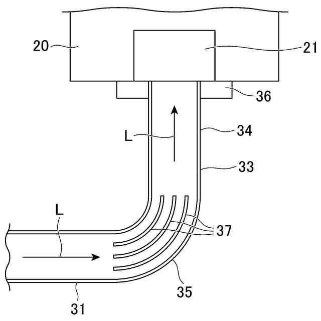
本開示の実施形態に係る直列配管の吸込側端部の拡大図である。
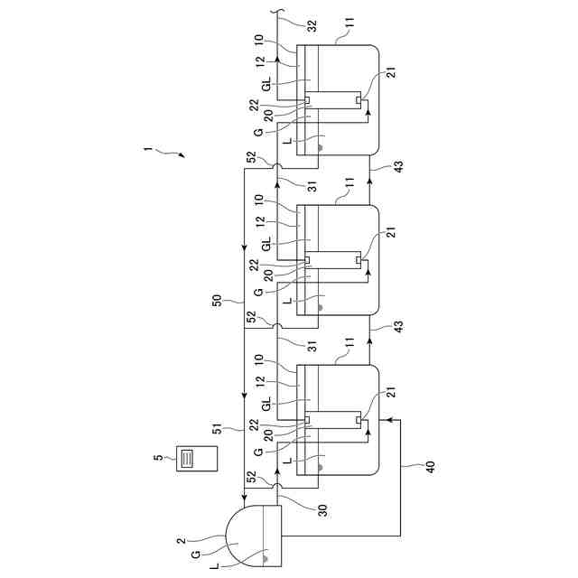
本開示のその他の実施形態に係るポンプシステムの概略構成図である。
本開示のその他の実施形態に係るポンプシステムの概略構成図である。
本開示のその他の実施形態に係るポンプシステムの概略構成図である。
【発明を実施するための形態】
【0009】
(ポンプシステムの構成)
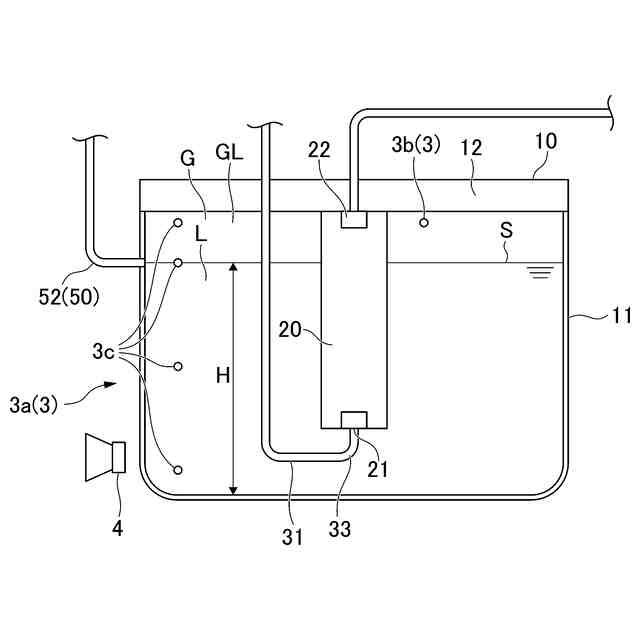
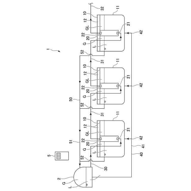
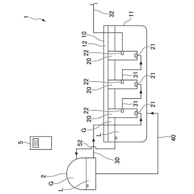
以下、本開示の実施形態に係るポンプシステム1について、図1~図3を参照して説明する。
図1に示すポンプシステム1は、不図示の高圧化した流体(本実施形態の場合は水素)を利活用する機器又はプラント設備に高圧化した流体を供給する装置である。ポンプシステム1は、高圧ガスを目的の圧力まで昇圧して高圧化した流体(本実施形態の場合は水素)を利活用する機器又はプラント設備に供給する。本実施形態では、高圧化した流体が液体水素である場合を例に説明する。なお、以下では、「液化ガスL」とは液状のガスを意味し、「ガスG」とは気体のガスを意味するものとする。
図1、図2に示すように、ポンプシステム1は、タンク10と、ポンプ20と、供給源2と、ポンプ供給配管30と、直列配管31と、ポンプ排出配管32と、タンク供給配管40と、ガス抜き配管50と、ガス層検知部3と、警報機4と、を備える。
【0010】
(タンク)
タンク10は、液化ガスL(本実施形態では液化水素)を貯留可能な容器である。タンク10の一例として、サンプタンクが挙げられる。タンク10は、例えば断熱材に覆われることにより、断熱性を確保されている。タンク10は、タンク本体11と、フランジ12とを有する。タンク本体11は、上方に向けて開口している。フランジ12は、タンク10の上部に設けられている。フランジ12は、タンク本体11の開口を閉塞している。本実施形態では、タンク10は、複数(本実施形態では3台)設けられている。
(【0011】以降は省略されています)
この特許をJ-PlatPat(特許庁公式サイト)で参照する
関連特許
三菱重工業株式会社
皮膜形成装置
2日前
三菱重工業株式会社
超音波探傷方法
2日前
三菱重工業株式会社
ポンプシステム
2日前
三菱重工業株式会社
メタン酸化触媒装置
2日前
三菱重工業株式会社
炭化炉及びその制御方法
2日前
三菱重工業株式会社
バーナ及びこれを備えたボイラ
2日前
三菱重工業株式会社
バーナ及びこれを備えたボイラ
2日前
三菱重工業株式会社
水素製造システム及び水素製造方法
2日前
三菱重工業株式会社
洗浄装置、分離システム及び洗浄方法
2日前
三菱重工業株式会社
渦電流探傷装置、及び渦電流探傷方法
2日前
三菱重工業株式会社
蓄圧システム及び蓄圧システムの運転方法
3日前
三菱重工業株式会社
電解モジュールの冷却方法及び電解システム
2日前
三菱重工業株式会社
タービン架台及びタービン装置並びにタービン架台の製造方法
2日前
三菱重工業株式会社
粉砕テーブル及び固体燃料粉砕装置並びに粉砕テーブルの補修方法
2日前
三菱重工業株式会社
固体燃料粉砕装置及びボイラ設備並びに固体燃料粉砕装置の運転方法
3日前
三菱重工業株式会社
熱電併給用蒸気生成システム及び熱電併給システム並びに熱電併給用蒸気生成方法
2日前
三菱重工業株式会社
炭素強度演算装置、これを用いた合成燃料製造プラント、炭素強度演算方法及び炭素強度演算プログラム
2日前
三菱重工業株式会社
CO2回収装置用蒸気生成システム及びこれを備えたCO2回収装置並びにCO2回収装置用蒸気生成方法
2日前
株式会社石井鐵工所
低温タンクの揚液装置
3か月前
株式会社石井鐵工所
低温タンクの揚液装置
5か月前
川崎重工業株式会社
竪型タンク
4か月前
川崎重工業株式会社
三重殻タンク
7か月前
川崎重工業株式会社
三重殻タンク
7か月前
川崎重工業株式会社
極低温流体用配管設備
4日前
大日本印刷株式会社
ガス充填容器
8か月前
川崎重工業株式会社
液化ガス貯蔵タンク
8か月前
川崎重工業株式会社
液化水素貯蔵タンク
8か月前
川崎重工業株式会社
液化水素貯蔵タンク
8か月前
トヨタ自動車株式会社
水素タンク
3か月前
帝人株式会社
繊維補強圧力容器及びその製造方法
2か月前
株式会社タツノ
充填ノズル
1か月前
株式会社タツノ
充填ノズル
23日前
那須電機鉄工株式会社
水素吸蔵合金タンク
8か月前
トヨタ自動車株式会社
水素充填装置
5か月前
岩谷産業株式会社
燃料ガス充填設備
13日前
川崎重工業株式会社
低温流体の移送システム
5か月前
続きを見る
他の特許を見る