TOP
|
特許
|
意匠
|
商標
特許ウォッチ
Twitter
他の特許を見る
10個以上の画像は省略されています。
公開番号
2025151453
公報種別
公開特許公報(A)
公開日
2025-10-09
出願番号
2024052889
出願日
2024-03-28
発明の名称
バッテリ交換装置
出願人
三菱重工業株式会社
代理人
個人
,
個人
,
個人
,
個人
,
個人
主分類
B60L
53/80 20190101AFI20251002BHJP(車両一般)
要約
【課題】効率良くバッテリを交換することができるバッテリ交換装置を提供する。
【解決手段】バッテリ交換装置は、車両のバッテリを交換するバッテリ交換装置であって、上下方向に直交する水平第1方向に移動可能なハンドと、ハンドの水平第1方向の前側の端部に取り付けられる変位吸収部と、変位吸収部の水平第1方向の前側の端部に取り付けられ、バッテリを吸着する吸着部と、を備え、変位吸収部は、上下方向及び水平第1方向に直交する水平第2方向の軸線回りの回転を規制されるとともに、上下方向の軸線回りに回転する変位と、水平第1方向の変位と、水平第2方向の変位と、を吸収する。
【選択図】図9
特許請求の範囲
【請求項1】
車両のバッテリを交換するバッテリ交換装置であって、
上下方向に直交する水平第1方向に移動可能なハンドと、
前記ハンドの前記水平第1方向の前側の端部に取り付けられる変位吸収部と、
前記変位吸収部の前記水平第1方向の前側の端部に取り付けられ、前記バッテリを吸着する吸着部と、
を備え、
前記変位吸収部は、前記上下方向及び前記水平第1方向に直交する水平第2方向の軸線回りの回転を規制されるとともに、前記上下方向の軸線回りに回転する変位と、前記水平第1方向の変位と、前記水平第2方向の変位と、を吸収する、
バッテリ交換装置。
続きを表示(約 1,300 文字)
【請求項2】
前記変位吸収部は、
前記水平第1方向に延びるリンクを有するリンク機構であり、
前記リンクの前記水平第1方向の後側の端部は、前記上下方向の軸線回りに回転可能に前記ハンドに取り付けられ、
前記吸着部は、前記リンクの前記水平第1方向の前側の端部に、前記上下方向の軸線回りに回転可能に取り付けられている、
請求項1に記載のバッテリ交換装置。
【請求項3】
前記変位吸収部は、
前記水平第1方向に連結された2つのユニバーサルジョイントを備え、
各前記ユニバーサルジョイントは、
第1ジョイントと、
前記第1ジョイントに対して前記水平第1方向の前側に配置され、前記第1ジョイントに対し、前記上下方向の軸線回りに回転可能に設置されている第2ジョイントと、
を有する、
請求項1に記載のバッテリ交換装置。
【請求項4】
前記吸着部が前記バッテリを吸着している際における前記変位吸収部の変位吸収を許容するとともに、前記吸着部から前記バッテリが離れた際に前記変位吸収部を前記吸着部が前記バッテリを吸着する前の初期状態に復元する弾性部材をさらに備える、
請求項1から3のいずれか1項に記載のバッテリ交換装置。
【請求項5】
前記吸着部は、磁力の発生と停止とを切り替え可能であり、前記バッテリを磁力により吸着する電磁石である、
請求項1から3のいずれか1項に記載のバッテリ交換装置。
【請求項6】
前記吸着部が前記バッテリに接触したことを検知する接触検知センサと、
前記電磁石を制御する制御装置と、
をさらに備え、
前記接触検知センサが前記吸着部と前記バッテリとの接触を検知した際に、前記制御装置は、前記電磁石の磁力を発生させる、
請求項5に記載のバッテリ交換装置。
【請求項7】
前記吸着部に接続される真空ポンプをさらに備え、
前記吸着部は、前記バッテリと密着可能な真空チャックであり、
前記バッテリと前記真空チャックとによって形成される密閉空間が前記真空ポンプによって真空引きされることで、前記真空チャックは負圧により前記バッテリを吸着する、
請求項1から3のいずれか1項に記載のバッテリ交換装置。
【請求項8】
前記密閉空間内の圧力を計測可能な圧力センサをさらに備える、
請求項7に記載のバッテリ交換装置。
【請求項9】
前記水平第1方向に延びて、前記ハンドが前記水平第1方向に移動可能に設置されるレールと、
前記レールに対して相対移動不可能に固定され、前記ハンドが初期位置に戻った際に前記バッテリを前記水平第1方向に押し返すことにより、前記バッテリを引きはがすストッパをさらに備える、
請求項1から3のいずれか1項に記載のバッテリ交換装置。
【請求項10】
前記吸着部は、永久磁石である、
請求項9に記載のバッテリ交換装置。
発明の詳細な説明
【技術分野】
【0001】
本開示は、バッテリ交換装置に関する。
続きを表示(約 1,900 文字)
【背景技術】
【0002】
特許文献1には、台車に積載物を積載搬出するための自動積載搬出機構が開示されている。自動積載搬出機構は、積載物が保持される積載搬出装置と、積載物が載せられるパレットと、を備える。パレットの一端には、掛合軸が設けられている。積載搬出装置は、台車に接近離間自在に設けられた掛合手段を備える。掛合手段は、掛合溝が形成されたハンドを備える。ハンドが掛合手段の移動方向と交差する方向に移動すると、掛合軸がハンドの掛合溝に挿入離脱される。
【先行技術文献】
【特許文献】
【0003】
特許第3605044号公報
【発明の概要】
【発明が解決しようとする課題】
【0004】
しかしながら、特許文献1に記載の自動積載搬出機構は、積載物の移動方向とハンドの移動方向とが完全に一致している場合を想定して構成されている。このような機構が例えば車両のバッテリ交換に用いられると、バッテリがハンドに対して傾いて配置され、バッテリのスライド方向がハンドの移動方向に一致していない場合、ハンドがバッテリに対して横ずれしたり、バッテリががたついたりする等して、バッテリ交換をスムーズに行うことができないことがあった。
【0005】
本開示は、上記課題を解決するためになされたものであって、効率良くバッテリを交換することができるバッテリ交換装置を提供することを目的とする。
【課題を解決するための手段】
【0006】
上記課題を解決するために、本開示に係るバッテリ交換装置は、車両のバッテリを交換するバッテリ交換装置であって、上下方向に直交する水平第1方向に移動可能なハンドと、前記ハンドの前記水平第1方向の前側の端部に取り付けられる変位吸収部と、前記変位吸収部の前記水平第1方向の前側の端部に取り付けられ、前記バッテリを吸着する吸着部と、を備え、前記変位吸収部は、前記上下方向及び前記水平第1方向に直交する水平第2方向の軸線回りの回転を規制されるとともに、前記上下方向の軸線回りに回転する変位と、前記水平第1方向の変位と、前記水平第2方向の変位と、を吸収する。
【発明の効果】
【0007】
本開示のバッテリ交換装置によれば、効率良くバッテリを交換することができる。
【図面の簡単な説明】
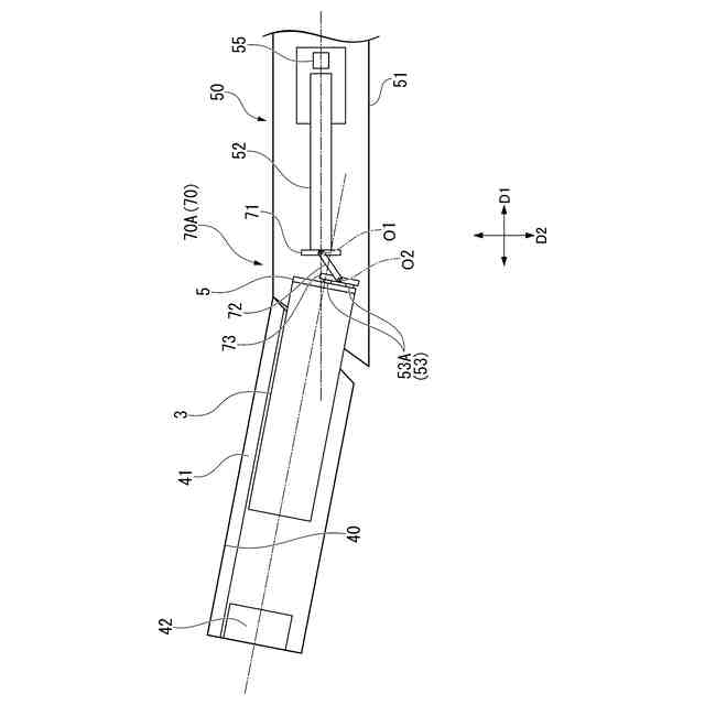
【0008】
本開示の第1実施形態に係るバッテリ交換システムの斜視図である。
本開示の第1実施形態に係るバッテリ交換システムの平面図である。
本開示の第1実施形態に係る変位吸収部の平面図である。
本開示の第1実施形態に係る変位吸収部の側面図である。
本開示の第1実施形態に係る制御装置の機能ブロック図である。
本開示の第1実施形態に係るバッテリの引き抜き動作の手順を示すフローチャートである。
本開示の第1実施形態に係るバッテリの引き抜き動作を説明する図である。
本開示の第1実施形態に係るバッテリの引き抜き動作を説明する図である。
本開示の第1実施形態に係るバッテリの引き抜き動作を説明する図である。
本開示の第2実施形態に係る抜き差し機構の平面図である。
本開示の第2実施形態に係るバッテリの引き抜き動作の手順を示すフローチャートである。
本開示の第3実施形態に係る抜き差し機構の側面図である。
本開示の第3実施形態に係るバッテリの引き抜き動作の手順を示すフローチャートである。
本開示の第4実施形態に係る変位吸収部の斜視図である。
本開示の実施形態に係るハードウェア構成図である。
【発明を実施するための形態】
【0009】
(第1実施形態)
以下、本開示の第1実施形態に係るバッテリ交換システム1について、図1~図9を参照して説明する。
図1、図2に示すように、バッテリ交換システム1は、車両2と、バッテリ交換装置10と、を備える。
【0010】
(車両)
車両2には、バッテリ3が搭載されている。車両2は、バッテリ3の電力により駆動する。本実施形態の車両2は、自動運転フォークリフトである。以下では、車両2の前後方向を単に前後方向と称し、車両2の車幅方向を単に車幅方向と称して説明する場合がある。車両2は、車体20と、走行機構25と、マスト26と、荷役装置30と、車両制御部4と、バッテリ3と、を備える。
(【0011】以降は省略されています)
この特許をJ-PlatPat(特許庁公式サイト)で参照する
関連特許
三菱重工業株式会社
原子炉
18日前
三菱重工業株式会社
動力装置
1か月前
三菱重工業株式会社
ボイラ壁
1か月前
三菱重工業株式会社
施工方法
24日前
三菱重工業株式会社
遠心圧縮機
2日前
三菱重工業株式会社
原子力システム
3日前
三菱重工業株式会社
燃焼筒の取付方法
1か月前
三菱重工業株式会社
石膏脱水システム
24日前
三菱重工業株式会社
蒸気タービンシステム
1か月前
三菱重工業株式会社
ガスタービン起動方法
1か月前
三菱重工業株式会社
ガス処理装置および方法
1か月前
三菱重工業株式会社
燃焼設備および制御方法
1か月前
三菱重工業株式会社
アンモニア除害システム
24日前
三菱重工業株式会社
評価装置および評価方法
3日前
三菱重工業株式会社
シール装置及び回転機械
23日前
三菱重工業株式会社
原子炉炉心および原子炉
18日前
三菱重工業株式会社
軸流圧縮機、及びその動翼
25日前
三菱重工業株式会社
計測システムおよび計測方法
1か月前
三菱重工業株式会社
支持部材及び接着剤の監視方法
24日前
三菱重工業株式会社
水素吸蔵材料および原子力設備
1か月前
三菱重工業株式会社
レドックスフロー電池システム
1か月前
三菱重工業株式会社
インバータ装置及びその保護方法
1か月前
三菱重工業株式会社
水位制御方法および水位制御装置
3日前
三菱重工業株式会社
排ガス処理触媒及び排ガス処理方法
2日前
三菱重工業株式会社
インバータ基板及びインバータ装置
1か月前
三菱重工業株式会社
演算方法、プログラム及び演算装置
1か月前
三菱重工業株式会社
電動ファンおよび電動垂直離着陸機
1か月前
三菱重工業株式会社
燃料製造システム、及び燃料製造方法
26日前
三菱重工業株式会社
油圧防振装置および構造物の支持構造
4日前
三菱重工業株式会社
制御装置、制御方法、及びプログラム
2日前
三菱重工業株式会社
圧縮機の静翼セグメント、及び圧縮機
24日前
三菱重工業株式会社
補修方法、プログラム、及び補修装置
25日前
三菱重工業株式会社
RPB装置及び酸性ガス回収システム
1か月前
三菱重工業株式会社
炉壁及びガス化炉並びに炉壁の製造方法
1か月前
三菱重工業株式会社
検査システム、検査方法及びプログラム
10日前
三菱重工業株式会社
超音波探傷装置、および超音波探傷方法
23日前
続きを見る
他の特許を見る