TOP
|
特許
|
意匠
|
商標
特許ウォッチ
Twitter
他の特許を見る
公開番号
2025145568
公報種別
公開特許公報(A)
公開日
2025-10-03
出願番号
2024045802
出願日
2024-03-22
発明の名称
蒸気タービン翼及び蒸気タービン
出願人
三菱重工業株式会社
代理人
SSIP弁理士法人
主分類
F01D
9/02 20060101AFI20250926BHJP(機械または機関一般;機関設備一般;蒸気機関)
要約
【課題】蒸気タービン翼の背側の翼面から離脱した水滴によるエロージョン及び制動損失を抑制可能。
【解決手段】本願は、翼形部を備え、蒸気タービンに用いられる蒸気タービン翼に関する。翼形部は、背側翼面のうち前縁から最大キャンバ位置に対応する背側翼面上の第1位置までの範囲内に設けられた溝を有する。
【選択図】図3
特許請求の範囲
【請求項1】
翼形部、を備え、蒸気タービンに用いられる蒸気タービン翼であって、
前記翼形部は、背側翼面のうち前縁から最大キャンバ位置に対応する前記背側翼面上の第1位置までの範囲内に設けられた溝を有する、
蒸気タービン翼。
続きを表示(約 820 文字)
【請求項2】
前記溝は、前記翼形部の最大翼厚位置に対応する前記背側翼面上の第2位置から前記翼形部のコード長の10%の長さの分だけ前縁側に向かってコード方向に離れた位置と、前記第2位置から前記コード長の10%の長さの分だけ前記後縁側に向かって前記コード方向に離れた位置との間に存在する、
請求項1に記載の蒸気タービン翼。
【請求項3】
前記蒸気タービン翼は、タービン静翼であり、
前記溝は、前記背側翼面における接線であって前記蒸気タービンのロータの軸方向に延在する仮想直線と前記背側翼面との接点よりも前記後縁側に存在する、
請求項1又は2に記載の蒸気タービン翼。
【請求項4】
前記溝は、前記溝と前縁側において隣接する前記背側翼面の外表面と、前記外表面に隣接する前記溝の内面とがなす角度が鋭角である前縁側端部を有する、
請求項1又は2に記載の蒸気タービン翼。
【請求項5】
前記溝は、R形状を含む底部を有する、請求項1又は2に記載の蒸気タービン翼。
【請求項6】
前記翼形部は、内部に中空空間を有し、
前記溝は前記中空空間に非連通である、
請求項1又は2に記載の蒸気タービン翼。
【請求項7】
前記溝は前記翼形部の翼長方向に沿って延在する、
請求項1又は2に記載の蒸気タービン翼。
【請求項8】
前記溝は、前記翼形部のミッドスパン位置からチップまでの範囲の少なくとも一部にわたって設けられる、
請求項7に記載の蒸気タービン翼。
【請求項9】
前記翼形部は、腹側翼面における液相の水を回収するためのスリットが形成されている、
請求項1又は2に記載の蒸気タービン翼。
【請求項10】
請求項1又は2に記載の蒸気タービン翼を備える蒸気タービン。
発明の詳細な説明
【技術分野】
【0001】
本開示は、蒸気タービン翼及び蒸気タービンに関する。
続きを表示(約 1,500 文字)
【背景技術】
【0002】
蒸気タービン内を通過する蒸気は、上流側から下流側に向かうにつれてエネルギーを失い、温度と圧力が低下する。そのため、蒸気タービンの下流段では、蒸気の一部が凝縮して微細な水滴として気流中に存在しており、その水滴の一部はタービン静翼の表面に付着し、翼面上で成長して液膜となる。この液膜がさらに成長して厚みが増すと、その一部が蒸気流によってちぎれて粗大液滴の状態で飛散する。飛散した液滴は下流側のタービン動翼に衝突すると、タービン動翼の回転が阻害されて制動損失が生じたり、エロージョンを発生させる要因となる。
【0003】
そのため、例えば中空状の静翼の翼面に、静翼内部の内部空間と静翼の外部とを連通する微細なスリットを形成し、このスリットを介して、静翼の表面に付着した水分(液相)を圧力差によって内部空間に吸い込むことで、水滴の飛散を抑制することも行われている(例えば特許文献1を参照)。
【先行技術文献】
【特許文献】
【0004】
特開2021-181773号公報
【発明の概要】
【発明が解決しようとする課題】
【0005】
上記特許文献1のようなスリットを静翼の腹側と背側との両面にそれぞれ設ける場合、スリット位置における圧力が背側と腹側で等しくないと、腹側のスリットから静翼の内部空間に吸引された水滴が背側のスリットから噴出するという事象が発生する。このため、スリットは静翼の腹側のみに施工される場合が多い。その一方で、静翼の背側にスリットが施工されていない場合、背側の翼面にて成長した液膜(水膜)は静翼の後縁まで到達し、そこから離脱した水滴は動翼に衝突し、エロージョン及び制動損失を発生させてしまう。
【0006】
本開示の少なくとも一実施形態は上述の事情に鑑みなされたものであり、蒸気タービン翼の背側の翼面から離脱した水滴によるエロージョン及び制動損失を抑制可能な蒸気タービン翼及び蒸気タービンを提供することを目的とする。
【課題を解決するための手段】
【0007】
本開示の少なくとも一実施形態に係る蒸気タービン翼は、上記課題を解決するために、
翼形部、を備え、蒸気タービンに用いられる蒸気タービン翼であって、
前記翼形部は、背側翼面のうち前縁から最大キャンバ位置に対応する前記背側翼面上の第1位置までの範囲内に設けられた溝を有する。
【0008】
本開示の少なくとも一実施形態に係る蒸気タービンは、上記課題を解決するために、
本開示の少なくとも一実施形態に係る蒸気タービン翼を備える。
【発明の効果】
【0009】
本開示の少なくとも一実施形態によれば、蒸気タービン翼の背側の翼面から離脱した水滴によるエロージョン及び制動損失を抑制可能な蒸気タービン翼及び蒸気タービンを提供できる。
【図面の簡単な説明】
【0010】
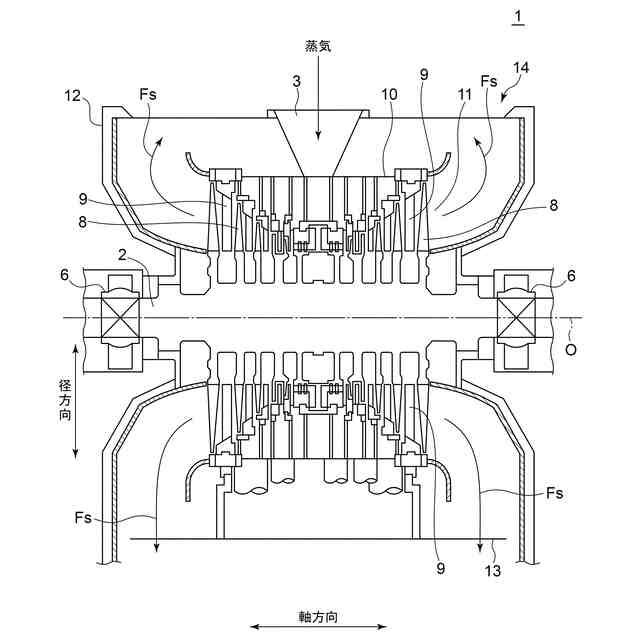
本開示の一実施形態に係る蒸気タービンの軸方向に沿った概略断面図である。
図1において周方向に間隔を空けて配置された複数の静翼を、軸方向下流側に配置された複数の動翼とともに周方向に展開した図である。
図2の静翼が有する翼形部を翼高さ方向から見た断面における外形形状を示す図である。
図3の溝の近傍における拡大断面図である。
図4の変形例である。
溝の位置から離脱した水滴の絶対速度と、動翼に対する当該水滴の相対速度との関係を示す図である。
【発明を実施するための形態】
(【0011】以降は省略されています)
この特許をJ-PlatPat(特許庁公式サイト)で参照する
関連特許
三菱重工業株式会社
フィルタ装置
今日
個人
ジェットエンジンタービン羽根
23日前
トヨタ自動車株式会社
車両
23日前
ダイハツ工業株式会社
内燃機関
25日前
スズキ株式会社
排気装置
24日前
スズキ株式会社
排気装置
24日前
トヨタ自動車株式会社
エンジンシステム
今日
トヨタ自動車株式会社
エンジンシステム
22日前
株式会社SUBARU
ピストン冷却構造
14日前
トヨタ自動車株式会社
異音診断プログラム
16日前
トヨタ自動車株式会社
内燃機関の制御装置
14日前
フタバ産業株式会社
消音器
14日前
トヨタ自動車株式会社
制御装置
14日前
三浦工業株式会社
船舶用発電システム
今日
トヨタ自動車株式会社
制御装置
14日前
フタバ産業株式会社
消音器
2日前
トヨタ自動車株式会社
内燃機関の制御装置
15日前
トヨタ自動車株式会社
内燃機関の制御装置
4日前
株式会社SUBARU
車両
4日前
トヨタ自動車株式会社
内燃機関の制御装置
23日前
フタバ産業株式会社
排気系部品
2日前
三菱重工業株式会社
主蒸気管洗浄方法
今日
トヨタ自動車株式会社
過給エンジンの制御装置
4日前
三菱重工業株式会社
排熱回収システム
23日前
トヨタ自動車株式会社
内燃機関の異常検出装置
今日
帝人エンジニアリング株式会社
排ガス処理装置
今日
本田技研工業株式会社
ウォータポンプ診断装置
14日前
マレリ株式会社
排気ガス処理装置
24日前
株式会社豊田自動織機
排気管
今日
ヤンマーホールディングス株式会社
エンジン装置
2日前
トヨタ自動車株式会社
水素エンジンの排気浄化装置
4日前
株式会社SUBARU
硫黄除去方法
4日前
トヨタ自動車株式会社
車両診断装置
今日
三菱重工業株式会社
蒸気タービン翼及び蒸気タービン
今日
株式会社オティックス
ラッシュアジャスタ
2日前
いすゞ自動車株式会社
内燃機関ユニット及び車両
4日前
続きを見る
他の特許を見る