TOP
|
特許
|
意匠
|
商標
特許ウォッチ
Twitter
他の特許を見る
10個以上の画像は省略されています。
公開番号
2025145075
公報種別
公開特許公報(A)
公開日
2025-10-03
出願番号
2024045067
出願日
2024-03-21
発明の名称
排ガス処理装置
出願人
帝人エンジニアリング株式会社
代理人
個人
,
個人
主分類
F01N
3/08 20060101AFI20250926BHJP(機械または機関一般;機関設備一般;蒸気機関)
要約
【課題】排ガスを均一に分散することができる排ガス処理装置を提供する。
【解決手段】脱硝装置3は、N
2
O等のNOxが含まれる排ガスに用いる排ガス処理装置であって、排ガス用の流入口3aと流出口3bとを有する筒体は、流入口3a側から第1領域51と第2領域52とを有し、第2領域53には、還元剤吐出用の第2吐出部531と、第2吐出部513の下流側の第1板部533と、第1板部533の下流側の第2板部535と、第2板部535の下流側の第2触媒部537とが設けられ、第1板部533と第2板部535は、第2領域53の中心軸59と直交し、第1板部533の中心軸59と直交する第1方向の両端側に第1開口533aが形成され、第2板部535は、第1板部533よりも小さい第2開口535aを第1方向の両側の第1開口533aの間に有する。
【選択図】図3
特許請求の範囲
【請求項1】
内燃機関から排出され且つNOxが含まれる排ガスに用いる排ガス処理装置であって、
前記排ガスが流入する流入口と前記流入口から流入した排ガスが流出する流出口とを有する筒体を備え、
前記筒体は、前記流入口側と前記流出口との間に、前記流入口側から第1領域と第2領域とをこの順で有し、
前記第1領域には、還元剤を吐出するための第1吐出部と、前記第1領域に流入してきた前記排ガスを旋回させる旋回部と、前記第1吐出部及び前記旋回部に対して前記第2領域側に配された第1触媒部とが設けられ、
前記第2領域には、還元剤を吐出するための第2吐出孔を1個又は複数個有する第2吐出部と、前記第2吐出部に対して前記流出口側に配された第1板部と、前記第1板部に対して前記流出口側に配された第2板部と、前記第2板部に対して前記流出口側に配された第2触媒部とが設けられ、
前記第1板部と前記第2板部は、前記第2領域の中心軸と直交し、
前記第1板部における前記中心軸と直交する第1方向の両端側に第1開口が形成され、
前記第2板部は、前記第1板部よりも小さい第2開口を、前記第1方向の両側の第1開口の間に有する、
排ガス処理装置。
続きを表示(約 1,200 文字)
【請求項2】
前記第1方向の両側の前記第1開口の合計の開口面積は、前記第2領域の断面積に対して、10~30%の範囲内にある、
請求項1に記載の排ガス処理装置。
【請求項3】
前記第2開口の開口面積は、前記第2領域の断面積に対して、6~20%の範囲内にある、
請求項2に記載の排ガス処理装置。
【請求項4】
前記第2領域を前記流入口側から前記流出口側に向かって投影したときに、前記第2開口は前記第1板部の外周縁内に位置する、
請求項1又は3に記載の排ガス処理装置。
【請求項5】
前記第2領域を前記流入口側から前記流出口側に向かって投影したときに、前記第1板部と前記第2板部とが重なっている部分の面積が、前記第2領域の断面積に対して、50~84%の範囲内にある、
請求項1又は4に記載の排ガス処理装置。
【請求項6】
前記筒体は、前記第2領域を形成する第2筒部を有し、
前記第2筒部は、前記第1方向と前記第2領域の中心軸とに直交する第2方向に長い矩形状又は当該矩形状に似た形状をし、
前記第1開口及び前記第2開口は、前記第2方向に長い矩形状又は当該矩形状に似た形状をしている、
請求項1、4又は5に記載の排ガス処理装置。
【請求項7】
前記第2領域の中心軸が延伸する第2中心軸方向において、前記第2領域の入り口から前記第1板部との距離は、前記第2領域における前記第2中心軸方向と直交する断面積に対して、3.0×10
-5
~15.1×10
-5
の範囲内にある、
請求項1又は6に記載の排ガス処理装置。
【請求項8】
前記第2領域の中心軸が延伸する前記第2中心軸方向において、前記第1板部と前記第2板部との距離は、前記第2領域における前記第2中心軸方向と直交する断面積に対して、6.3×10
-5
~14.2×10
-5
の範囲内にある、
請求項7に記載の排ガス処理装置。
【請求項9】
前記第2領域の中心軸が延伸する前記第2中心軸方向において、前記第2板部と前記第2触媒部との距離は、前記第2領域における前記第2中心軸方向と直交する断面積に対して、5.4×10
-5
~15.7×10
-5
の範囲内にある、
請求項8に記載の排ガス処理装置。
【請求項10】
前記第2吐出部は、前記第2吐出孔が前記第2方向に間隔をおいて複数形成された2本の第2パイプを、前記第1方向に間隔をおいて備え、
前記2本の前記第2パイプの中心間距離は、前記第2領域の前記第1方向の距離に対して、14~65%の範囲内にある、
請求項1、6、9のいずれか1項に記載の排ガス処理装置。
(【請求項11】以降は省略されています)
発明の詳細な説明
【技術分野】
【0001】
本発明は、アンモニアを燃料又は燃料の一部とする内燃機関から排出される排ガスに用いる排ガス処理装置に関するものである。
続きを表示(約 3,900 文字)
【背景技術】
【0002】
アンモニアを燃焼させた際に発生するNO,NO
2
,N
2
O,N
2
O
3
等のNOxを含む排ガスを処理する装置として、「脱硝装置43は、燃焼ガス中の窒素酸化物を取り除く脱硝装置43である。脱硝装置43は、筐体47の内部に設けられ、燃焼ガスが通過する第1触媒パック110と、筐体47の内部であって第1触媒パック110の下方に設けられ、第1触媒パック110を通過した燃焼ガスが通過する第2触媒パック120と、第1触媒パック110と第2触媒パック120との間に設けられ、第1触媒パック110を第2触媒パック120に支持させる架台140と、第2触媒パック120を筐体47に対して支持する鉄骨部150と、を備えている脱硝装置43」が提案されている(特許文献1)。
また、触媒パック等に供給される流体を均一に分散させる技術として、例えば、「ガスが流れる流路となる断面角型のダクト1内に、前記ガスとは別種のガスまたは液体を注入するノズル2を備え、ノズル2近傍における一組の相対向するダクト内壁面にそれぞれ混合板4、4を内壁面から突出させ、さらに、混合板4を設置していない側の一組の相対向するダクト内壁面の混合板4よりも下流側の位置にもそれぞれ混合板5、5を内壁面から突出させた流体混合装置」が提案されている(特許文献2)。
【先行技術文献】
【特許文献】
【0003】
特開2022-121127号公報
特開2004-298814号公報
【発明の概要】
【発明が解決しようとする課題】
【0004】
上記流体混合装置の技術においても流体(ノズルから注入するガス又は液体)を均一に分散できるが、より一層均一に分散したいとの要望がある。
本発明は、排ガス中に還元剤等を均一に分散することができる排ガス処理装置を提供することを目的とする。
【課題を解決するための手段】
【0005】
本発明に係る排ガス処理装置は、内燃機関から排出され且つ窒素の酸化物であるNOx(NO,NO
2
,N
2
O,N
2
O
3
等)が含まれる排ガスに用いる排ガス処理装置であって、前記排ガスが流入する流入口と前記流入口から流入した排ガスが流出する流出口とを有する筒体を備え、前記筒体は、前記流入口側と前記流出口との間に、前記流入口側から第1領域と第2領域とをこの順で有し、前記第1領域には、還元剤を吐出するための第1吐出部と、前記第1領域に流入してきた前記排ガスを旋回させる旋回部と、前記第1吐出部及び前記旋回部に対して前記第2領域側に配された第1触媒部とが設けられ、前記第2領域には、還元剤を吐出するための第2吐出孔を1個又は複数個有する第2吐出部と、前記第2吐出部に対して前記流出口側に配された第1板部と、前記第1板部に対して前記流出口側に配された第2板部と、前記第2板部に対して前記流出口側に配された第2触媒部とが設けられ、前記第1板部と前記第2板部は、前記第2領域の中心軸と直交し、前記第1板部における前記中心軸と直交する第1方向の両端側に第1開口が形成され、前記第2板部は、前記第1板部よりも小さい第2開口を、前記第1方向の両側の第1開口の間に有する。
【発明の効果】
【0006】
本発明の排ガス処理装置によれば、排ガス中に還元剤等を均一に分散することができる。
なお、これにより、還元剤等が均一に分散された排ガスを触媒に供給できるため、高い処理能力が得られる。
【図面の簡単な説明】
【0007】
実施形態の概念図である。
実施形態の脱硝装置の斜視図であり、(a)は第1方向の一方側から見た図であり、(b)は第1方向の他方側から見た図である。
脱硝装置における第2方向と直交する断面図である。
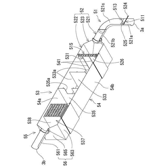
図3の断面の斜視図である。
(a)は脱硝装置を第1方向から見た図であり、(b)は図4(a)のX-X断面を矢印方向から見た断面図であり(c)は図4(a)のY-Y断面を矢印方向から見た断面図である。
解析モデルを説明するための図であり、(a)は実施例A及び比較例A,Bの寸法を示し、(b)は比較例Cの寸法を示す。
(a)は実施例A及び比較例A~Cの構成を示し、(b)は解析結果を示す。
第1領域の第1吐出孔のピッチについての解析
第1領域の旋回部の翼角度についての解析
第1領域の旋回部の翼幅についての解析
第2領域の第1開口についての解析
第2領域の第2開口についての解析
第2領域の第2開口の第1方向の大きさについての解析
第2領域の第2開口の第2方向の大きさについての解析
第2領域の第1触媒部と第1板部との距離についての解析
第2領域の第1板部と第2板部との距離についての解析
第2領域の第2板部と第2触媒部との距離についての解析
第2領域の第2パイプ間の距離についての解析
第2領域の第2パイプの第2吐出孔のピッチについての解析
第2板部の第2開口を2個設けた場合の説明図である。
2個の第2開口の距離についての解析
【発明を実施するための形態】
【0008】
<実施形態>
1.概略
本実施形態に係る排ガス処理装置は、図1に示すように、内燃機関1から排出される排ガスをクリーンなガスに変換するためのものである。
本装置の一例は、内燃機関1から排出され且つN
2
O等のNOxが含まれる排ガスに用いられる脱硝装置3である。
ここでの内燃機関1は、化石燃料とアンモニアとを混合させた、所謂、アンモニア混焼燃料であり、排ガスにN
2
O等のNOxが含まれる。
脱硝装置3は、還元剤を排ガスに混合し、混合された排ガスを脱硝触媒に供給することで、排ガス中のN
2
O等のNOxを還元反応により除去して、クリーンなガス(排ガス)とする。
【0009】
2.脱硝装置
(1)概略
脱硝装置3は、図2に示すように、排ガスが流入する流入口3aと流入口3aから流入した排ガスが流出する流出口3bとを有する筒体5を備える。
筒体5は、図3に示すように、流入口3aと流出口3bとの間に、少なくとも、流入口3a側から第1領域51と第2領域53とをこの順で有している。ここでは、第2領域53に対して第1領域51と反対側(流出口3b)側に第3領域55を有している。なお、第3領域55は、第2領域53に含まれるとしてもよい。
図3及び図4に示すように、第1領域51には、還元剤を吐出するための第1吐出部511と、第1領域51に流入してきた排ガスを旋回させる旋回部513と、第1吐出部511及び旋回部513に対して第2領域53側に配された第1触媒部515とが設けられている。
第2領域53には、還元剤を吐出するための第2吐出部531と、第2吐出部531に対して流出口3b側に配された第1板部533と、第1板部533に対して流出口3b側に配された第2板部535と、第2板部535に対して流出口3b側に配された第2触媒部537とが設けられている。
第1板部533は、図3及び図4に示すように、第2領域53の中心軸(「第2中心軸」ともいう)と直交する第1方向の両端側に第1開口533aが形成されるように設けられている。第2板部535は、第1板部533よりも小さい第2開口535aを有する。
なお、第1領域51は流入口3aから第1触媒部515の流出口3b側端までの領域であり、第2領域53は、第1触媒部515の流出口3b側端から第2触媒部537の流出口3b側端までの領域であり、第3領域55は第2触媒部537の流出口3b側端から流出口3bまでの領域としている。
【0010】
上記構成の脱硝装置3の流入口3aから流入した排ガスは、第1領域51の第1吐出部511から還元剤が吐出され、下流側の旋回部513を通過することで還元剤が拡散され、第1触媒部515に供給される。第1触媒部515では、排ガスに含まれていたNH
3
等が分解されて、N
2
、H
2
Oが生成される。なお、生成されたN
2
、H
2
Oはそのまま流出口3bに向かう。
第1触媒部515を通過して第2領域53に流入した排ガスは、第2吐出部531から還元剤が吐出され、第1板部533と筒体5との間の第1開口533a、第2板部535の第2開口535aを通ることで還元剤が拡散され、第2触媒部537に供給される。第2触媒部537では、排ガスに含まれていたN
2
O等のNOxが還元されて、N
2
、H
2
Oが生成される。なお、生成されたN
2
、H
2
Oはそのまま流出口3bに向かう。
以下各部について説明する
(【0011】以降は省略されています)
この特許をJ-PlatPat(特許庁公式サイト)で参照する
関連特許
株式会社豊田自動織機
エンジン式産業車両
6日前
本田技研工業株式会社
排気装置
5日前
本田技研工業株式会社
排気装置
5日前
本田技研工業株式会社
排気装置
5日前
トヨタ自動車株式会社
エンジンシステム
12日前
マレリ株式会社
消音器
6日前
フタバ産業株式会社
消音器
14日前
三浦工業株式会社
船舶用発電システム
12日前
フタバ産業株式会社
排気系部品
14日前
マツダ株式会社
排気システム
7日前
株式会社アイシン
弁開閉時期制御装置
8日前
マツダ株式会社
排気システム
7日前
三菱重工業株式会社
主蒸気管洗浄方法
12日前
帝人エンジニアリング株式会社
排ガス処理装置
12日前
トヨタ自動車株式会社
内燃機関の異常検出装置
12日前
三菱重工業株式会社
メタン酸化触媒装置
5日前
株式会社豊田自動織機
排気管
12日前
ヤンマーホールディングス株式会社
エンジン装置
14日前
トヨタ自動車株式会社
車両のエンジンルーム構造
1日前
トヨタ自動車株式会社
過給エンジンの換気システム
7日前
株式会社SUBARU
硫黄除去方法
16日前
マレリ株式会社
排気ガス処理装置及び混合装置
6日前
三菱重工業株式会社
蒸気タービン翼及び蒸気タービン
12日前
トヨタ自動車株式会社
車両診断装置
12日前
イビデン株式会社
マット材及び保持シール材
6日前
三菱自動車工業株式会社
エンジンの潤滑装置
6日前
トヨタ自動車株式会社
内燃機関の異常診断装置
1日前
株式会社オティックス
ラッシュアジャスタ
14日前
マツダ株式会社
車載エンジンのCO2回収システム
5日前
マツダ株式会社
車載エンジンのCO2回収システム
5日前
株式会社豊田自動織機
内燃機関の制御システム
1日前
いすゞ自動車株式会社
内燃機関ユニット及び車両
16日前
いすゞ自動車株式会社
オイル供給機構、内燃機関ユニット及び車両
16日前
日本碍子株式会社
ハニカム構造体、電気加熱式担体及び排気ガス浄化装置
5日前
三菱重工業株式会社
タービン架台及びタービン装置並びにタービン架台の製造方法
5日前
三菱重工業株式会社
濃度算出装置、燃焼制御装置、濃度算出方法及び濃度算出プログラム
6日前
続きを見る
他の特許を見る