TOP
|
特許
|
意匠
|
商標
特許ウォッチ
Twitter
他の特許を見る
公開番号
2025151687
公報種別
公開特許公報(A)
公開日
2025-10-09
出願番号
2024053235
出願日
2024-03-28
発明の名称
エンジンの潤滑装置
出願人
三菱自動車工業株式会社
代理人
個人
,
個人
,
個人
,
個人
,
個人
主分類
F01M
11/00 20060101AFI20251002BHJP(機械または機関一般;機関設備一般;蒸気機関)
要約
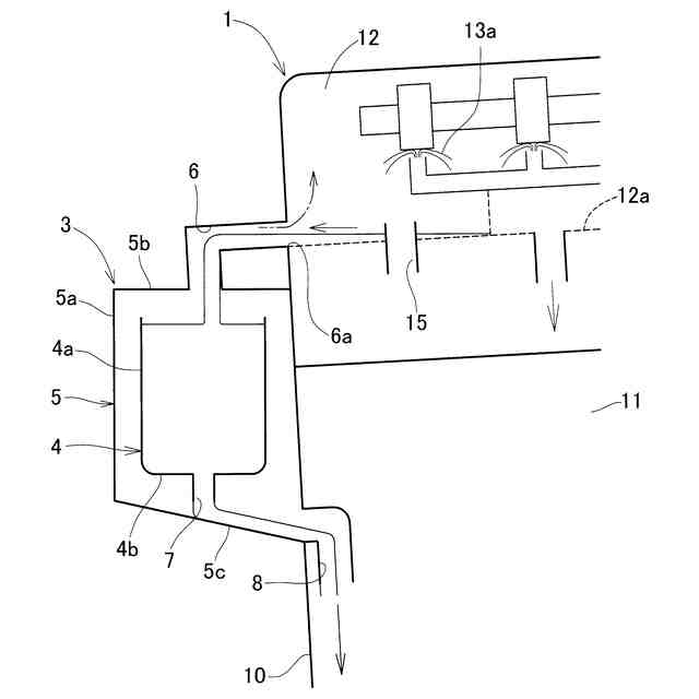
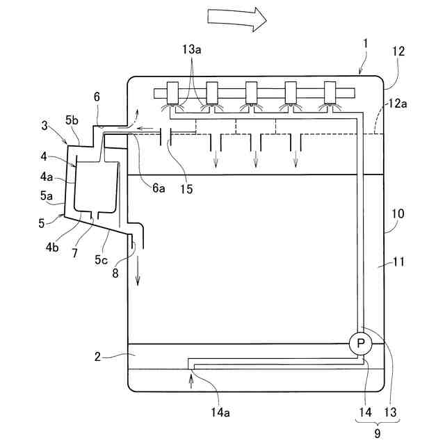
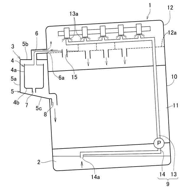
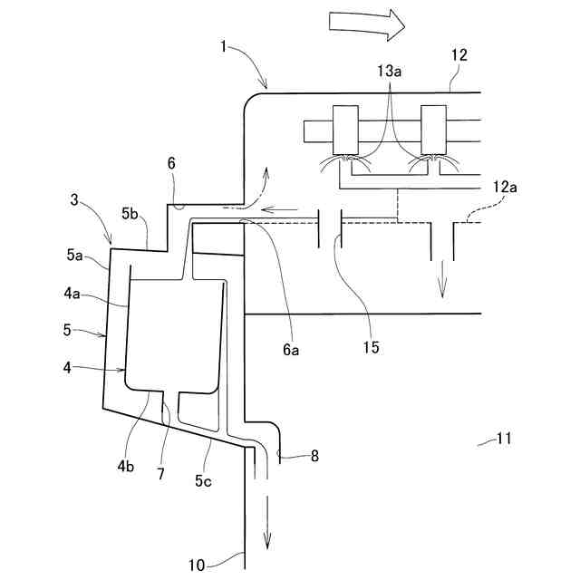
【課題】この発明は、弁やポンプによらずに、オイルパンに戻るオイル量を抑制して、オイルパンの油面を下げるとともに、オイルパン内のオイル量が過少となることを抑制する。
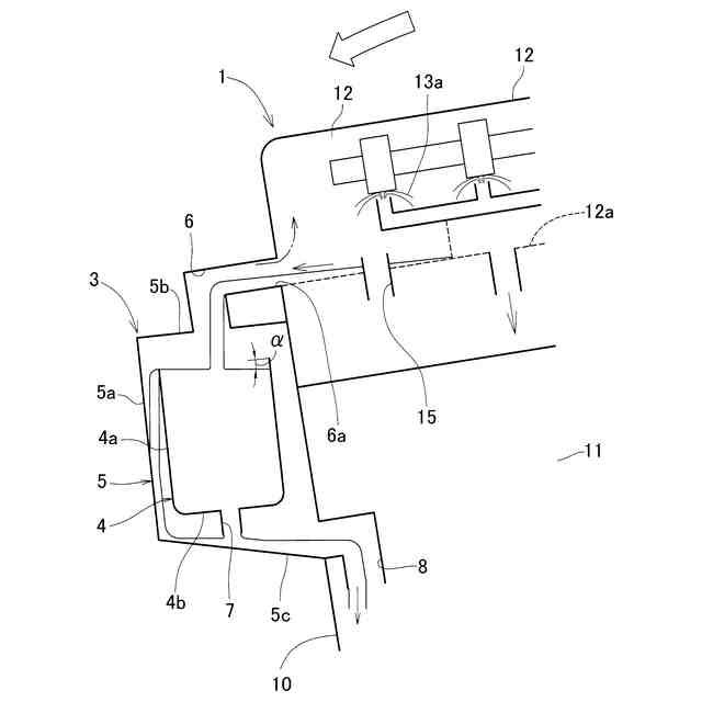
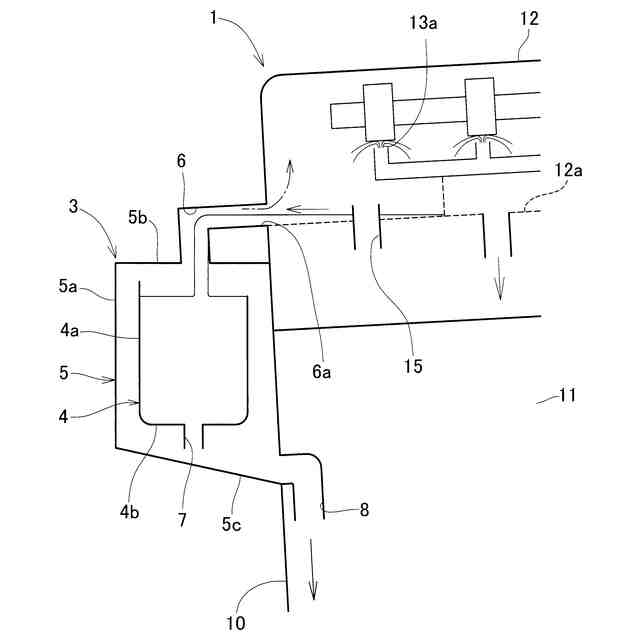
【解決手段】エンジン本体1の下部に設けられるオイルパン2と、オイルパン2より高い位置に設けられ、エンジン本体1から滴下するオイルの一部を受け止めるリザーバタンク3とを有し、リザーバタンク3は、インナータンク4と、インナータンク4との間にすき間が形成される状態で、インナータンク4を覆う収容部5と、エンジン本体1からのオイルをインナータンク4内に供給する第1油路6と、インナータンク4の底部に設けられ、インナータンク4内のオイルを収容部5へ排出する第2油路7と、収容部5内のオイルをオイルパン2へ供給する第3油路8とを有し、第2油路7の油路断面積は第1油路6の油路断面積よりも小さく、第3油路8の油路断面積は第1油路6の油路断面積と同じ大きさである。
【選択図】図1
特許請求の範囲
【請求項1】
エンジン本体の下部に設けられるオイルパンと、前記オイルパンより高い位置に設けられ、エンジン本体から滴下するオイルの一部を受け止めるリザーバタンクとを有し、
前記リザーバタンクは、タンク本体と、前記タンク本体との間にすき間が形成される状態で、前記タンク本体を覆う収容部と、前記エンジン本体からのオイルを前記タンク本体内に供給する第1油路と、前記タンク本体内のオイルを前記収容部へ排出する第2油路と、前記収容部内のオイルを前記オイルパンへ供給する第3油路とを有し、
前記第2油路の油路断面積は前記第1油路の油路断面積よりも小さく、前記第3油路の油路断面積は前記第1油路の油路断面積と同じ大きさであるエンジンの潤滑装置。
続きを表示(約 480 文字)
【請求項2】
前記リザーバタンクは、前記エンジン本体の側面に接するように設けられている請求項1に記載のエンジンの潤滑装置。
【請求項3】
前記第1油路は、上下方向に対して交差する方向に延びて前記エンジン本体に接続され、前記エンジン本体には、上下方向に開口するオイル落とし穴が設けられ、前記エンジン本体での前記第1油路の開口部と前記オイル落とし穴が水平方向に対向し、前記第1油路の開口部の上端は、前記オイル落とし穴よりも高い位置にある請求項1または請求項2に記載のエンジンの潤滑装置。
【請求項4】
前記オイルパン内のオイルをポンプを介して、前記エンジン本体の上部に戻す供給路を有し、
前記タンク本体の上端は、全周のうちの上下方向と直交する方向における一方側に位置する第1部分が、前記一方側と反対側となる他方側に位置する第2部分よりも低くなるように設けられ、
前記供給路の吸込口は、前記オイルパンの上下方向と直交する方向における中央部よりも前記他方側に位置する請求項3に記載のエンジンの潤滑装置。
発明の詳細な説明
【技術分野】
【0001】
この発明は、車両に搭載されたエンジンの潤滑装置に関する。
続きを表示(約 1,600 文字)
【背景技術】
【0002】
一般に、車両に搭載されたエンジンの潤滑装置は、エンジン上方のシリンダヘッドに導入されたオイルが、シリンダブロックに設けられたオイル落とし穴を通過して、エンジン下方に設けられたオイルパンに落ちる構造となっている。オイルパンに溜められたオイルを、オイルポンプで吸い上げてシリンダヘッドに導入する。これを繰り返してオイルが循環されている。
【0003】
ところで、エンジンの潤滑装置は、ピストンの上下運動によりクランクケース内に気圧脈動が発生し、この気圧脈動がピストンの上下運動を阻害し、エンジンの燃費を悪化させる。このため、クランクケース内の気筒間での換気面積を十分に確保し、この気圧脈動の発生を抑制することが重要となる。ここで、一般的には、オイルパンの油面が上昇すると、クランクケース内の気筒間の換気面積が小さくなるので、この点から、オイル上限量は制約を受ける。一方で、エンジンの十分な潤滑を確保するには、オイルパン内のオイル量を多く確保する必要がある。
【0004】
このオイルの上限量の制約に対応するオイルパン内自動供給装置が特許文献1に記載されている。この装置では、シリンダブロックに、補給用ポンプを有する補給用配管を介してリザーブタンクが設けられ、複数の油面検出センサで連続的に検出したオイルパンのオイルの油面レベルから実油面レベルが算出される。その実油面レベルが基準油面レベル以下のときに、リザーブタンクから新油をオイルパンに供給する制御が行われて、オイル量を制御する。
【0005】
また、オイルパンに制御弁を有する供給管を介して補助オイルタンクを設け、補助オイルタンクの内部空間とエンジンの内部空間とを制御弁を有する連通管を介して接続し、各制御弁の制御により、オイル量を制御するエンジンのオイル供給装置が特許文献2に記載されている。
【0006】
さらに、オイルパンの内部に、主室と、隔壁によりその主室から区画された副室とが設けられたオイルパンセパレータを有するエンジンの潤滑装置が特許文献3に記載されている。この装置では、主室は、その上面がシリンダブロックに向けて開放され、オイルをシリンダブロック側へ供給するストレーナの吸引口が配され、副室は、上面がシリンダブロックに向けて開放されている。副室の底部には、副室内のオイルを主室に流出させる流出孔が設けられている。この流出孔は、副室内から主室内への流出量がシリンダブロックか側から副室内へのオイルの流入量よりも少なくなるように設定され、副室内にオイルを溜めることにより、オイル量を調整している。
【先行技術文献】
【特許文献】
【0007】
特開平06-323121号公報
特開平05-240018号公報
特開2014-105646号公報
【発明の概要】
【発明が解決しようとする課題】
【0008】
特許文献1に記載のオイルパン内自動供給装置や、特許文献2に記載のエンジンのオイル供給装置では、オイルパンへのオイルの供給量を調整するために、補給用配管や供給管などに弁を設けたり、供給用ポンプを設けたりしているため、装置が複雑化する。
【0009】
また、特許文献3に記載のオイルパンセパレータでは、副室から主室へ流出するオイルの量の分だけオイルパンに戻ることとなり、オイルパンに戻るオイル量を抑制することができない。
【0010】
そこで、この発明は、弁やポンプによらずに、オイルパンに戻るオイル量を抑制して、オイルパンの油面を下げるとともに、オイルパン内のオイル量が過少となることを抑制することを課題とする。
【課題を解決するための手段】
(【0011】以降は省略されています)
この特許をJ-PlatPat(特許庁公式サイト)で参照する
関連特許
三菱自動車工業株式会社
オイルパン
25日前
株式会社豊田自動織機
エンジン式産業車両
1か月前
トヨタ自動車株式会社
計測システム
1か月前
本田技研工業株式会社
排気装置
1か月前
本田技研工業株式会社
排気装置
1か月前
本田技研工業株式会社
排気装置
1か月前
株式会社クボタ
多目的車両
1か月前
株式会社SUBARU
エンジン制御装置
9日前
株式会社クボタ
多目的車両
1か月前
トヨタ自動車株式会社
エンジンシステム
1か月前
トヨタ自動車株式会社
異常診断装置
17日前
トヨタ自動車株式会社
油量判定装置
10日前
トヨタ自動車株式会社
水素エンジン
23日前
マレリ株式会社
消音器
1か月前
三浦工業株式会社
船舶用発電システム
1か月前
フタバ産業株式会社
消音器
1か月前
株式会社アイシン
冷却モジュール
9日前
フタバ産業株式会社
排気系部品
1か月前
トヨタ自動車株式会社
内燃機関の制御装置
1か月前
トヨタ自動車株式会社
内燃機関の制御装置
23日前
株式会社SUBARU
車両
1か月前
日産自動車株式会社
内燃機関
9日前
トヨタ自動車株式会社
内燃機関の制御装置
18日前
マツダ株式会社
排気システム
1か月前
マツダ株式会社
排気システム
1か月前
株式会社アイシン
弁開閉時期制御装置
1か月前
トヨタ自動車株式会社
過給エンジンの制御装置
1か月前
三菱重工業株式会社
主蒸気管洗浄方法
1か月前
帝人エンジニアリング株式会社
排ガス処理装置
1か月前
トヨタ自動車株式会社
内燃機関の異常検出装置
1か月前
株式会社豊田自動織機
排気浄化装置
26日前
三菱重工業株式会社
メタン酸化触媒装置
1か月前
トヨタ自動車株式会社
車両のエンジンルーム構造
1か月前
株式会社豊田自動織機
排気管
1か月前
ヤンマーホールディングス株式会社
エンジン装置
1か月前
トヨタ自動車株式会社
過給エンジンの換気システム
1か月前
続きを見る
他の特許を見る