TOP
|
特許
|
意匠
|
商標
特許ウォッチ
Twitter
他の特許を見る
公開番号
2025145141
公報種別
公開特許公報(A)
公開日
2025-10-03
出願番号
2024045169
出願日
2024-03-21
発明の名称
内燃機関の異常検出装置
出願人
トヨタ自動車株式会社
代理人
個人
,
個人
主分類
F01M
13/00 20060101AFI20250926BHJP(機械または機関一般;機関設備一般;蒸気機関)
要約
【課題】ブローバイガスを吸気側に戻すPCVの異常を精度良く検出できる内燃機関の異常検出装置を提供する。
【解決手段】ブローバイガスを貯留部22から還流路26を介して過給器9の吸入側に送り、吸入空気量が予め定めた所定値以上の状態での貯留部22の圧力に基づいて判定パラメータを求めるとともに判定パラメータに基づいて還流路での異常を判定するエンジン1の異常検出装置であって、判定パラメータを求める場合の吸入空気量を、エンジンの吸気管圧力(27)と、エンジンの回転数(31)と、エンジンでの燃焼によって生じた排ガス中の空燃比(29)とに基づいて算出する吸入空気量算出部を備えている。
【選択図】図1
特許請求の範囲
【請求項1】
ブローバイガスを貯留部から還流路を介して過給器の吸入側に送り、吸入空気量が予め定めた所定値以上の状態での前記貯留部の圧力に基づいて判定パラメータを求めるとともに前記判定パラメータに基づいて前記還流路での異常を判定するエンジンの異常検出装置であって、
前記判定パラメータを求める場合の前記吸入空気量を、前記エンジンの吸気管圧力と、前記エンジンの回転数と、前記エンジンでの燃焼によって生じた排ガス中の空燃比とに基づいて算出する吸入空気量算出部を備えている
ことを特徴とするエンジンの異常検出装置。
発明の詳細な説明
【技術分野】
【0001】
本発明は、ブローバイガスを吸気路に還流させるブローバイガス流路を備えた内燃機関の異常を検出する装置に関し、特に過給器を備え、その過給器の吸入側にブローバイガスを還流させるように構成した内燃機関におけるPCV(Positive Crankcase Ventilation)の異常を検出する装置に関するものである。
続きを表示(約 2,600 文字)
【背景技術】
【0002】
ブローバイガスは、未燃焼のままクランクケースなどに入り込んで気化している燃料であり、あるいはオイルに溶け込んだ後に気化した燃料であり、大気に放出することなく燃焼させるなどの処理を施すことが必要である。PCV(Positive Crankcase Ventilation)は、そのための処理手段であり、例えば特許文献1に記載されているようにクランクケースとヘッドカバーとを連通させ、そのヘッドカバーと過給器の吸気側とをブローバイガス通路によって連通させ、またヘッドカバーとインテークマニホールドとの間に吸気負圧で開くPCVバルブを設けている。
【0003】
ブローバイガス通路は、例えばエンジンに対していわゆる後付けしたホースによって構成され、エンジンコンパートメント内に露出した状態に置かれる。そのため、ブローバイガス通路が劣化して穴もしくは亀裂が生じたり、あるいはヘッドカバーや過給器に対する接続部が外れたりして大気に連通してしまう場合がある。そのような異常が生じた場合、エンジンの吸気圧に変動があっても、ブローバイガス通路には大気(外気)が流入し、また内部の気体が流出するので、ブローバイガス通路の内圧が大きくは低下せず、あるいは大きくは変動しない。すなわち、穴や亀裂などにより外気が入り込む異常が生じれば、ブローバイガス通路の内圧の異常として現れるので、特許文献1に記載された発明では、ブローバイガス通路の内圧を検出するセンサを設け、そのセンサの検出値あるいは内圧の変動に基づいて、ブローバイガス通路の異常を検出することとしている。
【先行技術文献】
【特許文献】
【0004】
特開2020-186702号公報
【発明の概要】
【発明が解決しようとする課題】
【0005】
上述した特許文献1に記載された装置では、吸入空気量を増大させた場合あるいは減少させた場合のブローバイガス通路の圧力あるいはその変動に基づいて異常の有無の判定を行っている。その圧力あるいはその変動の正常時と異常時との差異は吸入空気量が多い場合に大きくなる。そのため、異常の有無の判定は、吸入空気量がある程度多い場合に行うことになる。特許文献1の記載によれば、その吸入空気量はエアーフローメータによって検出することとしている。エアーフローメータは、通常、エアーフィルタに内蔵し、あるいはエアーフィルタを通過した空気量を検出するように構成されている。これに対して、ブローバイガスの吸気に対する合流箇所は、エアーフィルタの下流側(すなわちエアーフローメータの下流側)とするのが通常である。そのため、過給を行うなどのことによって、ブローバイガス通路を介して吸引を生じさせた場合、ブローバイガス通路を介して吸入した気体の量は、エアーフローメータの検出値に現れない。特許文献1に記載された装置は、エアーフローメータによって検出した空気量に応じてブローバイガス通路の破損などの異常の判定もしくは検出を行うように構成されているので、そのような異常によって実際の吸入空気量が多くなっている場合でも、エアーフローメータの検出値が小さいことにより、吸入空気量が少ないことを前提もしくは条件として異常の判定もしくは検出を行うことになり、異常の判定もしくは検出の精度が必ずしも高くならないなどの可能性がある。また、ブローバイガス通路の穴開きなどの異常によって吸入空気量を実際より少なく検出してしまい、それに伴って異常の判定のためのパラメータを求める機会が少なくなって、異常の検出を確実には行えないなどの可能性がある。
【0006】
本発明は上記の事情を背景としてなされたものであって、ブローバイガスを吸気側に戻すPCVの異常を精度良く検出できる内燃機関の異常検出装置を提供することを目的とするものである。
【課題を解決するための手段】
【0007】
本発明は、上記の目的を達成するために、ブローバイガスを貯留部から還流路を介して過給器の吸入側に送り、吸入空気量が予め定めた所定値以上の状態での前記貯留部の圧力に基づいて判定パラメータを求めるとともに前記判定パラメータに基づいて前記還流路での異常を判定するエンジンの異常検出装置であって、前記判定パラメータを求める場合の前記吸入空気量を、前記エンジンの吸気管圧力と、前記エンジンの回転数と、前記エンジンでの燃焼によって生じた排ガス中の空燃比とに基づいて算出する吸入空気量算出部を備えていることを特徴とするものである。
【発明の効果】
【0008】
本発明によれば、シリンダに吸入する空気量を、吸気管圧力とエンジン回転数と排ガス中の空燃比とに基づいて算出するから、判定パラメータを求める場合の吸入空気量を正確に算出できる。すなわち、還流路を通って過給器に到る気体がエアーフローメータを通らない構成の場合、還流路に穴開きなどの異常によって外気を吸入してしまう場合には、吸入空気量がエアーフローメータで得られる量より多くなるが、本発明では、そのようなエアーフローメータによらずに、実吸入空気量を算出するから、判定パラメータを求める際の吸入空気量を正確なものとすることができる。言い換えれば、吸入空気量を実際より少なく求めてしまったり、それに伴って判定パラメータを求める機会(すなわち異常判定の機会)が少なくなってしまったりすることを回避もしくは抑制することができる。
【図面の簡単な説明】
【0009】
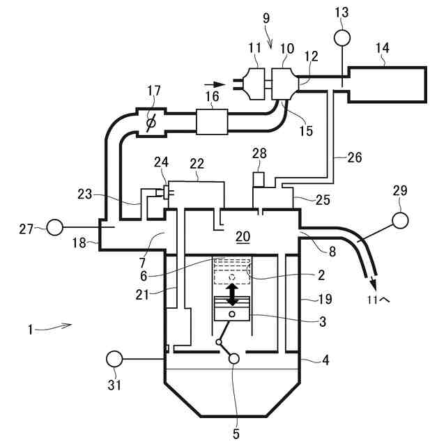
本発明の一実施形態を、コントローラを除いて示す模式図である。
コントローラの機能的構成を示すブロック図である。
PCV異常の検出を行った場合の車速、吸入空気量、計算回数、PCV圧力、判定(検出)パラメータの変化の一例を示すタイムチャートである。
【発明を実施するための形態】
【0010】
つぎに、本発明の実施の形態を添付の図面を参照して説明する。なお、以下に説明する実施形態は本発明を実施した場合の一例に過ぎないのであって、本発明を限定するものではない。
(【0011】以降は省略されています)
この特許をJ-PlatPat(特許庁公式サイト)で参照する
関連特許
トヨタ自動車株式会社
計測システム
11日前
株式会社豊田自動織機
エンジン式産業車両
17日前
本田技研工業株式会社
排気装置
16日前
本田技研工業株式会社
排気装置
16日前
本田技研工業株式会社
排気装置
16日前
株式会社クボタ
多目的車両
9日前
トヨタ自動車株式会社
エンジンシステム
23日前
株式会社クボタ
多目的車両
9日前
トヨタ自動車株式会社
水素エンジン
2日前
マレリ株式会社
消音器
17日前
フタバ産業株式会社
消音器
25日前
三浦工業株式会社
船舶用発電システム
23日前
トヨタ自動車株式会社
内燃機関の制御装置
2日前
フタバ産業株式会社
排気系部品
25日前
マツダ株式会社
排気システム
18日前
マツダ株式会社
排気システム
18日前
株式会社アイシン
弁開閉時期制御装置
19日前
三菱重工業株式会社
主蒸気管洗浄方法
23日前
トヨタ自動車株式会社
内燃機関の異常検出装置
23日前
帝人エンジニアリング株式会社
排ガス処理装置
23日前
株式会社豊田自動織機
排気管
23日前
トヨタ自動車株式会社
車両のエンジンルーム構造
12日前
三菱重工業株式会社
メタン酸化触媒装置
16日前
株式会社豊田自動織機
排気浄化装置
5日前
ヤンマーホールディングス株式会社
エンジン装置
25日前
トヨタ自動車株式会社
過給エンジンの換気システム
18日前
トヨタ自動車株式会社
車両の制御装置
9日前
株式会社SUBARU
硫黄除去方法
27日前
三菱自動車工業株式会社
オイルパン
4日前
トヨタ自動車株式会社
冷却システム
3日前
イビデン株式会社
マット材及び保持シール材
17日前
マレリ株式会社
排気ガス処理装置及び混合装置
17日前
トヨタ自動車株式会社
車両診断装置
23日前
三菱重工業株式会社
蒸気タービン翼及び蒸気タービン
23日前
株式会社オティックス
ラッシュアジャスタ
25日前
三菱自動車工業株式会社
エンジンの潤滑装置
17日前
続きを見る
他の特許を見る