TOP
|
特許
|
意匠
|
商標
特許ウォッチ
Twitter
他の特許を見る
公開番号
2025149282
公報種別
公開特許公報(A)
公開日
2025-10-08
出願番号
2024049828
出願日
2024-03-26
発明の名称
過給エンジンの換気システム
出願人
トヨタ自動車株式会社
代理人
個人
,
個人
主分類
F01M
13/00 20060101AFI20251001BHJP(機械または機関一般;機関設備一般;蒸気機関)
要約
【課題】エマルジョンの発生を抑制する。
【解決手段】過給エンジン10の換気システムは、吸気通路21におけるスロットルバルブ27よりも下流側の部分とクランクケース15とを連通する第1通路R1、吸気通路21におけるコンプレッサ24よりも上流側の部分とクランクケース15とを連通する第2通路R2、第2通路R2に設置された第1オイルセパレータ48、吸気通路21におけるコンプレッサ24よりも下流側の部分と第1オイルセパレータ48とを連通する第3通路R3、及び第3通路R3に設置されて、第3通路R3を通じた第1オイルセパレータ48から吸気通路21に向うガスの流れを制限する一方向弁50、を備えている。
【選択図】図1
特許請求の範囲
【請求項1】
吸気通路に設置されたコンプレッサと、前記吸気通路における前記コンプレッサよりも下流側の部分に設置されたスロットルバルブと、を備える過給エンジンのクランクケースを換気する換気システムであって、
前記吸気通路における前記コンプレッサよりも下流側の部分と前記クランクケースとを連通する第1通路と、
前記吸気通路における前記コンプレッサよりも上流側の部分と前記クランクケースとを連通する第2通路と、
前記第2通路に設置されたオイルセパレータと、
前記吸気通路における前記コンプレッサよりも下流側の部分と前記オイルセパレータとを連通する第3通路と、
前記第3通路を通じた前記オイルセパレータから前記吸気通路に向うガスの流れを制限する一方向弁と、
を備える過給エンジンの換気システム。
続きを表示(約 500 文字)
【請求項2】
前記第1通路の最小流路面積は、前記第3通路の最小流路面積よりも大きくされており、かつ前記第2通路の最小流路面積は、前記第1通路の最小流路面積よりも大きくされている請求項1に記載の過給エンジンの換気システム。
【請求項3】
前記過給エンジンは、前記吸気通路における前記コンプレッサよりも下流側、かつ前記スロットルバルブよりも上流側の部分に設置されたインタークーラを有しており、
前記第3通路は、前記吸気通路における前記コンプレッサよりも下流側、かつ前記インタークーラよりも上流側の部分に接続されている
請求項1に記載の過給エンジンの換気システム。
【請求項4】
前記第3通路は、前記第1通路から分岐して前記オイルセパレータに繋がるように構成されており、
前記一方向弁は、前記第1通路における前記第3通路の分岐位置よりも前記吸気通路に近い部分に設置されている
請求項1に記載の過給エンジンの換気システム。
【請求項5】
前記過給エンジンの燃料は、水素である請求項1に記載の過給エンジンの換気システム。
発明の詳細な説明
【技術分野】
【0001】
本発明は、過給エンジンの換気システムに関する。
続きを表示(約 2,500 文字)
【背景技術】
【0002】
上記のようなブローバイガス換気システムとして従来、特許文献1に記載のシステムが知られている。このブローバイガス換気システムは、吸気通路におけるインタークーラよりも下流の部分とクランクケースとを連通する第1通路と、吸気通路におけるコンプレッサよりも上流側の部分とクランクケースとを連通する第2通路と、を備えている。同換気システムは、過給エンジンの過給運転時に、第1通路を通じて、コンプレッサにより加圧された吸気をクランクケースに導入する。そして、導入した吸気の圧力により、クランクケース内のブローバイガスを押し出して、第2通路を通じて吸気通路に還流することで、クランクケースの換気を行っている。また、上記換気システムは、第2通路に設置されたオイルセパレータを有している。そして、そのオイルセパレータにより、吸気通路に還流するブローバイガス中のオイルを分離している。
【先行技術文献】
【特許文献】
【0003】
特開2008-111422号公報
【発明の概要】
【発明が解決しようとする課題】
【0004】
クランクケース内のブローバイガスには、水分が含まれている。上記従来の換気システムでは、オイルセパレータでの分離に際して、ブローバイガス中の水分がオイルに混入することで、エマルジョンが発生する可能性がある。
【課題を解決するための手段】
【0005】
上記課題を解決する過給エンジンの換気システムは、吸気通路に設置されたコンプレッサと、前記吸気通路における前記コンプレッサよりも下流側の部分に設置されたスロットルバルブと、を備える過給エンジンのクランクケースを換気する換気システムであって、前記吸気通路における前記スロットルバルブよりも下流側の部分と前記クランクケースとを連通する第1通路と、前記吸気通路における前記コンプレッサよりも上流側の部分と前記クランクケースとを連通する第2通路と、前記第2通路に設置されたオイルセパレータと、前記吸気通路における前記コンプレッサよりも下流側の部分と前記オイルセパレータとを連通する第3通路と、前記第3通路に設置されて、同第3通路を通じた前記オイルセパレータから前記吸気通路に向うガスの流れを制限する一方向弁と、を備えている。
【発明の効果】
【0006】
上記過給エンジンの換気システムには、エマルジョンの発生を抑制する効果がある。
【図面の簡単な説明】
【0007】
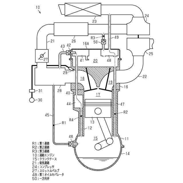
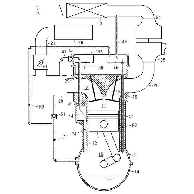
過給エンジンの換気システムの一実施形態の構成を模式的に示す図である。
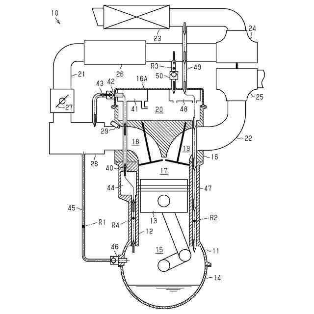
過給エンジンの自然吸気運転時における換気システムのガスの流れを示す図である。
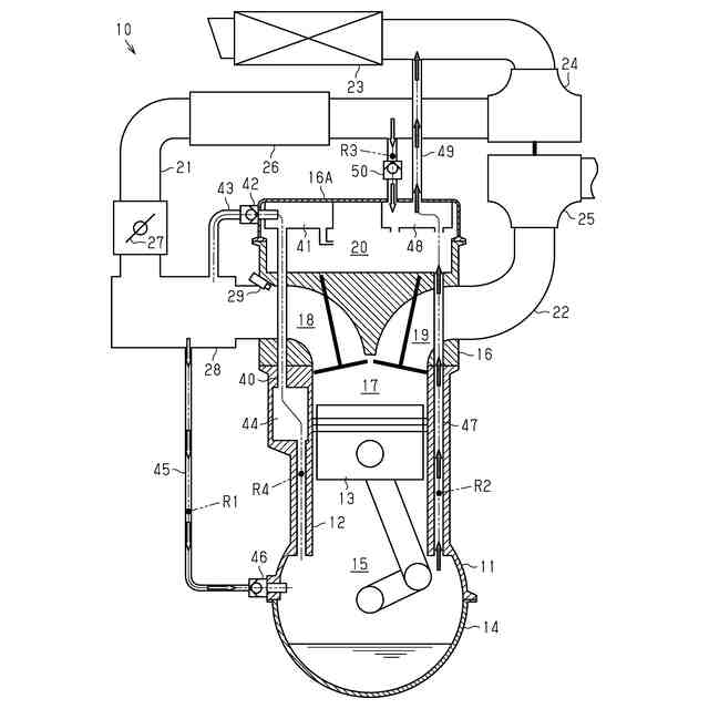
過給エンジンの過給運転時における換気システムのガスの流れを示す図である。
過給エンジンの換気システムの変更例の構成を模式的に示す図である。
【発明を実施するための形態】
【0008】
以下、過給エンジンの換気システムの一実施形態を、図1~図3を参照して詳細に説明する。
<過給エンジン10の構成>
まず、図1を参照して、本実施形態の換気システムを採用する過給エンジン10の構成を説明する。図1に示す過給エンジン10は、水素を燃料とする水素エンジンである。なお、水素エンジンでは、可燃な水素がブローバイガスに含まれる場合がある。そのため、水素エンジンには、ガソリンエンジンやディーゼルエンジンの場合よりも高いブローバイガスの換気性能が要求されている。
【0009】
過給エンジン10は、シリンダブロック11を備えている。シリンダブロック11の内部には、複数のシリンダ12が形成されている。図1には、複数のシリンダ12のうちの一つのみが表示されている。各シリンダ12にはそれぞれ、ピストン13が往復動自在に収容されている。シリンダ12におけるピストン13よりも上側の部分には、水素を燃焼する燃焼室17が形成されている。シリンダブロック11の下部には、オイルを貯留するオイルパン14が取り付けられている。シリンダブロック11の内部におけるシリンダ12よりも下側の部分には、クランクケース15が形成されている。シリンダブロック11の上部には、シリンダヘッド16が取り付けられている。シリンダヘッド16の内部には、シリンダ12毎にそれぞれ個別の吸気ポート18及び排気ポート19が形成されている。シリンダヘッド16の上側には、ヘッドカバー16Aが取り付けられている。ヘッドカバー16Aで覆われたシリンダヘッド16の上部内側には、動弁機構を収容する動弁室20が形成されている。
【0010】
過給エンジン10は、燃焼室17への空気の導入路である吸気通路21と、燃焼室17からの排気の排出路である排気通路22と、を備えている。吸気通路21には、空気中の塵等を濾過するエアクリーナ23が設けられている。吸気通路21におけるエアクリーナ23よりも下流側の部分には、コンプレッサ24が設置されている。コンプレッサ24は、排気通路22に設置されたタービン25とともにターボチャージャを構成する。吸気通路21におけるコンプレッサ24よりも下流側の部分には、インタークーラ26が設置されている。インタークーラ26は、コンプレッサ24での圧縮により高温となった空気を冷却するための熱交換器である。吸気通路21におけるインタークーラ26よりも下流側の部分には、スロットルバルブ27が設置されている。スロットルバルブ27は、吸気通路21を通じて燃焼室17に送られる空気の流量を調整するためのバルブである。吸気通路21は、スロットルバルブ27よりも下流側の部分に設けられたインテークマニホールド28において、シリンダ12別に分岐されている。インテークマニホールド28は、吸気ポート18を通じて燃焼室17に接続されている。
(【0011】以降は省略されています)
この特許をJ-PlatPat(特許庁公式サイト)で参照する
関連特許
トヨタ自動車株式会社
車両
18日前
トヨタ自動車株式会社
電池
18日前
トヨタ自動車株式会社
配管
19日前
トヨタ自動車株式会社
車両
4日前
トヨタ自動車株式会社
方法
3日前
トヨタ自動車株式会社
車両
19日前
トヨタ自動車株式会社
電池
10日前
トヨタ自動車株式会社
電池
10日前
トヨタ自動車株式会社
電池
24日前
トヨタ自動車株式会社
タンク
3日前
トヨタ自動車株式会社
電動車
19日前
トヨタ自動車株式会社
ロータ
19日前
トヨタ自動車株式会社
電動車
18日前
トヨタ自動車株式会社
蓄電装置
10日前
トヨタ自動車株式会社
蓄電装置
10日前
トヨタ自動車株式会社
蓄電装置
10日前
トヨタ自動車株式会社
蓄電装置
10日前
トヨタ自動車株式会社
学習装置
18日前
トヨタ自動車株式会社
車両装置
10日前
トヨタ自動車株式会社
塗工装置
10日前
トヨタ自動車株式会社
エンジン
19日前
トヨタ自動車株式会社
蓄電装置
10日前
トヨタ自動車株式会社
蓄電装置
10日前
トヨタ自動車株式会社
蓄電装置
18日前
トヨタ自動車株式会社
蓄電装置
18日前
トヨタ自動車株式会社
蓄電装置
10日前
トヨタ自動車株式会社
蓄電装置
10日前
トヨタ自動車株式会社
エンジン
18日前
トヨタ自動車株式会社
制御装置
19日前
トヨタ自動車株式会社
エンジン
10日前
トヨタ自動車株式会社
制御装置
18日前
トヨタ自動車株式会社
制御装置
19日前
トヨタ自動車株式会社
コネクタ
18日前
トヨタ自動車株式会社
制御装置
3日前
トヨタ自動車株式会社
蓄電装置
10日前
トヨタ自動車株式会社
制御装置
19日前
続きを見る
他の特許を見る