TOP
|
特許
|
意匠
|
商標
特許ウォッチ
Twitter
他の特許を見る
公開番号
2025140098
公報種別
公開特許公報(A)
公開日
2025-09-29
出願番号
2024039274
出願日
2024-03-13
発明の名称
車両
出願人
株式会社SUBARU
代理人
弁理士法人太田特許事務所
主分類
F01M
9/10 20060101AFI20250919BHJP(機械または機関一般;機関設備一般;蒸気機関)
要約
【課題】ターボチャージャがエンジン下方に配置される車両において、オイル吸い上げのためのオイル循環ポンプを使用せずキャッチタンクから潤滑オイルを吸い上げる。
【解決手段】本開示の一形態における車両は、エンジンと燃料ポンプとを接続してオリフィス部を介して当該燃料ポンプの摺動部へ潤滑オイルを流通させる燃料ポンプ焼き付き防止流路と、キャッチタンクとオリフィス部とを接続してキャッチタンクに貯留された潤滑オイルを吸い上げる吸い上げ流路と、を備え、オイルポンプから燃料ポンプへ供給された潤滑オイルがオリフィス部を通過することで生ずる負圧を介したエジェクタ作用によって、キャッチタンクから潤滑オイルが吸い上げられてキャッチタンクから燃料ポンプ焼き付き防止流路に潤滑オイルが合流する。
【選択図】 図1
特許請求の範囲
【請求項1】
エンジンと、
前記エンジンに燃料を供給する燃料ポンプと、
前記エンジンよりも重力方向下側に配置されて前記エンジンに供給される吸入空気を圧縮するターボチャージャと、
前記エンジン、前記燃料ポンプおよび前記ターボチャージャにそれぞれ潤滑オイルを供給するオイルポンプと、
前記ターボチャージャよりも重力方向下側に配置されて前記ターボチャージャから排出された前記潤滑オイルを貯留するキャッチタンクと、
前記エンジンと前記燃料ポンプとを接続して、前記潤滑オイルが流通する流路断面積が縮小されたオリフィス部を備えて前記燃料ポンプに前記潤滑オイルを供給する燃料ポンプ焼き付き防止流路と、
前記キャッチタンクと前記オリフィス部とを接続して、前記キャッチタンクに貯留された前記潤滑オイルを吸い上げる吸い上げ流路と、を備え、
前記オイルポンプから前記燃料ポンプへ供給された潤滑オイルが前記オリフィス部を通過することで生ずる負圧を介したエジェクタ作用によって、前記キャッチタンクから前記潤滑オイルが吸い上げられて前記キャッチタンクから前記燃料ポンプ焼き付き防止流路に前記潤滑オイルが合流される、車両。
続きを表示(約 260 文字)
【請求項2】
前記ターボチャージャは、前記エンジンの底部に設けられたオイルパンよりも重力方向下側に配置されてなる、請求項1に記載の車両。
【請求項3】
前記オリフィス部は、
前記オイルポンプからの潤滑オイルが流通するメイン流路と、
前記メイン流路の流路断面積が絞られる絞り部と、
前記絞り部の下流側で負圧が発生する負圧発生領域と、
前記負圧発生領域に対して前記吸い上げ流路が接続される流路合流部と、
を含んで構成されてなる、請求項1又は2に記載の車両。
発明の詳細な説明
【技術分野】
【0001】
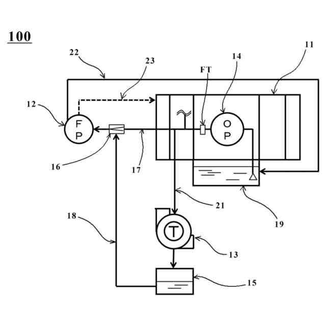
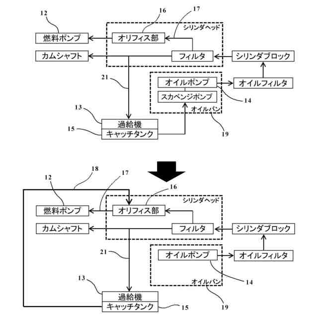
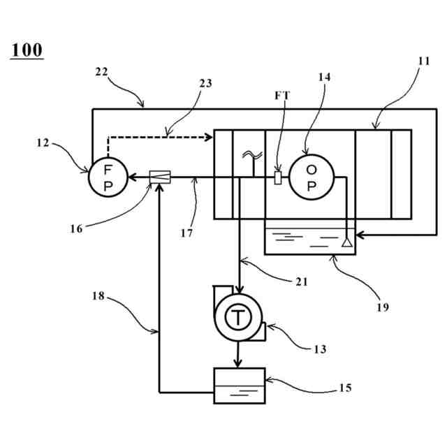
本開示は、例えばターボチャージャ(過給機)がエンジンよりも鉛直方向下方に配置された車両に関する。
続きを表示(約 1,800 文字)
【背景技術】
【0002】
自動車に搭載されるエンジンとして水平対向エンジンが既知である。水平対向エンジンでは、クランクシャフトを中心に左右対称に対向して横置きされたピストンがそれぞれ往復運動することで、互いの慣性力を打ち消して低振動でスムーズな駆動が実現される。
【0003】
かような水平対向エンジンでは、一例として、エンジンの直下にターボチャージャ(過給機)が配置され得る。ターボチャージャは、エンジンのオイルパン内に貯留された潤滑オイルが供給されることでスムーズな駆動が実現されている。なお特許文献1に例示されるように、ターボチャージャに供給された潤滑オイルは、その自重でオイルキャッチタンク(以下、「キャッチタンク」とも称する)に貯留されて再び利用され得る。
【先行技術文献】
【特許文献】
【0004】
特開2009-197636号公報
【発明の概要】
【発明が解決しようとする課題】
【0005】
しかしながら上述した各特許文献に限らず現在の技術では以下に述べる課題が存在する。
すなわちターボチャージャがエンジン下方に設置されるレイアウトを採用する場合には、オイルパンがキャッチタンクよりも鉛直上方に配置されることとなり、このためキャッチタンクから潤滑オイルを吸い上げるためのオイル循環ポンプが別途必要となってコスト増となる。
【0006】
本開示は、上記した課題を一例に鑑みて為されたものであり、ターボチャージャがエンジン下方に配置される車両において、上記吸い上げのためのオイル循環ポンプを使用せずコストを抑制しつつキャッチタンクから潤滑オイルを吸い上げることが可能な車両を提供することを目的とする。
【課題を解決するための手段】
【0007】
上記課題を解決するため、本開示の一形態における車両は、エンジンと、前記エンジンに燃料を供給する燃料ポンプと、前記エンジンよりも重力方向下側に配置されて前記エンジンに供給される吸入空気を圧縮するターボチャージャと、前記エンジン、前記燃料ポンプおよび前記ターボチャージャにそれぞれ潤滑オイルを供給するオイルポンプと、前記ターボチャージャよりも重力方向下側に配置されて前記ターボチャージャから排出された前記潤滑オイルを貯留するキャッチタンクと、前記エンジンと前記燃料ポンプとを接続して、前記潤滑オイルが流通する流路断面積が縮小されたオリフィス部を備えて前記燃料ポンプに前記潤滑オイルを供給する燃料ポンプ焼き付き防止流路と、前記キャッチタンクと前記オリフィス部とを接続して、前記キャッチタンクに貯留された前記潤滑オイルを吸い上げる吸い上げ流路と、を備え、前記オイルポンプから前記燃料ポンプへ供給された潤滑オイルが前記オリフィスを通過することで生ずる負圧を介したエジェクタ作用によって、前記キャッチタンクから前記潤滑オイルが吸い上げられて前記キャッチタンクから前記燃料ポンプ焼き付き防止流路に前記潤滑オイルが合流される。
【発明の効果】
【0008】
本開示の車両によれば、燃料ポンプへ供給された潤滑オイルがオリフィスを通過することで生ずる負圧を介したエジェクタ作用によってキャッチタンクから潤滑オイルが吸い上げられる。これによりオイル循環ポンプを用いずコストを抑制しつつキャッチタンクから潤滑オイルを吸い上げることが可能となる。
【図面の簡単な説明】
【0009】
本実施形態における車両の要部と、エンジン周囲における潤滑オイルの流通状態の一部をそれぞれ示す模式図である。
本実施形態における燃料ポンプ焼き付き防止流路に設けられたオリフィス部の構造を例示する模式図である。
本実施形態の車両におけるキャッチタンクから吸い上げられる潤滑オイルの流通態様を比較する模式図である。
【発明を実施するための形態】
【0010】
次に本開示を実施するための好適な実施形態について説明する。なお本開示に直接関係のない要素や構造に関する図示は適宜省略する場合がある。従って以下で詳述する構成以外のエンジンや車両構造については、例えば上記した特許文献や、公知の水平対向エンジンの構造やその他の公知の構造を適宜補完して実施してもよい。
(【0011】以降は省略されています)
この特許をJ-PlatPat(特許庁公式サイト)で参照する
関連特許
トヨタ自動車株式会社
計測システム
12日前
株式会社豊田自動織機
エンジン式産業車両
18日前
本田技研工業株式会社
排気装置
17日前
本田技研工業株式会社
排気装置
17日前
本田技研工業株式会社
排気装置
17日前
株式会社クボタ
多目的車両
10日前
トヨタ自動車株式会社
エンジンシステム
24日前
株式会社クボタ
多目的車両
10日前
トヨタ自動車株式会社
水素エンジン
3日前
フタバ産業株式会社
消音器
26日前
三浦工業株式会社
船舶用発電システム
24日前
マレリ株式会社
消音器
18日前
フタバ産業株式会社
排気系部品
26日前
トヨタ自動車株式会社
内燃機関の制御装置
3日前
マツダ株式会社
排気システム
19日前
マツダ株式会社
排気システム
19日前
株式会社アイシン
弁開閉時期制御装置
20日前
三菱重工業株式会社
主蒸気管洗浄方法
24日前
帝人エンジニアリング株式会社
排ガス処理装置
24日前
トヨタ自動車株式会社
内燃機関の異常検出装置
24日前
三菱重工業株式会社
メタン酸化触媒装置
17日前
株式会社豊田自動織機
排気浄化装置
6日前
ヤンマーホールディングス株式会社
エンジン装置
26日前
トヨタ自動車株式会社
車両のエンジンルーム構造
13日前
株式会社豊田自動織機
排気管
24日前
トヨタ自動車株式会社
過給エンジンの換気システム
19日前
三菱自動車工業株式会社
オイルパン
5日前
株式会社SUBARU
硫黄除去方法
28日前
トヨタ自動車株式会社
車両の制御装置
10日前
トヨタ自動車株式会社
冷却システム
4日前
三菱重工業株式会社
蒸気タービン翼及び蒸気タービン
24日前
トヨタ自動車株式会社
車両診断装置
24日前
マレリ株式会社
排気ガス処理装置及び混合装置
18日前
イビデン株式会社
マット材及び保持シール材
18日前
株式会社オティックス
ラッシュアジャスタ
26日前
三菱自動車工業株式会社
エンジンの潤滑装置
18日前
続きを見る
他の特許を見る