TOP
|
特許
|
意匠
|
商標
特許ウォッチ
Twitter
他の特許を見る
公開番号
2025159862
公報種別
公開特許公報(A)
公開日
2025-10-22
出願番号
2024062688
出願日
2024-04-09
発明の名称
オイルパン
出願人
三菱自動車工業株式会社
代理人
個人
,
個人
,
個人
,
個人
,
個人
主分類
F01M
11/00 20060101AFI20251015BHJP(機械または機関一般;機関設備一般;蒸気機関)
要約
【課題】内燃機関のオイルパンにおいて、潤滑油の流通を妨げることなく、その膜振動を効果的に低減させること。
【解決手段】オイルパンの底面11a上に、オイル吸入口と反対側からオイル吸入口に向けた第1方向に延びる第1突状部材14と、第1突状部材14により底面11a上に仕切られる区画領域に設けられた半球面状の第2突状部材15と、を形成する。ここで、第2突状部材15は第1突状部材14よりも高さが低いものとする。第1突状部材14は、潤滑油をオイル吸入口へと案内する方向に伸びているため、また、第2突状部材15は、半球面状で表面が丸みを帯びているため、その流通を妨げることがない。第1突状部材14に加えて、半球面状であり底面11aとの境界の全周がリブ様の作用を奏する第2突状部材15を設けているため、底面11aの剛性が高まり、制振効果が増強される。
【選択図】図1
特許請求の範囲
【請求項1】
内燃機関の下方に配置され、前記内燃機関から滴下する潤滑油を受け止める椀状のオイルパンであって、
底面と、
前記底面の縁部から上方に立ち上がる側面と、
前記オイルパン内に配置され、前記滴下した潤滑油を吸入するオイル吸入口と、を備え、
前記底面は、
前記オイル吸入口と反対側から前記オイル吸入口に向かう方向である第1方向に延びる前記底面から上方に突出する第1突状部材と、
前記第1突状部材及び前記側面により仕切られる前記底面上の区画領域の少なくとも一つに設けられた、上方に突出する半球面状の第2突状部材と、を有し、
前記第2突状部材は、前記第1突状部材よりも高さが低い、オイルパン。
続きを表示(約 410 文字)
【請求項2】
前記第2突状部材は、前記底面の表面において凸かつ前記底面の裏面において凹で、前記底面の一部をなしている、請求項1に記載のオイルパン。
【請求項3】
前記第2突状部材は、その半球面の中心が、前記第2突状部材が設けられた前記区画領域において、前記第2突状部材が設けられる前の膜振動中心からずれた位置にある、請求項1または2に記載のオイルパン。
【請求項4】
前記第2突状部材は、前記第1方向が長径となる平面視楕円形状である、請求項1または2に記載のオイルパン。
【請求項5】
前記底面は、
前記第1方向と直交する第2方向に沿って延び、前記底面から上方に突出する第3突状部材をさらに有し、
前記第3突状部材は、前記第1突状部材よりも高さが低く、前記第3突状部材の一部は前記第2突状部材の半球面に覆われている、請求項1または2に記載のオイルパン。
発明の詳細な説明
【技術分野】
【0001】
本発明は、内燃機関の下方に配置されるオイルパンに関する。
詳しくは、本発明は、膜振動が効果的に低減されたオイルパンに関する。
続きを表示(約 1,600 文字)
【背景技術】
【0002】
車両から発生する騒音の大きな要因の一つとして、内燃機関(エンジン)の起振力による放射音が挙げられる。
当該内燃機関の下方には、内燃機関から滴下する潤滑油を受け止めるためのオイルパンが配置されているところ、この内燃機関の下方からの放射音については、オイルパンが約1kHzから3.2kHzで膜振動(共振)するとされている。
かかる周波数帯域の振動、騒音は、人間の聴覚の感度が高く、非常に耳障りであるため、オイルパンの膜振動を低減することは、車両の騒音を大きく低減することにつながる。
【0003】
そこでかかる膜振動を低減するため、特許文献1のように、オイルパンの底面に細長く伸びる突状部材(リブ)を設け、底面の剛性を高めることで、膜振動を低減させようとする試みがなされている。
【0004】
しかしながら、この種のリブ様の突状部材を設けるだけでは、周波数帯域が一定程度ずれることがあっても、十分な制振効果は得られがたい。
また、リブ様の突状部材の設置の態様によっては、オイルパン上の潤滑油を堰き止めてしまうため、オイルポンプへの潤滑油の流れを阻害したり、潤滑油の交換の際にその全量が抜けきらないことが懸念される。
【先行技術文献】
【特許文献】
【0005】
特開2001-132537号公報
【発明の概要】
【発明が解決しようとする課題】
【0006】
そこで本発明の解決すべき課題は、オイルパンにおいて、潤滑油の流通を妨げることなく、その膜振動を効果的に低減させることである。
【課題を解決するための手段】
【0007】
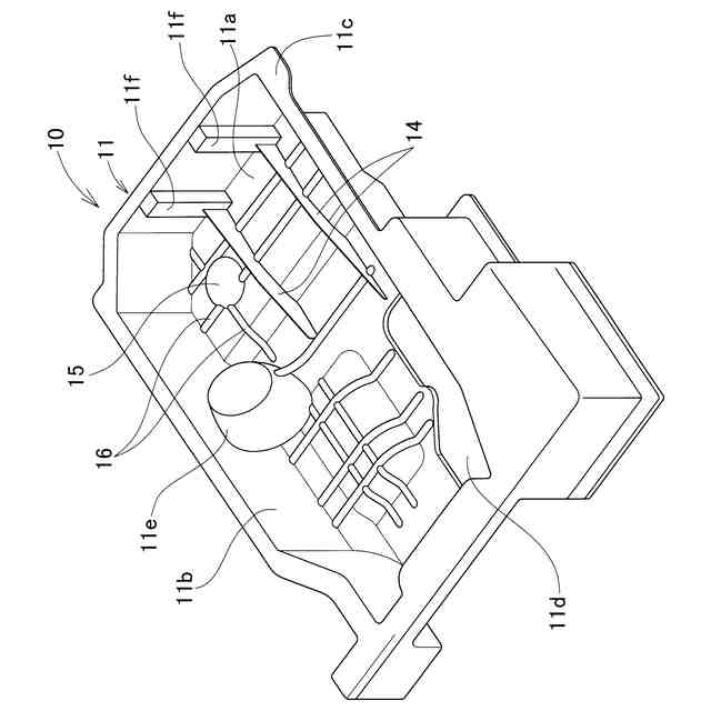
上記した課題を解決するため、発明にかかるオイルパンでは、その底面に半球面状の凸状部材を設けることとしたのである。
【0008】
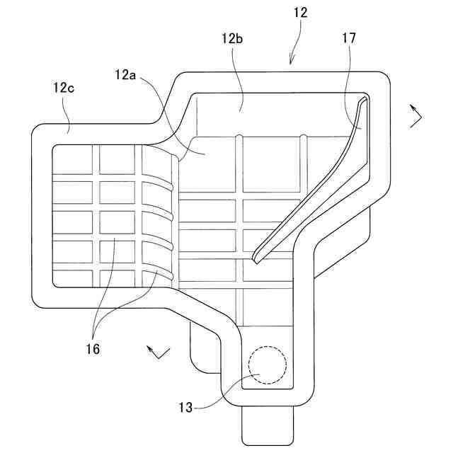
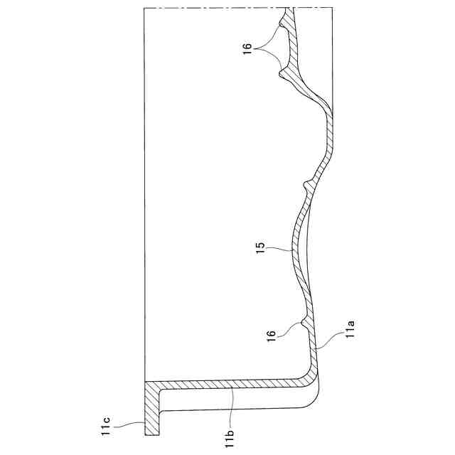
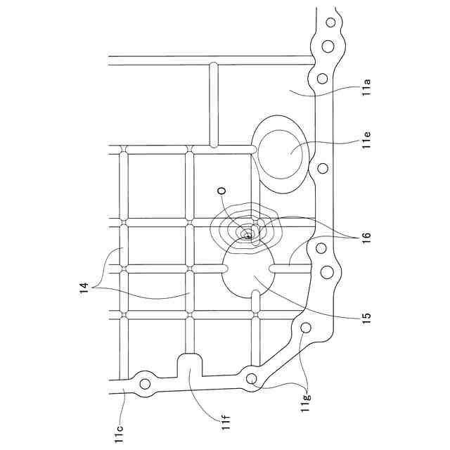
より詳しくは、発明にかかるオイルパンを、底面と、底面の縁部から上方に延びる側面と、オイルパン内に配置され、内燃機関から滴下した潤滑油を吸入するオイル吸入口と、を備え、底面は、オイル吸入口と反対側からオイル吸入口に向かう方向である第1方向に延びる底面から上方に突出する第1突状部材と、第1突状部材及び側面により仕切られる底面上の区画領域の少なくとも一つに設けられた、上方に突出する半球面状の第2突状部材と、を有し、第2突状部材は、第1突状部材よりも高さが低い構成としたのである。
【0009】
このように構成すると、第1突状部材は、オイルパン上の潤滑油をオイルポンプのオイル吸入口へと案内する方向に伸びているため、潤滑油の流通を大きく阻害することがない。また、第2突状部材は、半球面状で表面が丸みを帯びており、しかも高さが低いため、潤滑油の流通を大きく阻害することがない。
【0010】
第1突状部材に加えて、第2突状部材を設けているため、オイルパンの底面の剛性が高まり、制振効果が増強される。第2突状部材を設けることで、オイルの流れに沿っているとはいえど抵抗となり得る第1突状部材の数を減らすことができる。
とくに、この場合に、第2突状部材は、半球面状であり、平坦な底面との境界に相当する円周の全周がリブ様の作用を奏するため、その大きさに比してリブとしての長さを効果的に稼ぐことができ、一層の制振効果が得られる。
また、こうして第2突状部材の全周がリブ様の作用を奏することから、膜振動する領域が狭くなり、したがって同領域の質量が小さくなるため、膜振動を耳障りな1kHzから3.2kHzよりも高周波化することができる。
第2突状部材と底面との境界には、平面視で丸みを帯びており、応力が集中するような角が存在しないので、オイルパン底面の特定箇所に応力が集中することも防止される。
(【0011】以降は省略されています)
この特許をJ-PlatPat(特許庁公式サイト)で参照する
関連特許
株式会社三五
排気浄化装置
3日前
株式会社豊田自動織機
エンジン式産業車両
2か月前
株式会社SUBARU
排気浄化装置
10日前
スズキ株式会社
内燃機関の制御装置
10日前
トヨタ自動車株式会社
計測システム
1か月前
トヨタ自動車株式会社
エンジン
18日前
トヨタ自動車株式会社
エンジン
19日前
トヨタ自動車株式会社
エンジン
10日前
株式会社ミクニ
二次空気供給システム
4日前
本田技研工業株式会社
排気装置
1か月前
本田技研工業株式会社
排気装置
1か月前
本田技研工業株式会社
排気装置
1か月前
株式会社三五
ハイブリッド車の排気システム
19日前
株式会社クボタ
多目的車両
1か月前
株式会社クボタ
多目的車両
1か月前
株式会社SUBARU
エンジン制御装置
1か月前
トヨタ自動車株式会社
水素エンジン
1か月前
トヨタ自動車株式会社
異常診断装置
1か月前
トヨタ自動車株式会社
油量判定装置
1か月前
トヨタ自動車株式会社
排気浄化装置
19日前
マレリ株式会社
消音器
2か月前
トヨタ自動車株式会社
車両装置
10日前
株式会社アイシン
冷却モジュール
1か月前
日産自動車株式会社
内燃機関
1か月前
トヨタ自動車株式会社
内燃機関の制御装置
1か月前
トヨタ自動車株式会社
内燃機関の制御装置
1か月前
本田技研工業株式会社
冷却液タンク
10日前
井関農機株式会社
エンジン
18日前
三菱重工業株式会社
メタン酸化触媒装置
1か月前
株式会社豊田自動織機
排気浄化装置
1か月前
トヨタ自動車株式会社
オイルタンク
19日前
トヨタ自動車株式会社
車両のエンジンルーム構造
1か月前
株式会社三五
排気浄化装置
18日前
トヨタ自動車株式会社
過給機冷却システム
18日前
いすゞ自動車株式会社
排気処理装置
18日前
トヨタ自動車株式会社
車両の制御装置
1か月前
続きを見る
他の特許を見る