TOP
|
特許
|
意匠
|
商標
特許ウォッチ
Twitter
他の特許を見る
公開番号
2025141561
公報種別
公開特許公報(A)
公開日
2025-09-29
出願番号
2024041566
出願日
2024-03-15
発明の名称
内燃機関ユニット及び車両
出願人
いすゞ自動車株式会社
代理人
弁理士法人鈴榮特許綜合事務所
主分類
F01N
3/18 20060101AFI20250919BHJP(機械または機関一般;機関設備一般;蒸気機関)
要約
【課題】排気浄化装置の活性化温度に早期に到達可能な内燃機関ユニット及び車両を提供すること。
【解決手段】内燃機関ユニット2は、内燃機関11と、内燃機関11へ圧縮空気を供給する過給機21と、過給機21及び内燃機関11の間に設けられた中間冷却器24と、過給機21及び内燃機関11の間に設けられ、中間冷却器24をバイパスするバイパス経路25と、圧縮空気の中間冷却器24及びバイパス経路25へ流れる流量を制御する流量制御弁26と、内燃機関11の運転状況に応じて、圧縮空気をバイパス経路25に通過させる第1の動作モードと、圧縮空気の一部を中間冷却器24に通過させるとともに、圧縮空気の他の一部をバイパス経路25に通過させる第2の動作モードと、圧縮空気を中間冷却器24に通過させる第3の動作モードと、のいずれかの動作モードとなるように、前記流量制御弁26を制御する制御部19と、を備える。
【選択図】 図2
特許請求の範囲
【請求項1】
内燃機関と、
前記内燃機関へ圧縮空気を供給する過給機と、
前記過給機及び前記内燃機関の間に設けられた中間冷却器と、
前記過給機及び前記内燃機関の間に設けられ、前記中間冷却器をバイパスするバイパス経路と、
前記圧縮空気の前記中間冷却器及び前記バイパス経路へ流れる流量を制御する流量制御弁と、
前記内燃機関の運転状況に応じて、前記圧縮空気を前記バイパス経路に通過させる第1の動作モードと、前記圧縮空気の一部を前記中間冷却器に通過させるとともに、前記圧縮空気の他の一部を前記バイパス経路に通過させる第2の動作モードと、前記圧縮空気を前記中間冷却器に通過させる第3の動作モードと、のいずれかの動作モードとなるように、前記流量制御弁を制御する制御部と、
を備える内燃機関ユニット。
続きを表示(約 390 文字)
【請求項2】
前記内燃機関の吸気として前記内燃機関の排気の一部を還流させて前記圧縮空気と混合するEGRシステムと、
前記内燃機関の排気を処理する排気浄化装置と、
前記吸気又は前記排気の温度を検出する温度センサと、を備え、
前記制御部は、前記第2の動作モードであるときに、前記温度センサで検出した温度に基づいて前記流量制御弁の開度を制御する請求項1に記載の内燃機関ユニット。
【請求項3】
アクセル開度センサと、
前記内燃機関の回転数センサと、を備え、
前記制御部は、前記アクセル開度センサ及び前記回転数センサから取得したアクセル開度及び回転数に基づいて前記運転状況を判定する、請求項1に記載の内燃機関ユニット。
【請求項4】
請求項1乃至請求項3のいずれか一項に記載の内燃機関ユニットを有する車両。
発明の詳細な説明
【技術分野】
【0001】
本発明は、過給機を有する内燃機関ユニット及び車両に関する。
続きを表示(約 2,100 文字)
【背景技術】
【0002】
従前から、燃費や熱効率を向上させるため、所謂ターボチャージャーと呼ばれる過給機を有し、過給機を通過した吸気温度を低下させるための冷却器(インタークーラー)を有する内燃機関が知られている。また、このような内燃機関を用いたユニットとして、有害ガスの排出を抑えるための排気浄化装置や、排気管や吸気管に制御弁などを設け、吸気量を減少するシステムを有する技術も知られている。
【先行技術文献】
【特許文献】
【0003】
特開2005-351184号公報
【発明の概要】
【発明が解決しようとする課題】
【0004】
上述した内燃機関ユニットにおいては、いずれの運転条件においても過給機で加圧されたガスの温度を低下させるために、冷却器によって吸気温度を低下させている。一方で、排気浄化装置の活性化温度に早期に到達させるために、燃料噴射時期や、噴射量を制御して内燃機関の排気温度を高めている。しかしながら、このような制御を行うと、排気浄化装置の活性化温度に到達するまでの時間を要することや、燃料を消費すること等の要因となる。また、排気管や吸気管に制御弁などを設け、吸気量を減らすことで排気温度を高めることを考えられるが、このような構成とすると、排気流量が低下し、排気浄化装置が十分に温まらない、という問題もある。
【0005】
そこで本発明は、排気浄化装置の活性化温度に早期に到達可能な内燃機関ユニット及び車両を提供することを目的とする。
【課題を解決するための手段】
【0006】
本発明の一態様によれば、内燃機関ユニットは、内燃機関と、前記内燃機関へ圧縮空気を供給する過給機と、前記過給機及び前記内燃機関の間に設けられた中間冷却器と、前記過給機及び前記内燃機関の間に設けられ、前記中間冷却器をバイパスするバイパス経路と、前記圧縮空気の前記中間冷却器及び前記バイパス経路へ流れる流量を制御する流量制御弁と、前記内燃機関の運転状況に応じて、前記圧縮空気を前記バイパス経路に通過させる第1の動作モードと、前記圧縮空気の一部を前記中間冷却器に通過させるとともに、前記圧縮空気の他の一部を前記バイパス経路に通過させる第2の動作モードと、前記圧縮空気を前記中間冷却器に通過させる第3の動作モードと、のいずれかの動作モードとなるように、前記流量制御弁を制御する制御部と、を備える。
【発明の効果】
【0007】
本発明によれば、排気浄化装置の活性化温度に早期に到達可能な内燃機関ユニット及び車両を提供することができる。
【図面の簡単な説明】
【0008】
図1は、実施形態に係る車両の構成を概略的に示す説明図である。
図2は、実施形態に係る車両の内燃機関ユニットの構成を概略的に示す説明図である。
図3は、実施形態に係る内燃機関ユニットの使用の一例を示す説明図である。
図4は、実施形態に係る内燃機関ユニットの使用の一例を示す説明図である。
図5は、実施形態に係る内燃機関ユニットの使用の一例を示す説明図である。
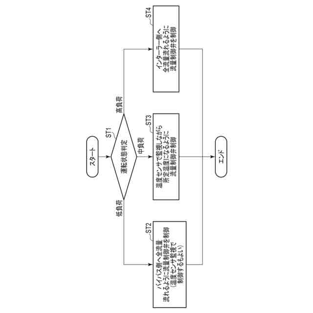
図6は、実施形態に係る内燃機関ユニットの制御の一例を示す説明図である。
図7は、実施形態に係る内燃機関ユニット及び比較例に係る内燃機関ユニットの、内燃機関の低負荷時における吸気温度の一例を示す説明図である。
図8は、実施形態に係る内燃機関ユニット及び比較例に係る内燃機関ユニットの、内燃機関の低負荷時における排気温度の一例を示す説明図である。
【発明を実施するための形態】
【0009】
以下、本発明の一実施形態に係る車両1について、図1乃至図3を参照して説明する。図1は、車両1の構成を概略的に示す説明図である。図2は、車両1に用いられる内燃機関ユニット2の構成を概略的に示す説明図である。図3は、運転状況が低負荷時における内燃機関ユニット2の使用の一例を示す説明図、図4は、運転状況が中負荷時における内燃機関ユニット2の使用の一例を示す説明図、図5は、運転状況が高負荷時における内燃機関ユニット2の使用の一例を示す説明図である。図6は、内燃機関ユニット2の制御の一例を示す流れ図である。なお、各図において、適宜構成を拡大、縮小または省略して示す。
【0010】
図1及び図2に示すように、車両1は、動力源として内燃機関11と、過給システム12と、内燃機関11の排気の一部を再循環するEGRシステム13と、内燃機関11の排気の一部を処理する後処理装置14と、を有する。なお、車両1は、内燃機関11に加えて、動力源として1以上のモータを搭載したハイブリット車(HEV:Hybrid Electric Vehicle)であってもよい。車両1は、例えばトラックである。車両1は、例えば、平ボディ車、ウイング車、幌付き車、ユニック車、車載車、タンクローリー車等である。なお、車両1は、トラックに限定されず、バス、乗用車、特殊用途自動車等であってもよい。
(【0011】以降は省略されています)
この特許をJ-PlatPat(特許庁公式サイト)で参照する
関連特許
株式会社ニフコ
車載機器用保持装置
2日前
株式会社三五
消音器
1か月前
個人
ジェットエンジンタービン羽根
1か月前
株式会社三五
排気装置
1か月前
トヨタ自動車株式会社
車両
1か月前
株式会社豊田自動織機
エンジン式産業車両
2日前
スズキ株式会社
排気装置
1か月前
スズキ株式会社
排気装置
1か月前
ダイハツ工業株式会社
内燃機関
1か月前
本田技研工業株式会社
排気装置
1日前
本田技研工業株式会社
排気装置
1日前
本田技研工業株式会社
排気装置
1日前
株式会社SUBARU
ピストン冷却構造
22日前
トヨタ自動車株式会社
エンジンシステム
1か月前
トヨタ自動車株式会社
エンジンシステム
8日前
トヨタ自動車株式会社
内燃機関の制御装置
22日前
トヨタ自動車株式会社
異音診断プログラム
24日前
フタバ産業株式会社
消音器
22日前
トヨタ自動車株式会社
制御装置
22日前
フタバ産業株式会社
消音器
10日前
トヨタ自動車株式会社
制御装置
22日前
三浦工業株式会社
船舶用発電システム
8日前
マレリ株式会社
消音器
2日前
株式会社SUBARU
車両
12日前
トヨタ自動車株式会社
内燃機関の制御装置
12日前
フタバ産業株式会社
排気系部品
10日前
トヨタ自動車株式会社
内燃機関の制御装置
23日前
トヨタ自動車株式会社
内燃機関の制御装置
1か月前
マツダ株式会社
排気浄化装置
1か月前
マツダ株式会社
排気浄化装置
1か月前
株式会社アイシン
弁開閉時期制御装置
4日前
マツダ株式会社
排気システム
3日前
マツダ株式会社
排気システム
3日前
トヨタ自動車株式会社
過給エンジンの制御装置
12日前
本田技研工業株式会社
ウォータポンプ診断装置
22日前
三菱重工業株式会社
排熱回収システム
1か月前
続きを見る
他の特許を見る