TOP
|
特許
|
意匠
|
商標
特許ウォッチ
Twitter
他の特許を見る
公開番号
2025136625
公報種別
公開特許公報(A)
公開日
2025-09-19
出願番号
2024035332
出願日
2024-03-07
発明の名称
制御装置
出願人
トヨタ自動車株式会社
代理人
個人
,
個人
,
個人
主分類
F01M
5/04 20060101AFI20250911BHJP(機械または機関一般;機関設備一般;蒸気機関)
要約
【課題】動力源としてエンジンおよびモータを備えたハイブリッド車両において、燃料希釈状態を反映させて暖機運転を行う。
【解決手段】始動時冷却水温度に関する第1係数と、始動前のソーク時間に関する第2係数とを算出し、始動時のエンジンオイル圧力上昇の傾きを第1係数及び第2係数で補正し、補正した結果が所定の閾値を下回る場合か否かでエンジン内の燃料希釈発生を判断し、燃料燃料希釈が発生したと判断すると、エンジンの暖機を促進する暖気優先制御を行う。
【選択図】図3
特許請求の範囲
【請求項1】
動力源としてエンジンおよびモータを備えたハイブリッド車両に搭載される制御装置であって、
始動時冷却水温度に関する第1係数と、始動前のソーク時間に関する第2係数とを算出し、
始動時のエンジンオイル圧力上昇の傾きを前記第1係数及び前記第2係数で補正し、補正した結果が所定の閾値を下回る場合か否かで前記エンジン内におけるエンジンオイルの燃料希釈発生を判断し、
前記燃料希釈が発生したと判断すると、前記エンジンの暖機を促進する暖気優先制御を行う、制御装置。
発明の詳細な説明
【技術分野】
【0001】
本開示は、動力源としてエンジンおよびモータを備えたハイブリッド車両に搭載される制御装置に関する。
続きを表示(約 1,500 文字)
【背景技術】
【0002】
動力源としてエンジンおよびモータを備えたハイブリッド車両に搭載される制御装置に関し、下記特許文献1に記載の技術が知られている。下記特許文献1では、エンジン運転時において、エンジンオイルの温度が所定温度以下の場合、エンジンの回転数を一定回転数以下に抑えて暖気優先運転を行っている。
【先行技術文献】
【特許文献】
【0003】
特開2019-146539号公報
【発明の概要】
【発明が解決しようとする課題】
【0004】
動力源としてエンジンおよびモータを備えたハイブリッド車両では、エンジンが冷間及び判暖気状態で運転される場合があり、未燃燃料や発生した水分によりエンジンオイルが希釈されるいわゆる燃料希釈が発生し、継続する可能性がある。この状況に対応するため、上記特許文献1のようにエンジンオイルの温度が所定温度以下の場合に暖気優先運転を行うだけでなく、燃料希釈状態に適合した暖気優先運転を行うことが求められている。
【0005】
本開示は、動力源としてエンジンおよびモータを備えたハイブリッド車両において、燃料希釈状態を反映させて暖機運転を行うことを目的とする。
【課題を解決するための手段】
【0006】
本開示は、動力源としてエンジンおよびモータを備えたハイブリッド車両に搭載される制御装置であって、始動時冷却水温度に関する第1係数と、始動前のソーク時間に関する第2係数とを算出し、始動時のエンジンオイル圧力上昇の傾きを第1係数及び第2係数で補正し、補正した結果が予定の閾値を下回る場合か否かでエンジン内のエンジンオイルにおける燃料希釈発生を判断し、燃料希釈が発生したと判断すると、エンジンの暖機を促進する暖気優先制御を行う。
【発明の効果】
【0007】
本開示によれば、動力源としてエンジンおよびモータを備えたハイブリッド車両において、燃料希釈状態を反映させて暖機運転を行うことができる。
【図面の簡単な説明】
【0008】
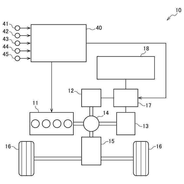
図1は、ハイブリッド車両に搭載される制御装置の概略構成を示すブロック構成図である。
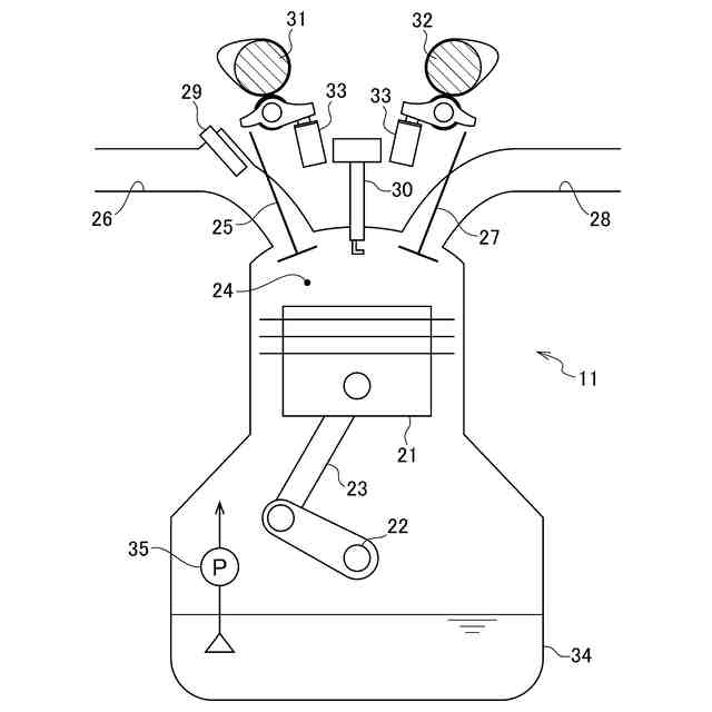
図2は、図1に示されるハイブリッド車両に搭載されるエンジンの概略構成を示す概略構成図である。
図3は、運転制御処理の実行手順を示すフローチャートである。
図4は、図3についての説明に用いるエンジンオイル圧力のグラフである。
図5は、始動時冷却水温度に関する第1係数Kwを説明するためのグラフである。
図6は、始動前のソーク時間に関する第2係数Ktを説明するためのグラフである。
図7は、エンジンオイル油圧と燃料希釈推定値との関係を説明するためのグラフである。
【発明を実施するための形態】
【0009】
以下、添付図面を参照しながら本実施形態について説明する。説明の理解を容易にするため、各図面において同一の構成要素に対しては可能な限り同一の符号を付して、重複する説明は省略する。
【0010】
図1に示されるように、ハイブリッド車両10にはその動力源としてのエンジン11と2つのモータとが設けられている。以下では、これらモータのうち、主として発電に使用されるものをジェネレータ12と記載し、主として動力の発生に使用されるものをモータ13と記載する。
(【0011】以降は省略されています)
この特許をJ-PlatPat(特許庁公式サイト)で参照する
関連特許
トヨタ自動車株式会社
車両
4日前
トヨタ自動車株式会社
電池
18日前
トヨタ自動車株式会社
方法
3日前
トヨタ自動車株式会社
車両
18日前
トヨタ自動車株式会社
電池
10日前
トヨタ自動車株式会社
電池
10日前
トヨタ自動車株式会社
車両
19日前
トヨタ自動車株式会社
電池
24日前
トヨタ自動車株式会社
配管
19日前
トヨタ自動車株式会社
タンク
3日前
トヨタ自動車株式会社
電動車
18日前
トヨタ自動車株式会社
電動車
19日前
トヨタ自動車株式会社
ロータ
19日前
トヨタ自動車株式会社
塗工装置
10日前
トヨタ自動車株式会社
車両装置
10日前
トヨタ自動車株式会社
蓄電装置
10日前
トヨタ自動車株式会社
蓄電装置
10日前
トヨタ自動車株式会社
蓄電装置
10日前
トヨタ自動車株式会社
蓄電装置
10日前
トヨタ自動車株式会社
蓄電装置
10日前
トヨタ自動車株式会社
蓄電装置
10日前
トヨタ自動車株式会社
蓄電装置
10日前
トヨタ自動車株式会社
蓄電装置
10日前
トヨタ自動車株式会社
製造設備
24日前
トヨタ自動車株式会社
監視装置
24日前
トヨタ自動車株式会社
エンジン
10日前
トヨタ自動車株式会社
蓄電セル
26日前
トヨタ自動車株式会社
蓄電装置
10日前
トヨタ自動車株式会社
蓄電装置
11日前
トヨタ自動車株式会社
蓄電装置
10日前
トヨタ自動車株式会社
蓄電装置
18日前
トヨタ自動車株式会社
制御装置
19日前
トヨタ自動車株式会社
制御装置
19日前
トヨタ自動車株式会社
学習装置
18日前
トヨタ自動車株式会社
コネクタ
18日前
トヨタ自動車株式会社
制御装置
18日前
続きを見る
他の特許を見る