TOP
|
特許
|
意匠
|
商標
特許ウォッチ
Twitter
他の特許を見る
公開番号
2025142564
公報種別
公開特許公報(A)
公開日
2025-10-01
出願番号
2024042006
出願日
2024-03-18
発明の名称
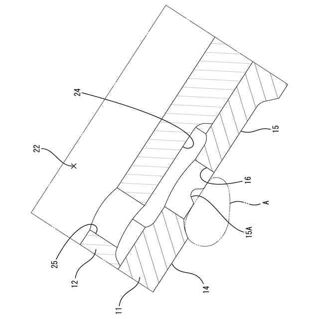
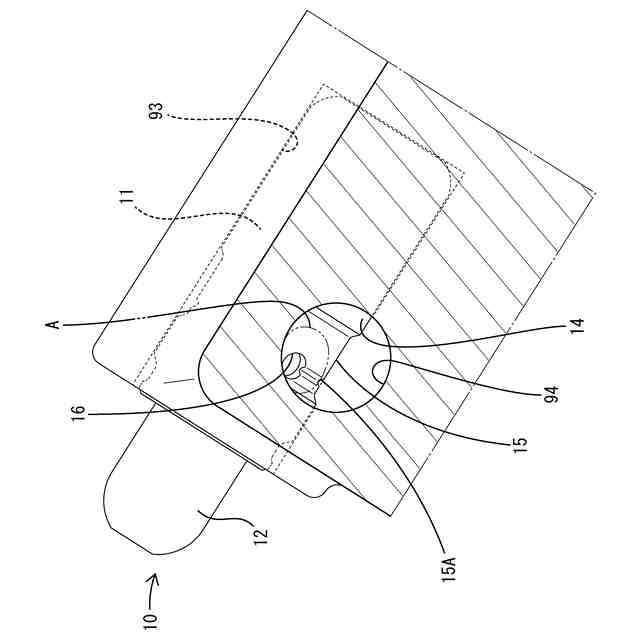
ラッシュアジャスタ
出願人
株式会社オティックス
代理人
弁理士法人グランダム特許事務所
主分類
F01L
1/255 20060101AFI20250924BHJP(機械または機関一般;機関設備一般;蒸気機関)
要約
【課題】気泡によるボディ孔の閉塞を抑制してオイル供給を確保し、機能を維持することができるラッシュアジャスタを提供する。
【解決手段】ラッシュアジャスタ10は、筒状のボディ11と、ボディ11に対して往復摺動可能にボディ11内に配置される筒状のプランジャ12と、を備え、ボディ11は、底壁13と、底壁13から立ち上がる周壁14と、周壁14の外周面に全周に亘って凹設されるボディ周回溝15と、ボディ周回溝15の奥面に開口してプランジャ12にオイルを供給するボディ孔16と、を有し、ボディ11は、ボディ周回溝15におけるボディ孔16の縁部に凹凸形状(凹溝15A)を有している。
【選択図】図3
特許請求の範囲
【請求項1】
筒状のボディと、前記ボディに対して往復摺動可能に前記ボディ内に配置される筒状のプランジャと、を備え、
前記ボディは、底壁と、前記底壁から立ち上がる周壁と、前記周壁の外周面に全周に亘って凹設されるボディ周回溝と、前記ボディ周回溝の奥面に開口して前記プランジャにオイルを供給するボディ孔と、を有し、
前記ボディは、前記ボディ周回溝における前記ボディ孔の縁部に凹凸形状を有している、ラッシュアジャスタ。
続きを表示(約 290 文字)
【請求項2】
前記凹凸形状は、前記ボディ周回溝の奥面に設けられた凹部及び凸部の少なくとも一方によって形成され、
前記凹部及び前記凸部の少なくとも一方は、前記ボディ周回溝の奥面を周方向に延びて前記ボディ孔の開口縁と交差している、請求項1に記載のラッシュアジャスタ。
【請求項3】
前記凹部及び前記凸部の少なくとも一方の幅は、前記ボディ孔の開口径よりも小さい、請求項2に記載のラッシュアジャスタ。
【請求項4】
前記凹部及び前記凸部の少なくとも一方は、複数並列に配置されている、請求項2又は請求項3に記載のラッシュアジャスタ。
発明の詳細な説明
【技術分野】
【0001】
本開示は、ラッシュアジャスタに関する。
続きを表示(約 1,700 文字)
【背景技術】
【0002】
特許文献1は、筒状のボディと、このボディ内に往復摺動可能に配置されるプランジャと、を備えたラッシュアジャスタを開示している。ボディは、シリンダヘッドの表面に開口する取付凹部に内嵌される。ボディの周壁には、ボディ孔が貫通して形成されている。プランジャの周壁には、プランジャ孔が貫通して形成されている。ボディが取付凹部に内嵌された状態で、ボディ孔及びプランジャ孔を通してシリンダヘッドの給油路を流れる作動油(オイル)がラッシュアジャスタ内に供給される。プランジャは、ボディからの突出量を変化させる。プランジャによって支持されるロッカアームは、プランジャの突出量の変動に応じて揺動支点位置を変化させ、押圧する弁のバルブクリアランスを自動的に調整する。
【先行技術文献】
【特許文献】
【0003】
特開2003-222007号公報
【発明の概要】
【発明が解決しようとする課題】
【0004】
ところで、給油路内のオイルには気泡が混入していることがある。気泡は、オイルとともに給油路内を流通する。気泡は、給油路における流れの緩やかな場所等において滞留し、大きな気泡の塊を形成することがある。ラッシュアジャスタは、このように滞留した気泡によってボディ孔が閉塞されると、オイルを内部に導入できなってしまう。この場合、バルブクリアランスの調整というラッシュアジャスタの機能を適正に実行できなくなるおそれがある。
【0005】
そこで、本開示は、気泡によるボディ孔の閉塞を抑制してオイル供給を確保し、機能を維持することができるラッシュアジャスタを提供することを目的とする。
【課題を解決するための手段】
【0006】
本開示のラッシュアジャスタは、筒状のボディと、前記ボディに対して往復摺動可能に前記ボディ内に配置される筒状のプランジャと、を備え、前記ボディは、底壁と、前記底壁から立ち上がる周壁と、前記周壁の外周面に全周に亘って凹設されるボディ周回溝と、前記ボディ周回溝の奥面に開口して前記プランジャにオイルを供給するボディ孔と、を有し、前記ボディは、前記ボディ周回溝における前記ボディ孔の縁部に凹凸形状を有している。
【発明の効果】
【0007】
本開示によれば、気泡によるボディ孔の閉塞を抑制してオイル供給を確保し、機能を維持することができる。
【図面の簡単な説明】
【0008】
図1は、本開示の実施形態1のラッシュアジャスタを含む動弁装置の断面図である。
図2は、実施形態1の動弁装置の要部拡大断面図である。
図3は、実施形態1のラッシュアジャスタを示す断面図である。
図4は、実施形態1のラッシュアジャスタのボディを示す側面図である。
図5は、実施形態1のラッシュアジャスタの作用を説明するための図である。
図6は、実施形態2のラッシュアジャスタのボディを示す側面図である。
【発明を実施するための形態】
【0009】
[本開示の実施形態の説明]
最初に本開示の実施態様を列記して説明する。
本開示に係るラッシュアジャスタは、
(1)筒状のボディと、前記ボディに対して往復摺動可能に前記ボディ内に配置される筒状のプランジャと、を備え、前記ボディは、底壁と、前記底壁から立ち上がる周壁と、前記周壁の外周面に全周に亘って凹設されるボディ周回溝と、前記ボディ周回溝の奥面に開口して前記プランジャにオイルを供給するボディ孔と、を有し、前記ボディは、前記ボディ周回溝における前記ボディ孔の縁部に凹凸形状を有している。
【0010】
上記構成によれば、ボディ孔縁部のボディ周回溝の奥面において、凹凸形状により気泡が密着することが抑制される。これにより、ボディ孔の周縁に気泡が滞留した場合でも、ボディ孔の気泡による閉塞が抑制され、オイルの供給を確保できる。その結果、本開示に係るラッシュアジャスタは、機能を維持することができる。
(【0011】以降は省略されています)
この特許をJ-PlatPat(特許庁公式サイト)で参照する
関連特許
株式会社オティックス
プラネタリギヤ装置
3日前
株式会社オティックス
ラッシュアジャスタ
26日前
トヨタ自動車株式会社
計測システム
12日前
株式会社豊田自動織機
エンジン式産業車両
18日前
本田技研工業株式会社
排気装置
17日前
本田技研工業株式会社
排気装置
17日前
本田技研工業株式会社
排気装置
17日前
株式会社SUBARU
ピストン冷却構造
1か月前
トヨタ自動車株式会社
エンジンシステム
24日前
株式会社クボタ
多目的車両
10日前
株式会社クボタ
多目的車両
10日前
トヨタ自動車株式会社
水素エンジン
3日前
トヨタ自動車株式会社
内燃機関の制御装置
1か月前
三浦工業株式会社
船舶用発電システム
24日前
マレリ株式会社
消音器
18日前
トヨタ自動車株式会社
制御装置
1か月前
トヨタ自動車株式会社
制御装置
1か月前
フタバ産業株式会社
消音器
1か月前
フタバ産業株式会社
消音器
26日前
株式会社SUBARU
車両
28日前
トヨタ自動車株式会社
内燃機関の制御装置
28日前
フタバ産業株式会社
排気系部品
26日前
トヨタ自動車株式会社
内燃機関の制御装置
3日前
株式会社アイシン
弁開閉時期制御装置
20日前
マツダ株式会社
排気システム
19日前
マツダ株式会社
排気システム
19日前
帝人エンジニアリング株式会社
排ガス処理装置
24日前
三菱重工業株式会社
主蒸気管洗浄方法
24日前
トヨタ自動車株式会社
内燃機関の異常検出装置
24日前
トヨタ自動車株式会社
過給エンジンの制御装置
28日前
株式会社豊田自動織機
排気浄化装置
6日前
トヨタ自動車株式会社
車両のエンジンルーム構造
13日前
ヤンマーホールディングス株式会社
エンジン装置
26日前
株式会社豊田自動織機
排気管
24日前
三菱重工業株式会社
メタン酸化触媒装置
17日前
トヨタ自動車株式会社
過給エンジンの換気システム
19日前
続きを見る
他の特許を見る