TOP
|
特許
|
意匠
|
商標
特許ウォッチ
Twitter
他の特許を見る
公開番号
2025145317
公報種別
公開特許公報(A)
公開日
2025-10-03
出願番号
2024045426
出願日
2024-03-21
発明の名称
車両診断装置
出願人
トヨタ自動車株式会社
代理人
弁理士法人アイテック国際特許事務所
主分類
F01N
3/023 20060101AFI20250926BHJP(機械または機関一般;機関設備一般;蒸気機関)
要約
【課題】より適正に圧力センサを用いた車両の診断を実行する。
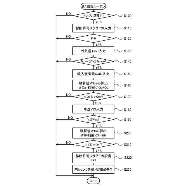
【解決手段】粒子状物質を捕集するフィルタが排気管に取り付けられたエンジンと、排気管のフィルタの上流側から分岐してフィルタをバイパスしてフィルタの下流側へ接続する圧力配管と、圧力配管に取り付けられ圧力配管内の空気の圧力を検出する圧力センサと、を備える車両に用いられ、圧力センサを診断する車両診断装置であって、圧力センサを用いた車両の診断の実行が禁止されており、圧力配管内の水の凍結が推定される場合において、排気管の暖機が終了した後に、低速で走行した時間の積算値が時間判定値を超えたときには、圧力センサを用いた車両の診断の実行を許可する。
【選択図】図2
特許請求の範囲
【請求項1】
粒子状物質を捕集するフィルタが排気管に取り付けられたエンジンと、前記排気管の前記フィルタの上流側から分岐して前記フィルタをバイパスして前記フィルタの下流側へ接続する圧力配管と、前記圧力配管に取り付けられ前記フィルタの上流側と下流側との差圧を検出する圧力センサと、を備える車両に用いられ、前記圧力センサを用いて前記車両を診断する車両診断装置であって、
前記圧力センサを用いた前記車両の診断の実行が禁止されており、前記圧力配管内の水の凍結が推定される場合において、前記排気管の暖機が終了した後に、所定車速以下で走行した時間の積算値が時間判定値を超えたときには、前記圧力センサを用いた前記車両の診断の実行を許可する
車両診断装置。
続きを表示(約 370 文字)
【請求項2】
請求項1記載の車両診断装置であって、
前記エンジンの吸入空気量の積算値が空気量判定値以上になったときに、前記排気管の暖機が終了したと判定する
車両診断装置。
【請求項3】
請求項1記載の車両診断装置であって、
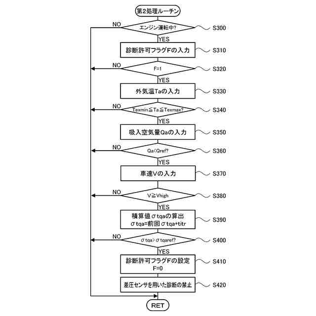
前記圧力センサを用いた前記車両の診断の実行が許可されており、前記圧力配管の凍結が推定される場合において、所定低負荷で走行した時間の積算値が低負荷時間判定値を超えているときには、前記圧力センサを用いた前記車両の診断の実行を禁止する
車両診断装置。
【請求項4】
請求項3記載の車両診断装置であって、
前記所定低負荷は、前記エンジンを閾値未満の吸入空気量で運転しており、且つ、車速が所定高車速以上の状態である、
車両診断装置。
発明の詳細な説明
【技術分野】
【0001】
本開示は、車両診断装置に関する。
続きを表示(約 2,500 文字)
【背景技術】
【0002】
従来、この種の車両診断装置としては、粒子状物質を捕集するフィルタが排気管に取り付けられたエンジンと、排気管のフィルタの上流側から分岐してフィルタをバイパスしてフィルタの下流側へ接続する圧力配管と、圧力配管に取り付けられフィルタの上流側と下流側との差圧を検出する圧力センサと、を備える車両に用いられ、圧力配管内の水の凍結を判定するものが提案されている(例えば、特許文献1参照)。この装置では、吸入空気量と排気管内の温度である排気温度とに基づいて排気管から圧力配管への受熱量を推定し、車速と外気温とに基づいて圧力配管の放熱量を推定する。そして、外気温やエンジンの冷却水温に基づいて圧力配管内の水の凍結を判定した後に、受熱量から放熱量を減じた値の積分値が圧力配管内部の融解熱量を超えたときに、圧力配管内の水の凍結の解除を判定している。
【先行技術文献】
【特許文献】
【0003】
特開2020-143595号公報
【発明の概要】
【発明が解決しようとする課題】
【0004】
上述の車両診断装置では、圧力配管の凍結の解除を判定する直前の圧力配管の受熱量と放熱量とを推定し、推定した圧力配管の受熱量と放熱量とから圧力配管の凍結の解除を判定している。しかし、圧力配管の凍結の解除を判定する直前の圧力配管の受熱量および放熱量の推定は誤差が大きく、圧力配管内の水の凍結の有無を精度よく判定できない。そのため、圧力センサを用いて車両状態を診断しようとすると、適正な診断ができないことがある。
【0005】
本開示の車両診断装置は、より適正に圧力センサを用いた車両の診断を実行することを主目的とする。
【課題を解決するための手段】
【0006】
本開示の車両診断装置は、上述の主目的を達成するために以下の手段を採った。
【0007】
本開示の車両診断装置は、
粒子状物質を捕集するフィルタが排気管に取り付けられたエンジンと、前記排気管の前記フィルタの上流側から分岐して前記フィルタをバイパスして前記フィルタの下流側へ接続する圧力配管と、前記圧力配管に取り付けられ前記フィルタの上流側と下流側との差圧を検出する圧力センサと、を備える車両に用いられ、前記圧力センサを用いて前記車両を診断する車両診断装置であって、
前記圧力センサを用いた前記車両の診断の実行が禁止されており、前記圧力配管内の水の凍結が推定される場合において、前記排気管の暖機が終了した後に、所定車速以下で走行した時間の積算値が時間判定値を超えたときには、前記圧力センサを用いた前記車両の診断の実行を許可する
ことを要旨とする。
【0008】
この本開示の車両診断装置では、圧力配管内の水の凍結が推定される場合において、排気管の暖機が終了した後に、低速で走行した時間の積算値が時間判定値を超えたときには、圧力センサを用いた車両の診断の実行を許可する。排気管の暖機が終了した後に、低速で走行した時間の積算値が時間判定値を超えたときには、暖機後の排気管の熱が圧力配管に充分に伝達し、走行風によっても圧力配管の温度が低下しない環境であることから、圧力配管の温度が上昇し、圧力配管内の水の凍結が解消されており、圧力センサを用いて車両を適正に診断できると考えられる。したがって、排気管の暖機が終了した後に、低速で走行した時間の積算値が時間判定値を超えたときには、圧力センサを用いた車両の診断の実行を許可する。この結果、より適正に圧力センサを用いた車両の診断を実行できる。ここで、「所定車速」としては、圧力配管の走行風による放熱が排気管からの受熱に比して小さくなる車速の上限値などを挙げることができる。「時間判定値」としては、圧力配管内の氷が融解する程度に走行風が小さい期間が長いか否かを判定するため時間の閾値として予め設定された値などを挙げることができる。
【0009】
こうした本開示の車両診断装置において、エンジンの吸入空気量の積算値が第2判定値以上になったときに、前記排気管の暖機が終了したと判定してもよい。エンジンの吸入空気量の積算値が大きいときには小さいときに比して排気管の温度が高くなると考えられる。したがって、エンジンの吸入空気量の積算値が空気量判定値以上になったときに、排気管の暖機が終了したと判定することにより、適正に排気管の暖機の終了を判定できる。ここで、「空気量判定値」としては、排気管の暖機が終了したか否かを判定するための吸気量の積算値の閾値として予め設定された値などを挙げることができる。
【0010】
また、本開示の車両診断装置において、前記圧力センサを用いた前記車両の診断の実行が許可されており、前記圧力配管の凍結が推定される場合において、所定低負荷で走行した時間の積算値が低負荷時間判定値を超えているときには、前記圧力センサを用いた前記車両の診断の実行を禁止してもよい。圧力配管内の水の凍結が推定される場合において、所定低負荷状態での走行の時間が長いときには短いときに比して、排気管の暖機が進まず排気管の温度の上昇が抑制され、圧力配管を充分に暖機することができない。そのため、圧力配管内の水分が凍結し、圧力センサを用いた車両の診断を実行すると誤診断する可能性がある。したがって、圧力センサを用いた車両の診断の実行が許可されており、圧力配管内の水の凍結が推定される場合において、所定低負荷で走行した時間の積算値が低負荷時間判定値を超えているときには、圧力センサを用いた車両の診断の実行を禁止することにより、圧力センサを用いた誤診断を抑制できる。ここで、「低負荷時間判定値」としては、排気管の暖機により圧力配管が受熱して内部の氷が融解しているか否かを判定するための閾値として予め設定された値を挙げることができる。
(【0011】以降は省略されています)
この特許をJ-PlatPat(特許庁公式サイト)で参照する
関連特許
トヨタ自動車株式会社
車両
3日前
トヨタ自動車株式会社
車両
28日前
トヨタ自動車株式会社
装置
27日前
トヨタ自動車株式会社
車両
7日前
トヨタ自動車株式会社
車両
26日前
トヨタ自動車株式会社
電池
7日前
トヨタ自動車株式会社
車両
1か月前
トヨタ自動車株式会社
装置
27日前
トヨタ自動車株式会社
車両
17日前
トヨタ自動車株式会社
車両
3日前
トヨタ自動車株式会社
車両
1か月前
トヨタ自動車株式会社
サーバ
11日前
トヨタ自動車株式会社
電動車
17日前
トヨタ自動車株式会社
ロータ
5日前
トヨタ自動車株式会社
モータ
18日前
トヨタ自動車株式会社
電動車
3日前
トヨタ自動車株式会社
電動車
3日前
トヨタ自動車株式会社
電動車
3日前
トヨタ自動車株式会社
電動車
5日前
トヨタ自動車株式会社
電解液
3日前
トヨタ自動車株式会社
回転子
18日前
トヨタ自動車株式会社
回転子
3日前
トヨタ自動車株式会社
駆動装置
25日前
トヨタ自動車株式会社
二次電池
7日前
トヨタ自動車株式会社
育苗装置
4日前
トヨタ自動車株式会社
蓄電装置
7日前
トヨタ自動車株式会社
蓄電装置
4日前
トヨタ自動車株式会社
制御装置
7日前
トヨタ自動車株式会社
電動車両
17日前
トヨタ自動車株式会社
電動車両
17日前
トヨタ自動車株式会社
溶接装置
1か月前
トヨタ自動車株式会社
内燃機関
17日前
トヨタ自動車株式会社
電動車両
3日前
トヨタ自動車株式会社
制御装置
3日前
トヨタ自動車株式会社
冷却構造
10日前
トヨタ自動車株式会社
制御装置
17日前
続きを見る
他の特許を見る