TOP
|
特許
|
意匠
|
商標
特許ウォッチ
Twitter
他の特許を見る
10個以上の画像は省略されています。
公開番号
2025148747
公報種別
公開特許公報(A)
公開日
2025-10-08
出願番号
2024049027
出願日
2024-03-26
発明の名称
洗浄水噴射ノズル
出願人
三菱重工業株式会社
代理人
弁理士法人酒井国際特許事務所
主分類
F28G
9/00 20060101AFI20251001BHJP(熱交換一般)
要約
【課題】洗浄水噴射ノズルにおいて、管支持板上に堆積する異物を除去する作業における作業性の向上を図る。
【解決手段】円筒形状をなすノズル本体と、ノズル本体の一端部に噴射孔が設けられるノズル部と、を備え、噴射孔は、中心軸線に対して異なる噴射角度をなす複数種類の噴射孔を有する。
【選択図】図6
特許請求の範囲
【請求項1】
円筒形状をなすノズル本体と、
前記ノズル本体の一端部に噴射孔が設けられるノズル部と、
を備え、
前記噴射孔は、中心軸線に対して異なる噴射角度をなす複数種類の噴射孔を有する、
洗浄水噴射ノズル。
続きを表示(約 440 文字)
【請求項2】
前記噴射孔は、前記中心軸線に対して45度以上の噴射角度をなす第1噴射孔と、前記中心軸線に対して45度未満の噴射角度をなす第2噴射孔とを有する、
請求項1に記載の洗浄水噴射ノズル。
【請求項3】
前記第1噴射孔は、前記中心軸線に対する噴射角度が60度であり、前記第2噴射孔は、前記中心軸線に対する噴射角度が40度である、
請求項2に記載の洗浄水噴射ノズル。
【請求項4】
前記第1噴射孔および前記第2噴射孔は、周方向に等間隔で複数設けられる、
請求項2または請求項3に記載の洗浄水噴射ノズル。
【請求項5】
前記第1噴射孔と前記第2噴射孔とは、周方向にずれて設けられる、
請求項4に記載の洗浄水噴射ノズル。
【請求項6】
前記第1噴射孔および前記第2噴射孔は、前記ノズル部の表面を展開したとき、千鳥格子形状をなして配置される、
請求項5に記載の洗浄水噴射ノズル。
発明の詳細な説明
【技術分野】
【0001】
本開示は、洗浄水噴射ノズルに関するものである。
続きを表示(約 1,500 文字)
【背景技術】
【0002】
原子力発電プラントは、原子炉、蒸気発生器、蒸気タービン、発電機などにより構成される。蒸気発生器は、胴部内に上下に間隔をあけて複数の管支持板や管板が配置され、管群外筒の内部に逆U字形状をなす複数の伝熱管が配置される。伝熱管は、端部が管板を貫通し、胴部の下端部に設けられた一次冷却水の入口側水室鏡と出口側水室鏡に連通する。また、複数の伝熱管は、長手方向の中間部が管群外筒に固定される複数の管支持板に支持される。
【0003】
蒸気発生器は、長期の使用により複数の伝熱管の表面にスケールが生成され、剥がれ落ちたスケールが管支持板上に堆積する。スケールは、蒸気発生器の内部の各種機器に対して損傷などを与える可能性があり、定期的に除去する必要がある。伝熱管の洗浄装置としては、例えば、下記特許文献1に記載されたものがある。
【先行技術文献】
【特許文献】
【0004】
特開2024-31500号公報
【発明の概要】
【発明が解決しようとする課題】
【0005】
従来の洗浄水噴射ノズルは、先端部に複数の穴が形成されて構成される。管支持板上に堆積したスケールを除去するとき、洗浄水噴射ノズルを管支持板上で隣接する伝熱管の間に挿入し、先端部の穴から洗浄水を噴射することでスケールを押し流す。従来の洗浄水噴射ノズルは、先端部の穴から一定の方向に向けて洗浄水を噴射することから、スケールの洗浄範囲が規定されてしまう。そのため、スケールの除去作業に長時間を要することとなり、作業時間の短縮が望まれている。
【0006】
本開示は、上述した課題を解決するものであり、管支持板上に堆積する異物を除去する作業における作業性の向上を図る洗浄水噴射ノズルを提供することを目的とする。
【課題を解決するための手段】
【0007】
上記の目的を達成するための本開示の洗浄水噴射ノズルは、円筒形状をなすノズル本体と、前記ノズル本体の一端部に噴射孔が設けられるノズル部と、を備え、前記噴射孔は、中心軸線に対して異なる噴射角度をなす複数種類の噴射孔を有する。
【発明の効果】
【0008】
本開示の洗浄水噴射ノズルによれば、管支持板上に堆積する異物を除去する作業における作業性の向上を図ることができる。
【図面の簡単な説明】
【0009】
図1は、蒸気発生器の内部構成を示す概略図である。
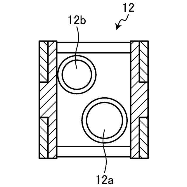
図2は、管支持板を示す概略図である。
図3は、実施形態に係る作業機器を表す模式図である。
図4は、作業機器の要部を表す概略図である。
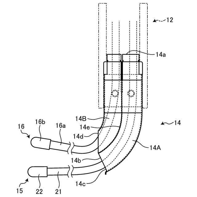
図5は、ケーブル収容体を表す水平断面図である。
図6は、洗浄水噴射ノズルを表す斜視図である。
図7は、洗浄水噴射ノズルを表す正面図である。
図8は、洗浄水噴射ノズルを表す図6のVII-VII断面図である。
図9は、洗浄水噴射ノズルを表す図6のVIII-VIII断面図である。
図10は、洗浄水噴射ノズルによる洗浄作業を表す概略図である。
【発明を実施するための形態】
【0010】
以下に図面を参照して、本開示の好適な実施形態を詳細に説明する。なお、この実施形態により本開示が限定されるものではなく、また、実施形態が複数ある場合には、各実施形態を組み合わせて構成するものも含むものである。また、実施形態における構成要素には、当業者が容易に想定できるもの、実質的に同一のもの、いわゆる均等の範囲のものが含まれる。
(【0011】以降は省略されています)
この特許をJ-PlatPat(特許庁公式サイト)で参照する
関連特許
三菱重工業株式会社
原子炉
18日前
三菱重工業株式会社
加熱装置
1か月前
三菱重工業株式会社
施工方法
24日前
三菱重工業株式会社
動力装置
1か月前
三菱重工業株式会社
ボイラ壁
1か月前
三菱重工業株式会社
遠心圧縮機
2日前
三菱重工業株式会社
原子力システム
3日前
三菱重工業株式会社
石膏脱水システム
24日前
三菱重工業株式会社
燃焼筒の取付方法
1か月前
三菱重工業株式会社
ガスタービン起動方法
1か月前
三菱重工業株式会社
ガスタービン制御方法
1か月前
三菱重工業株式会社
蒸気タービンシステム
1か月前
三菱重工業株式会社
燃焼設備および制御方法
1か月前
三菱重工業株式会社
ガス処理装置および方法
1か月前
三菱重工業株式会社
アンモニア除害システム
24日前
三菱重工業株式会社
シール装置及び回転機械
23日前
三菱重工業株式会社
評価装置および評価方法
3日前
三菱重工業株式会社
原子炉炉心および原子炉
18日前
三菱重工業株式会社
軸流圧縮機、及びその動翼
25日前
三菱重工業株式会社
計測システムおよび計測方法
1か月前
三菱重工業株式会社
水素吸蔵材料および原子力設備
1か月前
三菱重工業株式会社
支持部材及び接着剤の監視方法
24日前
三菱重工業株式会社
レドックスフロー電池システム
1か月前
三菱重工業株式会社
インバータ装置及びその保護方法
1か月前
三菱重工業株式会社
水位制御方法および水位制御装置
3日前
三菱重工業株式会社
演算方法、プログラム及び演算装置
1か月前
三菱重工業株式会社
電動ファンおよび電動垂直離着陸機
1か月前
三菱重工業株式会社
排ガス処理触媒及び排ガス処理方法
2日前
三菱重工業株式会社
インバータ基板及びインバータ装置
1か月前
三菱重工業株式会社
燃料製造システム、及び燃料製造方法
26日前
三菱重工業株式会社
RPB装置及び酸性ガス回収システム
1か月前
三菱重工業株式会社
制御装置、制御方法、及びプログラム
2日前
三菱重工業株式会社
圧縮機の静翼セグメント、及び圧縮機
24日前
三菱重工業株式会社
補修方法、プログラム、及び補修装置
25日前
三菱重工業株式会社
油圧防振装置および構造物の支持構造
4日前
三菱重工業株式会社
炉壁及びガス化炉並びに炉壁の製造方法
1か月前
続きを見る
他の特許を見る