TOP
|
特許
|
意匠
|
商標
特許ウォッチ
Twitter
他の特許を見る
公開番号
2025146164
公報種別
公開特許公報(A)
公開日
2025-10-03
出願番号
2024046801
出願日
2024-03-22
発明の名称
風力発電装置
出願人
三菱重工業株式会社
代理人
個人
,
個人
,
個人
主分類
F03D
17/00 20160101AFI20250926BHJP(液体用機械または機関;風力原動機,ばね原動機,重力原動機;他類に属さない機械動力または反動推進力を発生するもの)
要約
【課題】製造コストや維持コストを増加させずに風力発電装置の状態を検知するセンサへの電力供給を行う。
【解決手段】風車翼が取り付けられるハブ4と、ハブ4に連結されるとともに第1軸線X1回りに回転する回転軸と、第1ロータの第1軸線X1回りの回転に応じて電力を発生する発電機と、ハブまたは回転軸に取り付けられるとともにこれらの回転に応じて電力を発生する第1センサ用発電機21と、第1センサ用発電機21が発生する電力により動作する第1センサと、を備え、第1センサ用発電機21は、軸部材21aと、発電部21bと、軸部材21aに連結されるとともに軸部材21aが第2軸線X2回りに回転することを阻止する回転阻止部21dと、を備え、発電部21bのステータ21b2は、ハブ4に取り付けられるとともにハブ4の第1軸線X1回りの回転に応じて第1軸線X1回りに回転する風力発電装置を提供する。
【選択図】図3
特許請求の範囲
【請求項1】
風力発電装置であって、
第1軸線回りに回転するとともに該第1軸線回りの周方向に沿って複数の風車翼が取り付けられるハブと、
前記ハブに連結されるとともに前記第1軸線回りに回転する回転軸と、
前記回転軸とともに前記第1軸線回りに回転する第1ロータと、前記第1ロータを取り囲むように配置される第1ステータとを有し、前記第1ロータの前記第1軸線回りの回転に応じて電力を発生する第1発電機と、
前記ハブまたは前記回転軸に取り付けられるとともに前記ハブまたは前記回転軸の前記第1軸線回りの回転に応じて電力を発生する第2発電機と、
前記第2発電機が発生する電力により動作するとともに前記風力発電装置の状態を検知するセンサと、を備え、
前記第2発電機は、
第2軸線上に配置される軸部材と、
前記軸部材に連結されるとともに前記第2軸線回りに回転する第2ロータと、前記第2ロータを取り囲むように配置される第2ステータとを有し、前記第2ステータに対する前記第2ロータの前記第2軸線回りの回転に応じて電力を発生する発電部と、
前記軸部材または前記第2ステータのいずれか一方に連結されるとともに連結された前記軸部材または前記第2ステータのいずれか一方が前記第2軸線回りに回転することを阻止する回転阻止部と、を備え、
前記軸部材または前記第2ステータのいずれか他方は、前記ハブまたは前記回転軸に取り付けられるとともに前記ハブまたは前記回転軸の前記第1軸線回りの回転に応じて前記第1軸線回りに回転する風力発電装置。
続きを表示(約 540 文字)
【請求項2】
前記回転阻止部は、
前記軸部材または前記第2ステータのいずれか一方に連結される連結部材と、
前記連結部材の前記第2軸線から離間した端部に取り付けられる錘と、を有する請求項1に記載の風力発電装置。
【請求項3】
前記センサは、前記風車翼に取り付けられるとともに前記風車翼の歪みに応じた信号を出力する請求項2に記載の風力発電装置。
【請求項4】
前記センサは、前記回転軸に取り付けられるとともに前記回転軸の歪みに応じた信号を出力する請求項2に記載の風力発電装置。
【請求項5】
前記回転阻止部は、前記第2ステータに連結されており、
前記軸部材は、前記ハブまたは前記回転軸に取り付けられており、
前記第2発電機は、前記軸部材を取り囲むように配置されるとととともに前記発電部が発生する電力を外部へ供給するスリップリングを有する請求項1または請求項2に記載の風力発電装置。
【請求項6】
前記軸部材または前記第2ステータのいずれか他方は、前記第1軸線と前記第2軸線とが一致するように、前記ハブまたは前記回転軸に取り付けられる請求項1または請求項2に記載の風力発電装置。
発明の詳細な説明
【技術分野】
【0001】
本開示は、風力発電装置に関する。
続きを表示(約 2,000 文字)
【背景技術】
【0002】
従来、風車の羽根の長手方向の中央部に電気抵抗線式歪みゲージを設け、計測器と電気配線で接続して歪みを測定し、歪みの振動数や大きさによって複合材が破損するまでの寿命を推定する技術が知られている(例えば、特許文献1参照)。特許文献1には、風車のロータ部に計測器を配置し、計測器と地上設備とを電気配線により接続し、地上設備から計測器へ電気配線を介して電力を供給することが開示されている。
【先行技術文献】
【特許文献】
【0003】
特開2001-183114号公報
【発明の概要】
【発明が解決しようとする課題】
【0004】
特許文献1に開示される技術では、地上設備から計測器への電力供給用が可能な電気配線を設ける必要があるため、電気配線や電力供給が可能な地上設備を設置する必要があり、製造コストや設備の維持コストが増大してしまう。また、例えば、風車のロータ部に計測器への電力供給が可能な充電池等を設けることが考えられるが、充電池を定期的に交換するための維持コスト等が必要となってしまう。
【0005】
本開示は、このような事情に鑑みてなされたものであって、製造コストや維持コストを増加させずに風力発電装置の状態を検知するセンサへの電力供給を行うことが可能な風力発電装置を提供することを目的とする。
【課題を解決するための手段】
【0006】
本開示の一態様に係る風力発電装置は、第1軸線回りに回転するとともに該第1軸線回りの周方向に沿って複数の風車翼が取り付けられるハブと、前記ハブに連結されるとともに前記第1軸線回りに回転する回転軸と、前記回転軸とともに前記第1軸線回りに回転する第1ロータと、前記第1ロータを取り囲むように配置される第1ステータとを有し、前記第1ロータの前記第1軸線回りの回転に応じて電力を発生する第1発電機と、前記ハブまたは前記回転軸に取り付けられるとともに前記ハブまたは前記回転軸の前記第1軸線回りの回転に応じて電力を発生する第2発電機と、前記第2発電機が発生する電力により動作するとともに前記風力発電装置の状態を検知するセンサと、を備え、前記第2発電機は、第2軸線上に配置される軸部材と、前記軸部材に連結されるとともに前記第2軸線回りに回転する第2ロータと、前記第2ロータを取り囲むように配置される第2ステータとを有し、前記第2ステータに対する前記第2ロータの前記第2軸線回りの回転に応じて電力を発生する発電部と、前記軸部材または前記第2ステータのいずれか一方に連結されるとともに連結された前記軸部材または前記第2ステータのいずれか一方が前記第2軸線回りに回転することを阻止する回転阻止部と、を備え、前記軸部材または前記第2ステータのいずれか他方は、前記ハブまたは前記回転軸に取り付けられるとともに前記ハブまたは前記回転軸の前記第1軸線回りの回転に応じて前記第1軸線回りに回転する。
【発明の効果】
【0007】
本開示によれば、製造コストや維持コストを増加させずに風力発電装置の状態を検知するセンサへの電力供給を行うことが可能な風力発電装置を提供することができる。
【図面の簡単な説明】
【0008】
本開示の第1実施形態に係る風力発電装置を示す概略構成図である。
図1に示すA部分の部分断面図である。
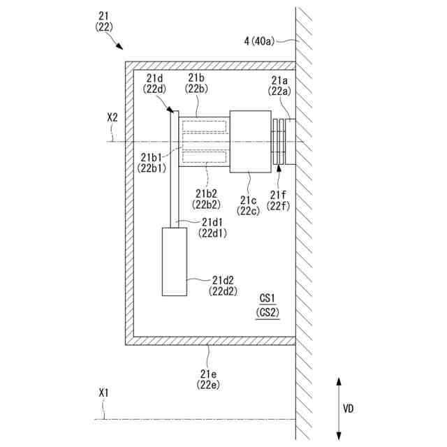
図2に示す第1センサ用発電機の縦断面図である。
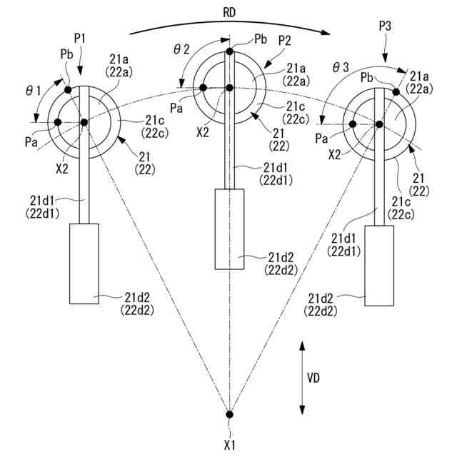
図3に示す第1センサ用発電機を第1軸線に沿ってみた図である。
本開示の第2実施形態に係る風力発電装置の歪みセンサ用発電機の縦断面図である。
図5に示す第1センサ用発電機を第1軸線に沿ってみた図である。
【発明を実施するための形態】
【0009】
〔第1実施形態〕
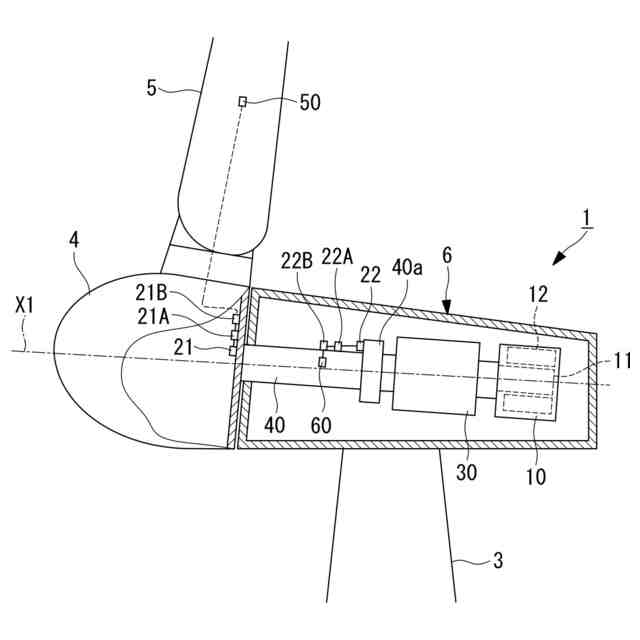
以下、本開示に係る第1実施形態について、図面を参照して説明する。図1は、本開示の第1実施形態に係る風力発電装置1を示す概略構成図である。図1に示すように、風力発電装置1は、設置面B上に鉛直方向VDに沿って立設されるタワー3と、タワー3の上端に設置されるナセル6と、略水平な第1軸線X1回りに回転可能にしてナセル6に設けられたハブ4とを有する。
【0010】
ハブ4は、第1軸線X1回りに回転するとともに第1軸線X1回の周方向に沿って放射状に複数枚(例えば3枚)の風車翼5が取り付けられる装置である。第1軸線X1方向から風車翼5に当たった風の力により、ハブ4が第1軸線X1周りに回転する。ハブ4の回転により得られた動力は発電機10によって電力に変換され、外部へと供給される。
(【0011】以降は省略されています)
この特許をJ-PlatPat(特許庁公式サイト)で参照する
関連特許
三菱重工業株式会社
皮膜形成装置
5日前
三菱重工業株式会社
ポンプシステム
5日前
三菱重工業株式会社
メタン酸化触媒装置
5日前
三菱重工業株式会社
炭化炉及びその制御方法
5日前
三菱重工業株式会社
バーナ及びこれを備えたボイラ
5日前
三菱重工業株式会社
バーナ及びこれを備えたボイラ
5日前
三菱重工業株式会社
水素製造システム及び水素製造方法
5日前
三菱重工業株式会社
電解セルカートリッジおよびその製造方法
今日
三菱重工業株式会社
電解モジュールの冷却方法及び電解システム
5日前
三菱重工業株式会社
接着剤の膜厚測定方法、および接合部材の製造方法
今日
三菱重工業株式会社
経路設定方法、移動体、管理システム及びプログラム
今日
三菱重工業株式会社
タービン架台及びタービン装置並びにタービン架台の製造方法
5日前
三菱重工業株式会社
粉砕テーブル及び固体燃料粉砕装置並びに粉砕テーブルの補修方法
5日前
三菱重工業株式会社
制御装置、ガスタービンの燃料供給系統、制御方法及びプログラム
1日前
三菱重工業株式会社
熱電併給用蒸気生成システム及び熱電併給システム並びに熱電併給用蒸気生成方法
5日前
三菱重工業株式会社
ガスタービン制御装置、ガスタービン制御方法、及び、ガスタービン制御プログラム
1日前
三菱重工業株式会社
放射性廃棄物収納用セパレータ、放射性廃棄物収納容器および放射性廃棄物収納方法
1日前
三菱重工業株式会社
炭素強度演算装置、これを用いた合成燃料製造プラント、炭素強度演算方法及び炭素強度演算プログラム
5日前
三菱重工業株式会社
CO2回収装置用蒸気生成システム及びこれを備えたCO2回収装置並びにCO2回収装置用蒸気生成方法
5日前
個人
小水力発電器
1日前
個人
水力発電用水の循環活動
16日前
個人
波受け板を用いた波浪発電装置
8日前
株式会社ライトエンジ
推力発生方法
16日前
三菱電機株式会社
風力発電システム
16日前
三菱重工業株式会社
風力発電装置
12日前
ダイキン工業株式会社
流体機械
7日前
個人
暴風・洪水でも折れず、風速・河川流速の増速が出来る風水車羽根装置
12日前
華能広西清潔能源有限公司
風力発電機の角度修正方法および修正装置
12日前
セイコーフューチャークリエーション株式会社
浮標発電装置
26日前
太平電業株式会社
地熱利用システム
6日前
Yellow Duck株式会社
流体発電装置及び流体発電システム
8日前
株式会社日本海洋発電
水流発電装置
12日前
株式会社グローバルエナジー
風力発電システム及びその制御方法
19日前
個人
風力発電のアイドラーホイールの等速回転を制御する速度制御装置
12日前
日鉄エンジニアリング株式会社
洋上風車システム
12日前
ダイキン工業株式会社
発電システムの制御装置、発電システム、水力発電システム
7日前
続きを見る
他の特許を見る