TOP
|
特許
|
意匠
|
商標
特許ウォッチ
Twitter
他の特許を見る
公開番号
2025148161
公報種別
公開特許公報(A)
公開日
2025-10-07
出願番号
2024048779
出願日
2024-03-25
発明の名称
流体発電装置及び流体発電システム
出願人
Yellow Duck株式会社
代理人
個人
,
個人
主分類
F03B
13/20 20060101AFI20250930BHJP(液体用機械または機関;風力原動機,ばね原動機,重力原動機;他類に属さない機械動力または反動推進力を発生するもの)
要約
【課題】発電用回転軸部の軸回りで回動部が回動することにより発電する流体発電装置において、安定した発電を実現する。
【解決手段】流体中で浮力を発生させる浮体部102と、浮体部に支持される発電用回転軸部の軸回りで回動する回動部130と、回動部における発電用回転軸部の軸回りの回動によって発電する発電部140と、を備える流体発電装置100であって、浮体部は、長尺な形状であり、発電用回転軸部は、浮体部の長手方向に延びるように浮体部に支持されており、浮体部には、浮体部の長手方向が略鉛直方向を向いた姿勢にする重り部110が設けられている。
【選択図】図6
特許請求の範囲
【請求項1】
流体中で浮力を発生させる浮体部と、
前記浮体部に支持される発電用回転軸部の軸回りで回動する回動部と、
前記回動部における前記発電用回転軸部の軸回りの回動によって発電する発電部と、を備える流体発電装置であって、
前記浮体部は、長尺な形状であり、
前記発電用回転軸部は、前記浮体部の長手方向に延びるように該浮体部に支持されており、
前記浮体部には、該浮体部の長手方向が略鉛直方向を向いた姿勢にする重り部が設けられていることを特徴とする流体発電装置。
続きを表示(約 1,300 文字)
【請求項2】
請求項1に記載の流体発電装置において、
前記重り部は、前記浮体部の長手方向下端部又はその近傍に配置されていることを特徴とする流体発電装置。
【請求項3】
請求項2に記載の流体発電装置において、
前記重り部は、前記浮体部の長手方向の半分以上が流体中に位置するように構成されていることを特徴とする流体発電装置。
【請求項4】
請求項3に記載の流体発電装置において、
前記重り部は、前記浮体部の長手方向上端部が流体面よりも上側に位置するように構成されていることを特徴とする流体発電装置。
【請求項5】
請求項4に記載の流体発電装置において、
前記浮体部の長手方向上端部が流体面よりも上側に位置する第一位置と流体面よりも下側に位置する第二位置との間で、前記浮体部の上下方向位置を切り替える位置切替部を有することを特徴とする流体発電装置。
【請求項6】
少なくとも一部が流体中に配置されるハウジング部と、
発電用回転軸部の軸回りで回動する回動部と、
前記回動部における前記発電用回転軸部の軸回りの回動によって発電する発電部と、を備える流体発電装置であって、
前記ハウジング部が該ハウジング部の軸線回りで回転自在な状態で、該ハウジング部と外部の係留部とを連結する連結部と、
流体の流れを受けることで前記ハウジング部を前記軸線回りに回転させる羽部と、を有し、
前記回動部及び前記発電部は、前記ハウジング部内に配置され、
前記ハウジング部の軸線回りの回転により、前記発電用回転軸部と前記回動部とが該発電用回転軸部の軸回りで相対的に回動するように構成されていることを特徴とする流体発電装置。
【請求項7】
請求項6に記載の流体発電装置において、
前記発電用回転軸部は、前記ハウジングの軸線上に配置され、該ハウジング部の軸線回りで該ハウジング部と一体回転するように構成されていることを特徴とする流体発電装置。
【請求項8】
請求項6又は7に記載の流体発電装置において、
前記回動部は、当該流体発電装置の重心と当該流体発電装置の浮力とのバランスで前記ハウジング部の軸線方向を略水平方向に向かせる位置になるように、配置されていることを特徴とする流体発電装置。
【請求項9】
複数の流体発電装置を備える流体発電システムであって、
前記複数の流体発電装置は、請求項1乃至5のいずれか1項に記載される流体発電装置及び請求項6又は7に記載される流体発電装置のうちの少なくとも一方の流体発電装置を含むことを特徴とする流体発電システム。
【請求項10】
請求項9に記載の流体発電システムにおいて、
請求項1乃至5のいずれか1項に記載される流体発電装置における前記浮体部の長手方向下端部に接続される接続部材を介して、請求項6又は7に記載される流体発電装置における前記ハウジング部と前記連結部によって外部の係留部に連結されていることを特徴とする流体発電システム。
発明の詳細な説明
【技術分野】
【0001】
本発明は、流体に生じる波(あるいは波浪)の力や海流又は潮流などの流体の流れを利用して発電する流体発電装置及び流体発電システムに関する。
続きを表示(約 2,800 文字)
【背景技術】
【0002】
従来、水面や海面などの流体面に浮かべられる浮体部に支持された回転軸部(発電用回転軸部)の軸回りで回動部が回動することにより発電を行う波力発電装置(流体発電装置)が知られている。このような波力発電装置は、波の動きによって浮体部に軸回りの回動が生じることにより、浮体部に支持された回転軸部の軸回りで回動部が回動し、その回動運動から電力を発生させる(特許文献1~2など)。
【先行技術文献】
【特許文献】
【0003】
実開昭60-159886号公報
特開2018-040342号公報
【発明の概要】
【発明が解決しようとする課題】
【0004】
ところが、発電用回転軸部の軸回りで回動部が回動することにより発電する従来の流体発電装置は、安定して電力を発生させることが難しいという課題がある。
【課題を解決するための手段】
【0005】
上述した課題を解決するために、本発明は、流体面に浮かべられる浮体部と、前記浮体部に支持される発電用回転軸部の軸回りで回動する回動部と、前記回動部における前記発電用回転軸部の軸回りの回動によって発電する発電部と、を備える流体発電装置であって、前記浮体部は、長尺な形状であり、前記発電用回転軸部は、前記浮体部の長手方向に延びるように該浮体部に支持されており、前記浮体部には、該浮体部の長手方向が略鉛直方向を向いた姿勢にする重り部が設けられていることを特徴とする。
【発明の効果】
【0006】
本発明によれば、発電用回転軸部の軸回りで回動部が回動することにより発電する流体発電装置において、安定した発電を実現することができる。
【図面の簡単な説明】
【0007】
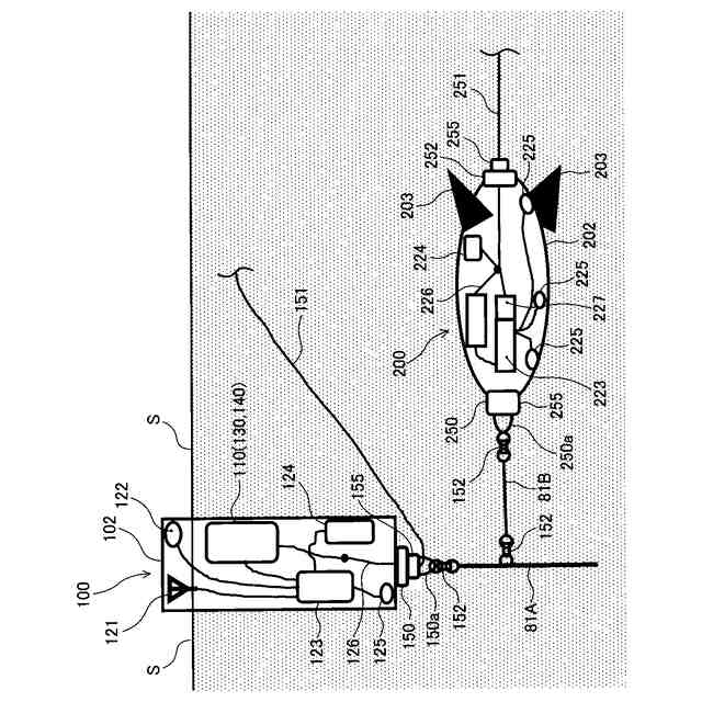
実施形態におけるハイブリッド発電ユニットの一例を示す説明図。
同ハイブリッド発電ユニットを構成する機能ブロックを示す説明図。
他の例に係るハイブリッド発電ユニットを構成する機能ブロックを示す説明図。
同ハイブリッド発電ユニットに含まれる縦軸型波力発電装置の発電機構部を示す斜視図。
同縦軸型波力発電装置の長手方向下端部側における発電機構部の一部を示す断面図。
(a)は、海面に浮いている浮体部の長手方向が略鉛直方向を向いた縦軸型波力発電装置の姿勢を示す説明図。(b)は、海面に浮いている浮体部の長手方向が略鉛直方向から傾斜した縦軸型波力発電装置の姿勢を示す説明図。
同ハイブリッド発電ユニットに含まれる水中回転型発電装置の形状の一例を示す図。
ハウジング部の長手方向が略水平方向を向いた水中回転型発電装置の姿勢を示す説明図。
同水中回転型発電装置に用いられるスリップリングの構成を示す模式図。
(a)は、浮体部の長手方向上端部が海面よりも上側に位置する浮上位置に縦軸型波力発電装置が位置する状態を示す説明図。(b)は、浮体部の長手方向上端部が海面よりも下側に位置する沈降位置に縦軸型波力発電装置が位置する状態を示す説明図。
(a)は、縦軸型波力発電装置が浮上位置に位置する状態におけるバラスト装置を示す説明図。(b)は、縦軸型波力発電装置が沈降位置に位置する状態におけるバラスト装置を示す説明図。
同バラスト装置の構成を示す模式図。
縦軸型波力発電装置と水中回転型発電装置の発電原理の一例を模式的に図示した説明図。
錘のコスト課題を解決する為に、空気室を有する液体タンクを用いた縦軸型波力発電装置の発電原理の一例を説明するための模式図。
錘のコスト課題を解決する為に、空気室を有する液体タンクを用いた水中回転型発電装置の発電原理の一例を説明するための模式図。
風受け板を有する縦軸型波力発電装置の動作状況を図示した説明図。
縦軸型波力発電装置や水中回転型発電装置で用いることが可能な制御システムを図示した説明図。
漁港や港湾に設置された自然エネルギーにより発電をおこなう多種類の発電装置(風力発電装置、太陽光発電装置、波力発電装置、水中回転型発電装置)と漁港や港湾部、等の陸上に設けられたEV充電ステーションを図示した説明図。
多種類からなる複数種類の発電装置からEV充電ステーションへ電力を供給する電力供給系統を図示した説明図。
多種類発電装置と浮体大容量蓄電池と陸上EV充電ステーションとを図示した説明図。
波力発電装置・潮力発電装置と陸上水素製造充填ステーションとを図示した説明図。
波力発電装置・潮力発電装置・水素製造運搬船と水素充填ステーションとを図示した説明図。
縦軸型波力発電装置と水中回転型発電装置からなる海洋エネルギー発電装置と、物理的構造物である水素製造充填船からなる水上水素製造充填ステーションを図示した説明図。
水上係留型水素製造充填ステーションの一例を示す説明図。
水上プラットフォーム型水素製造充填ステーションの一例を示す説明図。
水上係留型水素充填ステーションの一例を示す説明図。
水上プラットフォーム型水素充填ステーションの一例を示す説明図。
水上水素充填ステーションの制御システムを図示した説明図。
【発明を実施するための形態】
【0008】
以下、本発明に係る流体発電装置の実施形態について、図面を参照して説明する。
以下の説明では、流体発電装置を洋上(海上)で使用する場合を例に挙げて説明するが、流体の波あるいは波浪が生じる場所であれば、洋上(海上)に限らず、川や湖などの水面上、沿岸、プールなどの人工物に貯留された流体上などで使用されてもよい。
【0009】
まず、本発明に係る流体発電装置を複数備えた流体発電ユニットであるハイブリッド発電ユニットの一実施形態について説明する。
図1は、本実施形態におけるハイブリッド発電ユニット1の一例を示す説明図である。
なお、図1の例では、複数のハイブリッド発電ユニット1が図示されている。
【0010】
本実施形態のハイブリッド発電ユニット1は、縦軸型の流体発電装置である縦軸型波力発電装置100と、横軸型の流体発電装置である水中回転型発電装置200と、水上係留装置300とを含む。水上係留装置300は、縦軸型波力発電装置100及び水中回転型発電装置200を係留するための外部の係留部としての機能を有する。水上係留装置300は、縦軸型波力発電装置100及び水中回転型発電装置200の設置場所を移動させるために、推進スクリューなどの移動手段301を備えていてもよい。
(【0011】以降は省略されています)
この特許をJ-PlatPat(特許庁公式サイト)で参照する
関連特許
個人
風力発電機
2か月前
個人
小水力発電器
1日前
個人
風車用回転翼
2か月前
個人
磁力スロープ
2か月前
個人
折り畳み式風車
2か月前
個人
風力発電装置
1か月前
個人
閉空間推進移動装置
1か月前
東レ株式会社
風車ブレード
1か月前
個人
水力発電用水の循環活動
16日前
個人
波受け板を用いた波浪発電装置
8日前
株式会社 林物産発明研究所
発電装置
26日前
株式会社ゲットクリーンエナジー
発電機
1か月前
個人
水車発電と水の循環供給装置
1か月前
株式会社ライトエンジ
推力発生方法
16日前
三菱電機株式会社
風力発電システム
16日前
株式会社リコー
水力発電装置
2か月前
株式会社アイシン
発電装置
2か月前
株式会社アイシン
発電装置
1か月前
株式会社大林組
リフトアップ装置
27日前
株式会社大林組
リフトアップ装置
27日前
個人
波力発電ユニット及び波力発電システム
1か月前
三菱重工業株式会社
風力発電装置
12日前
パナテックス株式会社
発電装置
1か月前
日本精工株式会社
風力発電装置
2か月前
ダイキン工業株式会社
流体機械
7日前
株式会社リアムウィンド
流体発電装置及び流体発電方法
1か月前
株式会社デンソー
熱音響装置
2か月前
個人
暴風・洪水でも折れず、風速・河川流速の増速が出来る風水車羽根装置
12日前
華能広西清潔能源有限公司
風力発電機の角度修正方法および修正装置
12日前
株式会社サンノハシ
風力発電装置
2か月前
大成建設株式会社
浮体式基礎の製作方法
1か月前
個人
羽の回転軌道に接点を持つと共に、羽の回転が同期する、二つの抗力型風車
1か月前
セイコーフューチャークリエーション株式会社
浮標発電装置
26日前
国立研究開発法人宇宙航空研究開発機構
電圧発生装置
2か月前
JOP株式会社
発電装置
2か月前
三菱重工業株式会社
風車翼補修装置、及び、風車翼補修方法
1か月前
続きを見る
他の特許を見る