TOP
|
特許
|
意匠
|
商標
特許ウォッチ
Twitter
他の特許を見る
公開番号
2025159674
公報種別
公開特許公報(A)
公開日
2025-10-21
出願番号
2024070962
出願日
2024-04-08
発明の名称
岸壁などに設置する波力発電装置
出願人
個人
代理人
主分類
F03B
13/18 20060101AFI20251014BHJP(液体用機械または機関;風力原動機,ばね原動機,重力原動機;他類に属さない機械動力または反動推進力を発生するもの)
要約
【課題】波の上昇と下降を判別する方向判別装置を必要とせず、方向判別装置で第1電磁クラッチ、第2電磁クラッチの作動を切り替えることもなく、発電機に駆動トルクを伝達でき、独自の電源を必要とせず、信頼性に優れた波力発電装置を提供する
【解決手段】ラックとピニオンの組み合わせを2組にして、組み合わせAは、波が上昇時に回転して増速機構4に回転トルク力を伝達し、波の下降時は空転する一方向クラッチA 6aと、組み合わせBは、波が上昇時に空転し、波の下降時は増速機構4に回転トルク力を伝達する一方向クラッチB 6bを設けたものである。
【選択図】図2
特許請求の範囲
【請求項1】
海面に浮上して波により上下動をするフロ-トと、このフロ-トに接続されて上下動をする2個のラックA、ラックBと、このラックA、ラックBの上下動で回転する2個のピニオンA、ピニオンBと、このピニオンA、ピニオンBの回転数を増速して発電機に伝える増速機構と、この増速機構により回転して発電をする発電機と、波により前記ラックAの上昇時に前記ピニオンAが前記増速機構に回転トルク力を伝達し、波によりラックAの下降時はピニオンAを空転させる一方向クラッチAと、波によりラックBが上昇時にピニオンBを空転させ、波によりラックBの下降時はピニオンBが前記増速機構に回転トルク力を伝達する一方向クラッチBとから構成された岸壁等設置型波力発電装置。
続きを表示(約 720 文字)
【請求項2】
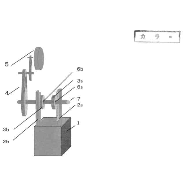
一方向クラッチAはピニオンAと同心に配列してピニオンAの回転を制御し、一方向クラッチBはピニオンBと同心に配列してピニオンBの回転を制御し、一方向クラッチAと一方向クラッチBは共に増速機構の第1段の軸に挿入配列した請求項1記載の岸壁等設置型波力発電装置。
【請求項3】
一方向クラッチを中心部に収納し、断面形状はΩ形で半径方向に開口部を設け、この開口部はねじで前記一方向クラッチ外周を締め付けて固定する。さらに軸方向の断面形状はL形にして軸と垂直の円形の面に前記ピニオンを固定したクラッチ・ピニオン固定ブロックを設けた請求項1記載の岸壁等設置型波力発電装置。
【請求項4】
2個のクラッチ・ピニオン固定ブロックを増速機構の第1段の軸に挿入設置し、2個のクラッチ・ピニオン固定ブロックが軸方向に移動しないように2個のクラッチ・ピニオン固定ブロックの中間及び両外側に移動防止リングを設けた請求項1記載の岸壁等設置型波力発電装置。
【請求項5】
一方向クラッチAと一方向クラッチBは、増速機構の第1段の軸に挿入固定し表面に結合用ネジを設けた固定部品と、スプロケットを有し、1方向クラッチ機能を持ち、前記固定部品と結合するネジを設けた自転車用のフリ-ホイ-ルから成り、前期ピニオンAとピニオンBは、フリ-ホイ-ルのスプロケットの形状に合わせた切り欠き部を設け、この切り欠き部に収納されたスプロケットが移動しないように両面から挟んで固定するピニオン固定板から成り、2個のフリホイ-ルは回転トルク力を伝達する回転方向は互いに異なるようにした請求項1記載の岸壁等設置型波力発電装置。
発明の詳細な説明
【技術分野】
【0001】
本発明は海の波のエネルギ-を利用して発電する波力発電において、装置を岸壁などに設置し、波で上下動するフロ-トの動きを発電機に伝えて発電する波力発電装置に関する。
続きを表示(約 2,000 文字)
【背景技術】
【0002】
軸方向を垂直方向として水中に係留される支持部と、この支持部に沿って上下移動可能な状態に配置されるフロートとを備え、水面の高低運動よりフロートが上下運動するときのエネルギを利用して発電を行う波力発電装置が種々提案されている。
【0003】
特許文献1の波力発電装置は、図6において海中に立設される支持部30と、支持部30に支持され海面を上下動する可動部と、発電機61と、を有する波力発電装置であって、支持部30又は可動部のいずれか一方にラック32が設けられ、いずれか他方にラック32に噛合する第1ピニオンギア52及び第2ピニオンギア55と、発電機61を回転させる第1ギア54と第1ピニオンギア52を接続する第1電磁クラッチ53と、回転方向を反転させる方向反転用ギア58を介して発電機61を回転させる第2ギア57と第2ピニオンギア55を接続する第2電磁クラッチ56と、両ピニオンギアの回転方向を判別する方向判別装置51と、が設けられ、方向判別装置51が、両ピニオンギアは正転回転であると判別した場合に、第1電磁クラッチ53を接続し、逆転回転であると判別した場合に、第2電磁クラッチ56を接続する。
【先行技術文献】
【特許文献】
【0004】
特許7160877公報
【発明の概要】
【発明が解決しようとする課題】
【0005】
しかしながら特許文献1の波力発電装置は、両ピニオンギアの回転方向を判別する方向判別装置51を設けて、両ピニオンギアは正転回転であると判別した場合に、第1電磁クラッチ53を接続し、逆転回転であると判別した場合に、第2電磁クラッチ56を接続するように複雑な制御を用いている。
【0006】
波の上昇と下降は数秒以内で切り替わるため、この判別をするには方向判別装置51を必要とし、装置の使用年数を10年、20年単位で検討すると方向判別装置51、第1電磁クラッチ53、第2電磁クラッチ56の信頼性、耐久性の点からは大きな課題である。さらに起動時は発電電力が無いため、方向判別装置51、第1電磁クラッチ53、第2電磁クラッチ56を作動させるための独自の電源を必要とすることも課題である。
【0007】
そこで本発明は、波の上昇と下降を判別する方向判別装置を必要とせず、方向判別装置で第1電磁クラッチ、第2電磁クラッチの作動を切り替えることもなく、発電機に駆動トルクを伝達でき、独自の電源を必要とせず、信頼性に優れた波力発電装置を提供することを目的とする。
【課題を解決するための手段】
【0008】
上記課題を解決するために本発明の請求項1に記載の波力発電装置は、ラックとピニオンの組み合わせを2組にして、組み合わせAは、波が上昇時に回転して前記増速機構に回転トルクを伝達し、波の下降時は空転する一方向クラッチAと、組み合わせBは、波が上昇時に空転し、波の下降時は前記増速機構に回転トルクを伝達する一方向クラッチBを設けたものである。
この構成では波によりフロ-トが上昇すると連結したラックAも上昇し、ピニオンAが回転すると一方向クラッチAは増速機構に回転を伝達する。一方、ラックBも上昇してピニオンBを回転させる。一方向クラッチBは空転して増速機構に回転を伝えない。
波によりフロ-トが下降すると連結したラックAも下降し、ピニオンAが回転すると一方向クラッチAは空転して増速機構に回転を伝達しない。一方、ラックBも下降してピニオンBを回転させる。一方向クラッチBは増速機構に回転を伝える。
【0009】
請求項2に記載の波力発電装置は、一方向クラッチAとピニオンAは同心に配列接続し、一方向クラッチBとピニオンBも同心に配列接続し、共に増速機構の第1段の軸に挿入設置したものである。
この構成では、波の上昇時と下降時に一方向クラッチAと一方向クラッチBが同じ増速機構の第1段の軸に回転トルクを伝達し、慣性力も加わり、一方向クラッチAと一方向クラッチBによる回転トルクの切り替わる場合に回転数が大きく変動せずに円滑に発電機を回転させることができる。
【0010】
請求項3に記載の波力発電装置は、一方向クラッチを中心部に収納し、断面形状はΩ形で半径方向に開口部を設け、この開口部はねじで前記一方向クラッチ外周を締め付けて固定する。さらに軸方向の断面形状はL形にして軸と垂直の円形の面に前記ピニオンを固定したクラッチ・ピニオン固定ブロックを設けたものである。
この構成では、一方向クラッチとピニオンが一体となって増速機構の第1段の軸に回転トルクを伝達できる。
(【0011】以降は省略されています)
この特許をJ-PlatPat(特許庁公式サイト)で参照する
関連特許
個人
小水力発電器
1か月前
個人
サボニウス風車
1か月前
個人
水力発電用水の循環活動
2か月前
個人
水中での上下動による発電
19日前
Orbray株式会社
発電装置
1か月前
個人
波受け板を用いた波浪発電装置
2か月前
個人
岸壁などに設置する波力発電装置
1か月前
株式会社 林物産発明研究所
発電装置
2か月前
個人
水車発電と水の循環供給装置
3か月前
三菱電機株式会社
風力発電システム
2か月前
個人
上下運動を回転運動に変換する装置。
1か月前
株式会社ライトエンジ
推力発生方法
2か月前
株式会社大林組
リフトアップ装置
10日前
株式会社大林組
リフトアップ装置
2か月前
株式会社大林組
リフトアップ装置
10日前
株式会社大林組
リフトアップ装置
2か月前
株式会社酉島製作所
多段式流体機械
1か月前
個人
波力発電ユニット及び波力発電システム
2か月前
三菱重工業株式会社
風力発電装置
2か月前
サイエンスリサーチ株式会社
垂直軸型風車
5日前
株式会社大林組
リフトアップ装置の制御装置
1か月前
国立大学法人 岡山大学
回転装置
18日前
ダイキン工業株式会社
流体機械
2か月前
合同会社DARRIEUS
可変ピッチ機構及び発電装置
1か月前
株式会社AG life partner’s
循環型発電システム
10日前
個人
大車輪の上部から加重力を与え回転力を得て合せて発電を得る構造
1か月前
株式会社ノワール
潮流発電システム
1か月前
華能広西清潔能源有限公司
風力発電機の角度修正方法および修正装置
2か月前
個人
暴風・洪水でも折れず、風速・河川流速の増速が出来る風水車羽根装置
2か月前
セイコーフューチャークリエーション株式会社
浮標発電装置
2か月前
個人
羽の回転軌道に接点を持つと共に、羽の回転が同期する、二つの抗力型風車
2か月前
Yellow Duck株式会社
流体発電装置及び流体発電システム
2か月前
太平電業株式会社
地熱利用システム
2か月前
株式会社大林組
ステーリングの取付方法及びステーリングの運搬装置
2か月前
関電プラント株式会社
導線の断線検出方法
1か月前
東芝エネルギーシステムズ株式会社
風車点検装置及び風車点検方法
18日前
続きを見る
他の特許を見る