TOP
|
特許
|
意匠
|
商標
特許ウォッチ
Twitter
他の特許を見る
公開番号
2025158717
公報種別
公開特許公報(A)
公開日
2025-10-17
出願番号
2024061534
出願日
2024-04-05
発明の名称
導線の断線検出方法
出願人
関電プラント株式会社
,
株式会社Dshift
代理人
個人
,
個人
,
個人
主分類
F03D
80/30 20160101AFI20251009BHJP(液体用機械または機関;風力原動機,ばね原動機,重力原動機;他類に属さない機械動力または反動推進力を発生するもの)
要約
【課題】風力発電設備において正確に断線箇所を検出することができる導線の断線検出方法を提供する。
【解決手段】複数のブレードとナセルとタワーと受雷部と導線とを備え、導線は、受雷部からタワー側へ電流を流し、受雷部から前記タワーに沿って地面の接地部までを結ぶ接地経路の一部をなす風力発電設備の導線の断線検出方法である。夫々の導線の主軸側において、接地経路が導通する状態と導通しない状態との切り替えが可能であり、任意のブレードに設けられた第1の導線の主軸側及び前記ブレードと異なるブレードに設けられた第2の導線の主軸側において、前記接地経路が導通しない状態として、前記第1の導線と第2の導線とに同時に前記主軸側から交流信号を印加することにより第1及び第2の導線に磁界を発生させ、第1の導線及び/又は第2の導線に沿う方向で、第1の導線及び/又は第2の導線に発生した磁界の強さの変化を検出する。
【選択図】図6
特許請求の範囲
【請求項1】
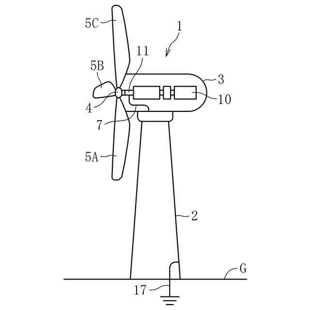
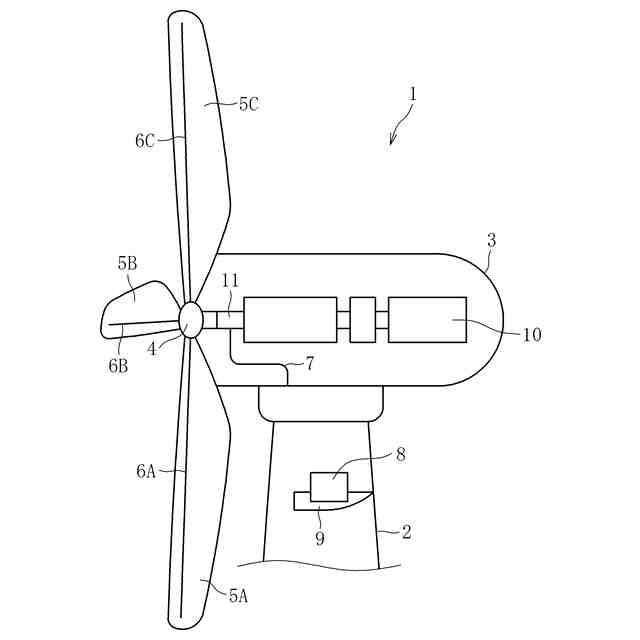
風を受けて主軸と一体的に回転する複数のブレードと、前記主軸を支持するナセルと、前記ナセルを支持し地面に立設されるタワーと、夫々のブレードの先端側に設けられた受雷部と、前記ブレードに設けられ、前記受雷部に接続される導線とを備え、
前記導線は、前記受雷部からタワー側へ電流を流し、前記受雷部から前記タワーに沿って地面の接地部までを結ぶ接地経路の一部をなす風力発電設備の導線の断線検出方法であって、
夫々の導線の主軸側において、前記接地経路が導通する状態と導通しない状態との切り替えが可能であり、
任意のブレードに設けられた第1の導線の主軸側及び前記ブレードと異なるブレードに設けられた第2の導線の主軸側において、前記接地経路が導通しない状態として、前記第1の導線と第2の導線とに同時に前記主軸側から交流信号を印加することにより第1及び第2の導線に磁界を発生させ、
第1の導線及び/又は第2の導線に沿う方向で、第1の導線及び/又は第2の導線に発生した磁界の強さの変化を検出することにより断線の有無を検出することを特徴とする導線の断線検出方法。
続きを表示(約 720 文字)
【請求項2】
磁界の強さが変化する箇所から磁界の強さの検知が無くなる箇所までのいずれかの位置において断線があると判定することを特徴とする導線の断線検出方法。
【請求項3】
磁界を検出可能な無人飛行体を前記第1の導線及び/又は第2の導線に沿って飛行させて、第1の導線及び/又は第2の導線に沿う方向における磁界の強さの変化を検出することを特徴とする請求項1に記載の導線の断線検出方法。
【請求項4】
交流信号を印加する送信器と第1の導線とを第1の単線ケーブルにて接続するとともに、前記送信器と第2の導線とを第2の単線ケーブルにて接続し、前記第1の単線ケーブルと前記第2の単線ケーブルとが前記送信器から異なる方向に延びることを特徴とする請求項1に記載の断線検出方法。
【請求項5】
前記タワーのいずれかに交流信号を印加する送信器を設置することを特徴とする請求項1に記載の導線の断線検出方法。
【請求項6】
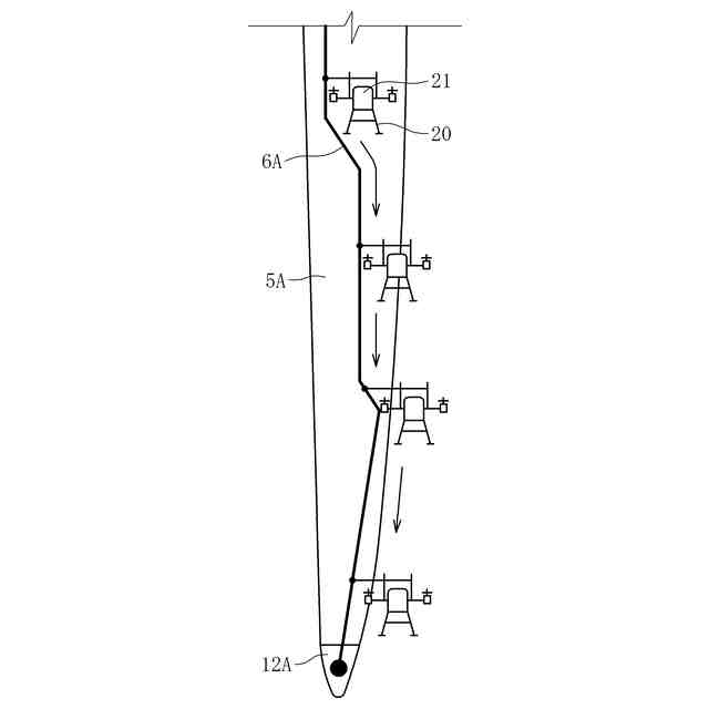
主軸とブレードとの間にハブが介在し、前記導線の主軸側は、前記主軸に外嵌されるリング体にボルトを介しハブ及び主軸に接続され、ボルトの取付及び取外しにて、前記接地経路が導通する状態と導通しない状態とを切替えることを特徴とする請求項1に記載の導線の断線検出方法。
【請求項7】
主軸とブレードとの間にハブが介在し、前記主軸と前記ナセルの底部は、前記導線とは異なり、主軸とナセル底部との間を電気的に接続する接続導線にて接続され、前記導線、ハブ、主軸、接続導線、及びタワーにて前記接地経路が形成されることを特徴とする請求項1に記載の導線の断線検出方法。
発明の詳細な説明
【技術分野】
【0001】
本発明は、風力発電設備における導線の断線検出方法に関するものである。
続きを表示(約 2,200 文字)
【背景技術】
【0002】
風力発電設備は、ブレードの落雷対策として、ブレード先端部に金属製の受雷部(レセプタ)が設置されるとともに、夫々のブレードに引き下げ導線(ダウンコンダクタ)が設けられて、これらレセプタ及びダウンコンダクタを介して雷撃電流を大地に流すことができる。
【0003】
前記ダウンコンダクタを点検するための方法として、特許文献1や特許文献2のものがある。特許文献1のものは、引き下げ導線に信号電流を流し、ブレードに設けられたレセプタに対し、信号電流の電磁波を受信する受信器を備えた遠隔操縦式無人飛行体を接近させる。受信機にて信号電流の電磁波を受診できた場合には導通し、受診できなかった場合には導通しないと判断するものである。
【0004】
特許文献2のものは、受雷部、ダウンコンダクタ、タワー、電源、及び電位差センサが順に並んだ閉回路が構成される。そして、ダウンコンダクタと、ダウンコンダクタとの間の電位差を検出する電位差センサとの何れか一方に、電源から電圧を印加する。その状態でダウンコンダクタと電位差センサとの間で発生した電位差を、電位差センサによって検出することにより、ダウンコンダクタの導通を確認する。
【先行技術文献】
【特許文献】
【0005】
特開2020-91240号公報
特開2022-140959号公報
【発明の概要】
【発明が解決しようとする課題】
【0006】
特許文献1のように電磁波を測定する場合、電磁波は、発生源(ダウンコンダクタ)から距離が離れると、発生源からの距離による減衰にて急激に感度が低下し、受信できないおそれがある。一般的にダウンコンダクタはFRP等に覆われ、ブレード表面から距離が離れている。ブレードはハブ側において太くなるため、ハブ側に位置する程、ダウンコンダクタのブレード表面からの距離が長くなる。また、無人飛行体はブレード表面からの距離の確保が必要となる。これらの理由から、ブレードの中間位置やハブ側においては電磁波の受信が困難となり、測定が難しい。このため、特許文献1の方法では、電磁波の受信が無い原因が断線によるものなのか、測定上の問題であるのかの判別が不可能であり、ダウンコンダクタの導通検査が正確にできない上、断線の検出をすることはできない。また、特許文献1及び特許文献2のものは、電圧を印加する際にタワーに設けられた導線が回路の一部を形成する。このため、導線の検査時においてタワーにて発生する磁界の影響が無視できず、正確な測定を行うことができない。特にブレードの基端部はタワーと接近していることから、タワーからの磁界の影響が大きく正確な測定が難しいものとなる。
【0007】
本発明は、上記課題に鑑みて、風力発電設備において正確に断線箇所を検出することができる導線の断線検出方法を提供する。
【課題を解決するための手段】
【0008】
本発明の導線の断線検出方法は、風を受けて主軸と一体的に回転する複数のブレードと、前記主軸を支持するナセルと、前記ナセルを支持し地面に立設されるタワーと、夫々のブレードの先端側に設けられた受雷部と、前記ブレードに設けられ、前記受雷部に接続される導線とを備え、前記導線は、前記受雷部からタワー側へ電流を流し、前記受雷部から前記タワーに沿って地面の接地部までを結ぶ接地経路の一部をなす風力発電設備の導線の断線検出方法であって、夫々の導線の主軸側において、前記接地経路が導通する状態と導通しない状態との切り替えが可能であり、任意のブレードに設けられた第1の導線の主軸側及び前記ブレードと異なるブレードに設けられた第2の導線の主軸側において、前記接地経路が導通しない状態として、前記第1の導線と第2の導線とに同時に前記主軸側から交流信号を印加することにより第1及び第2の導線に磁界を発生させ、第1の導線及び/又は第2の導線に沿う方向で、第1の導線及び/又は第2の導線に発生した磁界の強さの変化を検出するものである。
【0009】
本発明の導線の検出方法によれば、第1の導線と第2の導線とに同時に主軸側から交流信号(交流電圧)を印加する。すなわち、2線間の導線に交流信号を印加することにより、ダイポールアンテナの原理により電流を発生させることができ、これにより導線に磁界を発生させ、磁界を検知することにより導通の判断ができる。すなわち、磁界は距離が離れていても検出が可能であることから、ブレードの表面から距離がある導体であっても、導体から発生する磁界を検出することができ、断線を検出することができる。その際、夫々の導線の主軸側において、接地経路が導通しない状態としているため、タワー側から磁界が発生することなく(タワー側からの磁界の影響を受けることなく)、第1の導線と第2の導線のみから発生する磁界を検出することができる。
【0010】
前記構成において、磁界の強さが変化する箇所から磁界の強さの検知が無くなる箇所までのいずれかの位置において断線があると判定することができる。
(【0011】以降は省略されています)
この特許をJ-PlatPat(特許庁公式サイト)で参照する
関連特許
個人
風力発電機
3か月前
個人
波力発電装置
4か月前
個人
風車用回転翼
3か月前
個人
小水力発電器
1か月前
個人
磁力スロープ
3か月前
個人
折り畳み式風車
3か月前
個人
サボニウス風車
1か月前
個人
閉空間推進移動装置
3か月前
個人
風力発電装置
3か月前
東レ株式会社
風車ブレード
2か月前
個人
水力発電用水の循環活動
1か月前
Orbray株式会社
発電装置
16日前
個人
水中での上下動による発電
4日前
個人
波受け板を用いた波浪発電装置
1か月前
株式会社 林物産発明研究所
発電装置
2か月前
個人
岸壁などに設置する波力発電装置
1か月前
個人
水車発電と水の循環供給装置
2か月前
株式会社高橋監理
浮体式洋上風力発電所
5か月前
株式会社ゲットクリーンエナジー
発電機
3か月前
株式会社ライトエンジ
推力発生方法
1か月前
個人
上下運動を回転運動に変換する装置。
27日前
株式会社リコー
水力発電装置
3か月前
三菱電機株式会社
風力発電システム
1か月前
株式会社大林組
リフトアップ装置
2か月前
株式会社アイシン
発電装置
3か月前
株式会社アイシン
発電装置
3か月前
株式会社大林組
リフトアップ装置
2か月前
株式会社酉島製作所
多段式流体機械
24日前
個人
波力発電ユニット及び波力発電システム
2か月前
三菱重工業株式会社
風力発電装置
1か月前
株式会社高橋監理
推進装置付き浮体式洋上風力発電所
5か月前
日本精工株式会社
風力発電装置
4か月前
パナテックス株式会社
発電装置
3か月前
株式会社大林組
リフトアップ装置の制御装置
24日前
ダイキン工業株式会社
流体機械
1か月前
日本精工株式会社
風力発電装置
3か月前
続きを見る
他の特許を見る