TOP
|
特許
|
意匠
|
商標
特許ウォッチ
Twitter
他の特許を見る
公開番号
2025141720
公報種別
公開特許公報(A)
公開日
2025-09-29
出願番号
2024059812
出願日
2024-03-15
発明の名称
水力発電用水の循環活動
出願人
個人
代理人
主分類
F03B
11/00 20060101AFI20250919BHJP(液体用機械または機関;風力原動機,ばね原動機,重力原動機;他類に属さない機械動力または反動推進力を発生するもの)
要約
【課題】水力発電用水の無駄を排除した水力発電装置を提供する。
【解決手段】この方法は水を川や池などに放流・貯水を行わないで下部貯水槽1に設けた水を上部貯水槽6に汲み上げる作業を水流筒2の回転により内部に設置した螺旋板(羽根)3で構成された構造の貯水吸い上げポンプに流入した水力発電用水が回転運動と遠心力の作用を利用して水力発電用水を上に持ち上げ、上部貯水槽6に達した水力発電用水は導水管8に流入して流下し逆サイフォン運動を伴い発電用水車(タービン)9を回してから水流筒回転用水車10の流入口で逆サイフォン運動を終了し、水流筒回転用水車10は水力発電用水の自然流下で回転運動を行い排水管11に流下し下部貯水槽1に流れ込む事で下部貯水槽1から排水管11までの間で水が流れる循環する循環活動方法。
【選択図】図1
特許請求の範囲
【請求項1】
貯水吸い上げポンプは回転筒2・螺旋板(羽根)3を主軸4の外周と回転筒2の内周に接続密着した螺旋板(羽根)3で構成された構造の貯水吸い上げポンプ。
続きを表示(約 1,300 文字)
【請求項2】
水流筒2から上部貯水槽6で始まる逆サイフォン運動の内部空気を空気弁7で排出した真空状態の水力発電用水を上部貯水槽6から導水管8に流下させて発電機用水車(タービン)9と水流筒2の外周に固定した水流筒回転用水車10の流入口まで発生する逆サイフォン運動の利用。
【請求項3】
水力発電用水を下部貯水槽1(下部貯水槽1渦巻水流防止板18を含む)から水流筒2・螺旋板(羽根)3で構成された構造の貯水吸い上げポンプの回転運動で生じた遠心力を利用し上部貯水槽6に吸い上げた水力発電用水は水逆サイフォン運動を起こし空気弁7で気泡を排除し導水管8・発電機用水車(タービン)9・水流筒回転用水車10の流入口までの逆サイフォン運動を行い水流筒回転用水車10・排水管11に自然流入通過し貯水槽1に戻る活動は水力発電用水の循環活動(導水管8の異形管使用で水圧・水量・水流・流速の変更)。
【請求項4】
水力発電用水の注水は下部貯水槽流入口17から下部貯水槽1に流入後に水量が増加した場合は過剰用水水槽15に流下、稼動時に水量不足に陥ったら補充用水槽13から下部貯水槽1に補充する、補充用水槽13は過剰用水水槽15に設置した水中ポンプ16で補充用水槽13に注入(各水槽の流入流出は20で行う)。
【請求項5】
注入・排水活動は補充用貯水槽13・過剰用水水槽15・下部貯水槽流入口17の水力発電用水の3か所の流入排出活動を注入・排水両用菅12で行う(水力発電用水の移動時は注入・排水両用菅用開閉弁(下部貯水槽1流入口)20と注入・排水両用菅用開閉弁(過剰用水水槽15上部)の開閉で行う)。
【請求項6】
貯水吸い上げポンプ(水流筒2と螺旋板3で構成された構造)の初期回転は水流筒補助動力モーター14を使用し標準回転に達し水力発電用水が正常な循環活動を行う手助けを行い標準回転運動と水力発電用水の正常な循環活動に達したら水流筒補助動力モーター14は発電機に変換してメンテナンスなどの時は水流筒補助動力モーター14で貯水吸い上げポンプの標準回転運動維持に努める、始動時は発電用水車(タービン)9の上部開閉弁(ゲート・ボールバルブ等)19を閉止して導水管8まで注水して気泡が無い状態になり満水になったら放射状に配置した発電用水車(タービン)9上部の開閉弁(ゲート・ボールバルブ等)19を開放すると発電用水の循環活動の素早い行動と発電容量の確保も素早く活動出来る、(開閉弁(ゲートボールバルブ等)19を全て開放状態で水流筒補助動力モーター14を作動すると上部貯水槽6から流下する水力発電用水は導水管8を流下後発電用水車(タービン)9の回転運動が水力発電用水の水圧・水量・水流・流速が不足して流入不足になり導水管8と発電用水車(タービン)9の発電用水が満水にならなく気泡も絡む水力発電用水となり気泡が削除され水力発電用水が満水になる迄に多量の水力発電用水を放流する事態に陥り発電用水車(タービン)9の正常回転が発電機の正常回転になり標準発電容量の確保に時間が掛かるから発電用水車(タービン)9上部の開閉弁(ゲート・ボールバルブ等)19を必ず閉止する事)。
発明の詳細な説明
【技術分野】
【0001】
本発明は水力発電における水力発電用水を一定水量で行う循環活動。
続きを表示(約 1,700 文字)
【背景技術】
【0002】
現在の水力発電に於ける水力発電用水の流れはダムや池などに貯水した水が導水管を通して流れ発電機の水車(タービン)を回して終わると川や池などに放流して終わる発電に特化 した水力発電用水の単一活動。
【発明の概要】
【発明が解決しようとする課題】
【0003】
水力発電用水が川や池に放流する活動を無くし放流活動を水力発電用水の循環活動に変換し水力発電用水の放流の無駄を無くす発電用水の循環活動。
【0004】
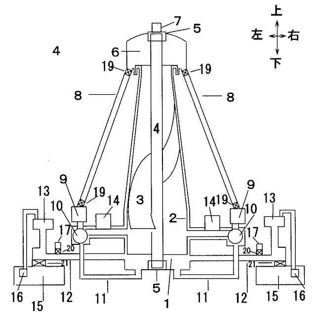
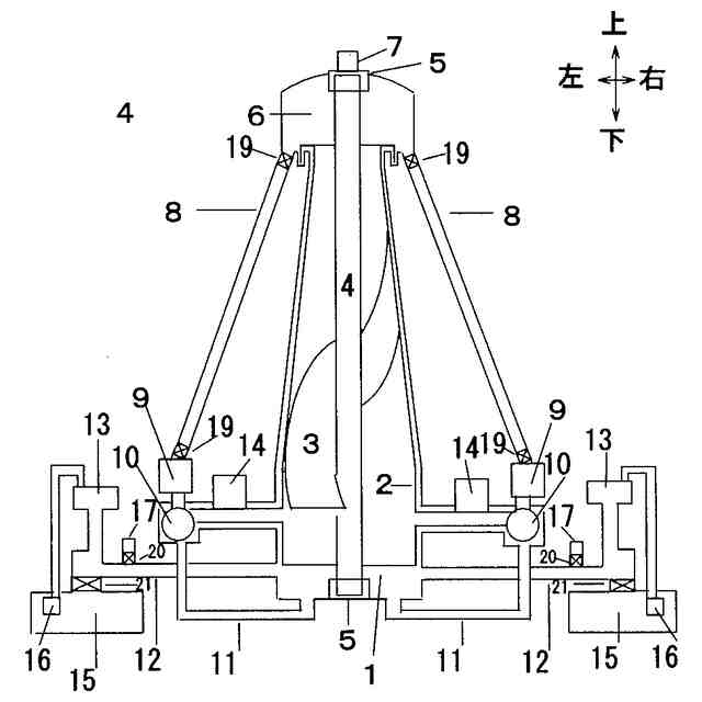
下部貯水槽1から水流筒2・螺旋板(羽根)3で構成された構造の貯水吸い上げポンプの回転に誘導された水力発電用水は上部貯水槽6に汲み上げられ導水管8に流入後水力発電用水は発電機用水車(タービン)9に流下し発電用水車(タービン)9を回して終えて水流筒回転用水車10に接続した配管に流入して水流筒回転用水車10の手前で逆サイフォン運動を終了し自然放流となり水流筒回転用水車10を回して排水管11に流下後下部貯水槽1にもどる水力発電用水の循環活動。
【課題を解決するための手段】
【0005】
サイフォンの原理は、ある地点から液体をホース内に満たし高い地点を通過して低い地点に移動させる自然流下現象の原理であるが貯水吸い上げポンプで水力発電用水をポンプアップ加圧して高い地点(上部貯水槽6)に加圧流入した水力発電用水を導水管8の管内に流入し発電用水車9と水流筒回転用水車10の流入口で逆サイフォン運動が終了する行為(導水管8から水流筒回転用水車10の流入口までが逆サイフォンである、逆サイフォンは高い地点から低い地点に移動する行為)。
【0006】
発電用水に関係する計算は水理計算で算出する、水圧・水量・水流・流速など水圧は静水圧と動水圧の計算が必要な箇所がある、導水管8の長さが水力発電用水の循環活動の中で最長の長さを有し亀裂破損の恐れがない様に加圧力係数等の計算で導水管8の入念な設計計算を行い加工図面に従い製作。
【0007】
水力発電設備の必要発電容量の決定が第一で発電容量が判明後、発電機の発電容量と発電機の数量が決定出来、それに従い発電用水車(タービン)9の流入口径・表面積と水圧・流量・水流・流速が判明出来て上部貯水槽6の発電用水の排出口を放射状にして導水管8の口径と発電用水車(タービン)9に放流する水圧・水量・水流・流速が判明し水流筒回転用水車10の羽根車の数量が判明し排水管11の配管が下部貯水槽1に接続するケ所の取り付け角度も判明出来各部位の構造と製作図の作成。
【0008】
下部貯水槽1の水力発電用水の容量は水流筒2の内径と螺旋板3の面積を引いた容量の貯水吸い上げポンプと上部貯水槽6の内部容量と放射状に設置した導水管8(発電用水車(タービン)9が水車を回すのに必要とする動水圧の計算)の放射状本数及び発電用水車(タービン)9の接続箇所数量と同数の排水管11の端末迄の発電用水合計容量と補充用水槽13・過剰用水水槽15・水流筒2の稼働時の発電用水不足にならない容量を増やした容量に下部貯水槽1から水力発電用水が飛散しない大きさの下部貯水槽1の容量を算出して図面作成。
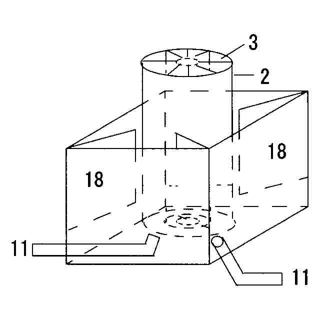
【0009】
下部貯水槽1渦巻水流防止板18は水流筒2が下部貯水槽1で水流筒2の回転により下部貯水槽1の内部で水力発電用水が渦巻き運動を起こさない様に[図1-1]に描いた様に下部貯水槽1に設置して渦巻き運動の防止に努め水流筒2の水力発電用水が螺旋板3の水力発電用水の吸い上げが容易に押し上げられる水力発電用水の環境を作る(下部貯水槽1渦巻水流防止板18の上部は水力発電用水水量より上の空間まで延長し下部は水流筒2より低く注入・排水両用菅12の放流時に放流活動の妨げにならない部分に設置)。
【0010】
貯水吸い上げポンプは水流筒2の内部に螺旋板3を密着内蔵し水流筒の中心軸4と結合して水流筒回転用水車10は水流筒2の外周に固定接続し水流筒の固定部位5の固定軸を中心に回転して水力発電用水の吸い上げを行う構造の貯水吸い上げポンプ。
(【0011】以降は省略されています)
この特許をJ-PlatPat(特許庁公式サイト)で参照する
関連特許
個人
風力発電機
2か月前
個人
磁力スロープ
2か月前
個人
小水力発電器
9日前
個人
風車用回転翼
2か月前
個人
サボニウス風車
6日前
個人
折り畳み式風車
2か月前
個人
閉空間推進移動装置
2か月前
個人
風力発電装置
2か月前
東レ株式会社
風車ブレード
1か月前
個人
水力発電用水の循環活動
24日前
個人
波受け板を用いた波浪発電装置
16日前
個人
岸壁などに設置する波力発電装置
2日前
株式会社 林物産発明研究所
発電装置
1か月前
株式会社ゲットクリーンエナジー
発電機
2か月前
個人
水車発電と水の循環供給装置
1か月前
株式会社リコー
水力発電装置
2か月前
株式会社ライトエンジ
推力発生方法
24日前
三菱電機株式会社
風力発電システム
24日前
株式会社大林組
リフトアップ装置
1か月前
株式会社アイシン
発電装置
2か月前
株式会社大林組
リフトアップ装置
1か月前
株式会社アイシン
発電装置
2か月前
個人
波力発電ユニット及び波力発電システム
1か月前
三菱重工業株式会社
風力発電装置
20日前
パナテックス株式会社
発電装置
1か月前
ダイキン工業株式会社
流体機械
15日前
合同会社DARRIEUS
可変ピッチ機構及び発電装置
1日前
株式会社リアムウィンド
流体発電装置及び流体発電方法
1か月前
株式会社デンソー
熱音響装置
2か月前
個人
大車輪の上部から加重力を与え回転力を得て合せて発電を得る構造
1日前
華能広西清潔能源有限公司
風力発電機の角度修正方法および修正装置
20日前
個人
暴風・洪水でも折れず、風速・河川流速の増速が出来る風水車羽根装置
20日前
大成建設株式会社
浮体式基礎の製作方法
1か月前
国立研究開発法人宇宙航空研究開発機構
電圧発生装置
2か月前
JOP株式会社
発電装置
2か月前
セイコーフューチャークリエーション株式会社
浮標発電装置
1か月前
続きを見る
他の特許を見る