TOP
|
特許
|
意匠
|
商標
特許ウォッチ
Twitter
他の特許を見る
公開番号
2025112194
公報種別
公開特許公報(A)
公開日
2025-07-31
出願番号
2024006353
出願日
2024-01-18
発明の名称
折り畳み式風車
出願人
個人
代理人
主分類
F03D
3/06 20060101AFI20250724BHJP(液体用機械または機関;風力原動機,ばね原動機,重力原動機;他類に属さない機械動力または反動推進力を発生するもの)
要約
【課題】垂直軸風車における強風時の強度設計にかかる問題を解決して、破損倒壊などの事故を防ぎ、設計強度を過大に設定することによる風車の鈍重化を防ぎ、結果的にコストダウンを実現し、実用性の大幅な拡大を図る。
【解決手段】スパン方向に長い回転翼を中間部に屈曲可能なヒンジ10を設け、該ヒンジによって上部翼11と下部翼9を風車回転軸1の円周方向に並行に向け得うるごとき構造を有する折り畳み式風車を提供する。
【選択図】図1
特許請求の範囲
【請求項1】
回転軸に固着されたハブには複数の固定支持腕部材が固着されている。又、該ハブのやや上側には回動ハブが該回転軸に対して回動自在に取り付けられている。そして該回動ハブに円周方向の回動軸を介して上下方向に回動可能な回動支持腕部材が設けられている。固定支持腕部材と回動支持腕部材それぞれの先端部には自在可動ヒンジを介して下部翼部材が取り付けられている。該下部翼部材の断面は航空機の翼断面に近い形状をなしていることが好ましく、起立状態では同断面で回転軸にほぼ平行に長く伸びたものである。
下部翼部材の上端には丁番ヒンジを介して上部翼部材が設けられている。該上部翼部材の断面形状も下部部翼部材と同様のものであり、起立状態では下部翼部材と同様に回転軸にほぼ平行に長く伸びたものである。該丁番ヒンジはヒンジストッパーによって上部翼部材が直立状態を越えて外側への屈曲を防いでいる。
更に該上部翼部材の上端に近い部分には第3の自在可動ヒンジを介して多角形のサポート部材が結合され、該サポート部材の他の頂点には他の上部翼部材が同様の形で結合されているごとく構成されたことを特徴とする折り畳み式風車。
発明の詳細な説明
【技術分野】
【0001】
本発明は、風エネルギーを利用するための装置に関するものであり、特にスパンが回転軸とほぼ並行する構造を有する風車において、回転部全体を折り畳み式にしたことを特徴とする折り畳み式風車に関するものである。
続きを表示(約 3,400 文字)
【背景技術】
【0002】
現在実用化されている風車には大きく分けて水平軸型と垂直軸型の2種類があり、前者はいわゆるプロペラ型として水平方向に延びる回転軸とこれに取り付けられたプロペラによって構成されるものであり、後者はほぼ垂直方向の回転軸と、スパンがこれにほぼ平行に伸びる回転翼によって構成されるものである。本発明は後者に関するものであり、その風車の実用性を高めるべきものである。
【0003】
垂直軸型風車は一般には構造が簡単であるために安価な製品を提供するための手段として用いられることが多く、性能及び実用性の高度化を目指す研究が充分に行われてこなかった。そのために重要な課題である耐風性、すなわちどの程度の風速まで耐えうるものとすべきかとの検討も充分ではない。
本発明は現在風車技術全体の大きな課題である、実用強度計算の基準に対する回答を提供するものである。この問題は風車設計の第一段階でどれだけの強さの風に耐える風車を設計すれば良いのかを議論するとき、的確な答えを出す事が出来ない。現在はこれまでの経験から設置すべき場所での最大風速を推定して、それに合わせた設計をすることになるが、気候変動の激甚化が進んでいる現在、これまでの常識が覆される事象も数多く存在する。一方安全率を大きくとって頑丈な風車を製作することは、実用上過大な資材を使って鈍重な風車を提供することに繋がり、経済、産業上好ましいことではない。
この問題解決の鍵は一定風速を越えた場合に風車自体を折り畳み、強風により風車に加わる大きな風力抵抗荷重を軽減することである。現在前記の水平軸型風車では回転翼(プロペラ)のピッチ角を風の方向に並行にして風力抵抗荷重を軽減する方式は採用されているが、現実として羽根及び支柱の破損事故は起きており、この方式のみでは不充分であることは知られている。やはりより的確な風圧抵抗回避の技術が必要である。
【先行技術文献】
【特許文献】
【0004】
特許第6398095号先行技術として有効なものは少ないが、本出願人による特許文献1は回転軸上に設けた複数の固定腕と可動腕の先端に自在ヒンジを介して円弧上に形成した回転翼を支持した構造のものであり目的及び動作は本出願の構造と類似するものである。本発明はより大型の風車まで拡大可能としたもので、特許技術1の機構をより大型の風車に適応可能なごとくレベルアップしたものである
【発明の概要】
【0005】
本発明はスパン方向に長い回転翼を中間部に屈曲可能なヒンジを設けることによって上部翼と下部翼に分割し、該ヒンジによって上部翼と下部翼を風車回転軸の円周方向に並行に向け得うる
ごとき構造を有する折り畳み式風車に関するものである。風車の回転軸自体も高い位置まで伸びたままになることもなく強風による振動や音の発生も抑えられるもので強風時の垂直軸風車から生じるほぼすべての課題を解決し得る技術を提供するものである。
【発明が解決しようとする課題】
【0006】
本発明が解決しようとする課題は、垂直軸風車における強風時の強度設計にかかる問題を解決して、破損倒壊などの事故を防ぎ、設計強度を過大に設定することによる風車の鈍重化を防ぎ、結果的にコストダウンを実現し、実用性の大幅な拡大を図るものである。
【課題を解決するための手段】
【0007】
本発明の上記課題を解決するための手段は、具体的にはスパン方向に長い回転翼を中間部に屈曲可能なヒンジを設けることによって上部翼と下部翼に分割し、該ヒンジによって上部翼と下部翼を風車回転軸の円周方向に並行に向け得うるごとき構造を有する折り畳み式風車を提供するものである。風車の回転軸自体も高い位置まで伸びたままになることもなく強風により振動や音の発生も抑えられるもので強風時の垂直軸風車から生じるほぼすべての課題を解決し得る技術を提供するものである。更に本発明の折畳み式風車は大型の風車を製作した時に出港寄港時に橋をくぐる必要がある場合でも回転軸が邪魔になることを防ぐことにも有効である。
以下その構造と作用を説明する。
本発明の垂直軸風車の構造は回転軸に固着した固定ハブ部材に複数の支持腕部材と、該回転軸に回動自在に設けた回動ハブ部材に上下方向に揺動可能な可動腕部材を設ける。該支持腕部材と可動腕部材それぞれの先端部に第1の自在ヒンジ及び第2の自在ヒンジを介して複数のスパン方向に長い下部回転翼を設ける。該下部回転翼の上端部に屈曲可能な回動ヒンジを介して上部翼を設ける。上部翼は該回動ヒンジが伸びた時、下部翼部材とほぼ1直線状になり、該回動ヒンジが曲がった時約90°折れ曲がった状態となる。更に上部翼の先端部付近に第3の自在ヒンジを介して多角形のサポート部材が設けられている。該サポート部材の各コーナーには他の上部翼が他の第3の自在ヒンジを介して結合されている。
上記のごとき構造の風車の回動ハブを回転軸に対して回転すると下部回転翼は垂直に立った状態から水平近くに倒れた状態まで回転する事が出来る。この時回動ヒンジで結合された上部翼部材は第3の自在ヒンジを介して結合されたサポート部材により他の上部翼部材が同様の動きをすることで引き寄せられることによって大きく回動して折り曲げられた状態となる。
結果的に複数の上下翼部材は回転軸の周りに巻き込まれたごとき形状に折りたたまれ強い風を避ける事が出来る形状となる。この一連の動作は回動ハブの回動動作に連動して起こるものでありそれぞれの部材を個別に操作することに比べて、全体機構を極めて簡略なものとする事が出来る。また、サポート部材の動きは複数の翼部材を同期して動かすことを可能とするものであり本発明の動作を滑らかにするうえで有効である。折り畳んだ状態(倒伏状態)では下部回転翼の一部が上部回転翼と重なるようになるため風を受ける実質的な面積を減少するっ事が出来る。更に水平に折りたたまれた翼部材には回転軸が長く立ち上がったままで残ることのなく風による音や振動の発生を防ぎ実用上の課題を残すものではない。
【発明の効果】
【0008】
上記の説明で明らかなごとく本発明の折り畳み式風車は回動ハブを回転軸に対して回転すると云うシンプルな動作だけで垂直に起立した風車の回転翼部分を素早く低い位置に折りたたむ事が出来るので、急な強風をも避ける事が出来、破損事故を有効に防ぐ事が出来る。又この動作は各ヒンジ部分の回転だけで行われ、直線的な摺動部の露出が無いので潤滑が容易で従って、動作抵抗が少なく、軽い力で動かす事が出来る。従って動作に用いる動力も小さなもので可能であり、極めて経済的である。更に風車の設計時に必要以上の強度を持たせる必要が無く、軽快な運転が可能な風車を安価に製作する事が出来るので風力利用技術への実質的効果は極めて著しい。
【図面の簡単な説明】
【0009】
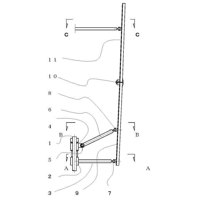
図1は本発明の1実施形態の起立状態を示す側面図である。
図2は本発明の1実施形態の折畳み状態を示す上面図である。
図3は本発明の1実施形態の折畳み状態の回転支持腕部を示す部分側面図である。
図4は本発明の1実施形態の折畳み状態のサポート部材を示す部分側面図である。
図5は本発明の1実施形態の起立状態における固定支持腕のAA矢視を示す部分上面図である。
図6は本発明の1実施形態の起立状態における回転腕のBB矢視を示す部分上面図である。
図7は本発明の1実施形態の起立状態におけるサポート部材のCC矢視を示す部分上面図である。
【発明を実施するための形態】
【0010】
サポート部材14の他の各頂点で他の上部翼部材11と結合されている
本発明の折り畳み式風車の機能を損なわない範囲で簡略化して実現するための実施形態を示す。
【実施例】
(【0011】以降は省略されています)
この特許をJ-PlatPat(特許庁公式サイト)で参照する
関連特許
個人
小水力発電器
22日前
個人
サボニウス風車
19日前
個人
閉空間推進移動装置
2か月前
個人
風力発電装置
2か月前
東レ株式会社
風車ブレード
2か月前
個人
水力発電用水の循環活動
1か月前
個人
波受け板を用いた波浪発電装置
29日前
株式会社 林物産発明研究所
発電装置
1か月前
個人
岸壁などに設置する波力発電装置
15日前
株式会社ゲットクリーンエナジー
発電機
2か月前
個人
水車発電と水の循環供給装置
2か月前
株式会社ライトエンジ
推力発生方法
1か月前
三菱電機株式会社
風力発電システム
1か月前
個人
上下運動を回転運動に変換する装置。
9日前
株式会社大林組
リフトアップ装置
1か月前
株式会社大林組
リフトアップ装置
1か月前
株式会社酉島製作所
多段式流体機械
6日前
個人
波力発電ユニット及び波力発電システム
1か月前
三菱重工業株式会社
風力発電装置
1か月前
パナテックス株式会社
発電装置
2か月前
株式会社大林組
リフトアップ装置の制御装置
6日前
ダイキン工業株式会社
流体機械
28日前
株式会社リアムウィンド
流体発電装置及び流体発電方法
2か月前
合同会社DARRIEUS
可変ピッチ機構及び発電装置
14日前
個人
大車輪の上部から加重力を与え回転力を得て合せて発電を得る構造
14日前
株式会社ノワール
潮流発電システム
今日
個人
暴風・洪水でも折れず、風速・河川流速の増速が出来る風水車羽根装置
1か月前
華能広西清潔能源有限公司
風力発電機の角度修正方法および修正装置
1か月前
大成建設株式会社
浮体式基礎の製作方法
2か月前
個人
羽の回転軌道に接点を持つと共に、羽の回転が同期する、二つの抗力型風車
1か月前
セイコーフューチャークリエーション株式会社
浮標発電装置
1か月前
三菱重工業株式会社
風車翼補修装置、及び、風車翼補修方法
2か月前
株式会社大林組
ステーリングの取付方法及びステーリングの運搬装置
1か月前
太平電業株式会社
地熱利用システム
27日前
Yellow Duck株式会社
流体発電装置及び流体発電システム
29日前
関電プラント株式会社
導線の断線検出方法
19日前
続きを見る
他の特許を見る