TOP
|
特許
|
意匠
|
商標
特許ウォッチ
Twitter
他の特許を見る
10個以上の画像は省略されています。
公開番号
2025164552
公報種別
公開特許公報(A)
公開日
2025-10-30
出願番号
2024068594
出願日
2024-04-19
発明の名称
多段式流体機械
出願人
株式会社酉島製作所
代理人
個人
,
個人
主分類
F03B
15/02 20060101AFI20251023BHJP(液体用機械または機関;風力原動機,ばね原動機,重力原動機;他類に属さない機械動力または反動推進力を発生するもの)
要約
【課題】機場の状況と仕様に応じた運転が可能な多段式流体機械を提供する。
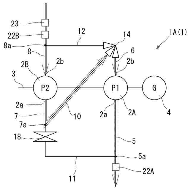
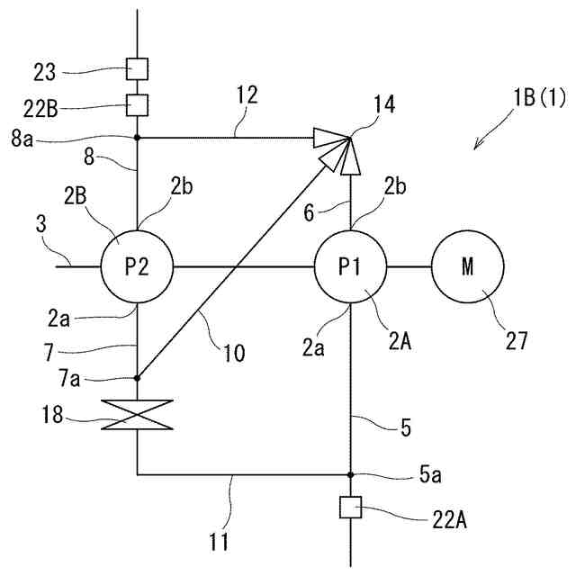
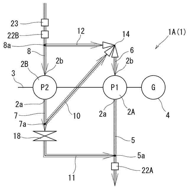
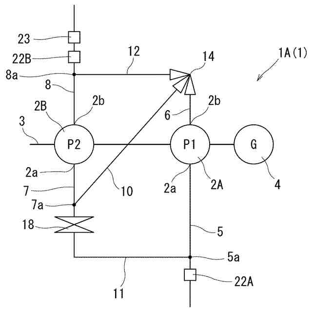
【解決手段】多段式流体機械1は、配管5,6が接続された第1流体機械2A、配管7,8が接続された第2流体機械2B、流体機械2A,2Bを作動させる回転軸3、配管6,7を接続するための接続管10、配管5,7を接続する接続管11、配管6,8を接続するための接続管12、配管6に対する接続管10の接続状態と接続管12の接続状態を切換可能な三方弁14、及び配管7と接続管11の連通状態を切換可能な開閉弁18を備える。三方弁14及び開閉弁18の切り換えによって、第1流体機械2と第2流体機械2を、直列に接続した直列接続運転と並列に接続した並列接続運転とを実行可能である。
【選択図】図1
特許請求の範囲
【請求項1】
通液用の第1配管と第2配管が接続された第1流体機械と、
通液用の第3配管と第4配管が接続された第2流体機械と、
前記第1流体機械及び前記第2流体機械を一体に作動させる回転軸と、
前記第2配管と前記第3配管を接続するための第1接続管と、
前記第3配管のうち前記第1接続管の接続部位に対して前記第2流体機械とは反対側の端部と、前記第1配管とを接続する第2接続管と、
前記第2配管と前記第4配管を接続するための第3接続管と、
前記第2配管に対し、前記第1接続管を連通させて前記第3接続管との連通を遮断した直列接続位置、及び前記第1接続管との連通を遮断して前記第3接続管を連通させた並列接続位置に切換可能な三方弁と、
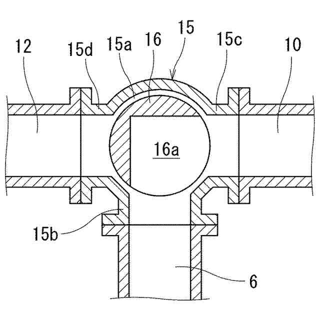
前記第3配管のうち前記接続部位よりも前記第2接続管側、又は前記第2接続管に介設され、前記第3配管と前記第2接続管を連通させた全開位置、及び前記第3配管と前記第2接続管の連通を遮断した全閉位置に切換可能な開閉弁と
を備え、
前記三方弁及び前記開閉弁の切り換えによって、
前記第1配管、前記第2配管、前記第1接続管、前記第3配管、及び前記第4配管を連通させ、前記第1流体機械と前記第2流体機械を直列に接続した直列接続運転と、
前記第1配管、前記第2接続管、及び前記第3配管を連通させるとともに、前記第2配管、前記第3接続管、及び前記第4配管を連通させ、前記第1流体機械と前記第2流体機械を並列に接続した並列接続運転と
を実行可能である、多段式流体機械。
続きを表示(約 1,100 文字)
【請求項2】
前記第1配管内と前記第4配管内の圧力差に基づいて前記三方弁及び前記開閉弁を制御する制御部を更に備える、請求項1に記載の多段式流体機械。
【請求項3】
前記回転軸に発電機が接続され、
液体が前記第4配管に供給されて前記第1配管から流出し、前記第1流体機械及び前記第2流体機械への前記液体の流動によって前記回転軸を回転させて前記発電機が発電する構成であり、
前記三方弁は、前記直列接続位置と前記並列接続位置の間において、前記第2配管に対する前記第1接続管と前記第3接続管の連通割合を段階的に調整可能であり、
前記開閉弁は、前記全開位置と前記全閉位置の間において開度を段階的に調整可能であり、
前記制御部は、
前記圧力差である落差が定格落差を下回るとき、前記三方弁を前記直列接続位置側へ切り換えるとともに、前記開閉弁を前記全閉位置側へ切り換え、
前記落差が前記定格落差を上回るとき、前記三方弁を前記並列接続位置側へ切り換えるとともに、前記開閉弁を前記全開位置側へ切り換える、請求項2に記載の多段式流体機械。
【請求項4】
前記制御部は、
前記第4配管内を流れる流量が定格流量を下回るとき、前記開閉弁を前記全閉位置側へ切り換え、
前記流量が前記定格流量を上回るとき、前記開閉弁を前記全開位置側へ切り換える、請求項3に記載の多段式流体機械。
【請求項5】
前記回転軸に駆動機が接続され、
前記駆動機による前記回転軸の回転によって、液体を前記第1配管から吸い込んで前記第4配管から吐出する構成であり、
前記三方弁は、前記直列接続位置と前記並列接続位置の間において、前記第2配管に対する前記第1接続管と前記第3接続管の連通割合を段階的に調整可能であり、
前記開閉弁は、前記全開位置と前記全閉位置の間において開度を段階的に調整可能であり、
前記制御部は、
前記圧力差である揚程が定格揚程を下回るとき、前記三方弁を前記直列接続位置側へ切り換えるとともに、前記開閉弁を前記全閉位置側へ切り換え、
前記揚程が前記定格揚程を上回るとき、前記三方弁を前記並列接続位置側へ切り換えるとともに、前記開閉弁を前記全開位置側へ切り換える、請求項2に記載の多段式流体機械。
【請求項6】
前記制御部は、
前記第4配管内を流れる流量が定格流量を下回るとき、前記開閉弁を前記全閉位置側へ切り換え、
前記流量が前記定格流量を上回るとき、前記開閉弁を前記全開位置側へ切り換える、請求項5に記載の多段式流体機械。
発明の詳細な説明
【技術分野】
【0001】
本発明は、多段式流体機械に関する。
続きを表示(約 1,900 文字)
【背景技術】
【0002】
特許文献1には、両吸込渦巻ポンプを用いたポンプ逆転水車型発電装置が開示されている。この発電装置では、ポンプ逆転水車の入口部と出口部を接続するバイパス流路を設け、実流量が定格落差での定格流量を越えるとき、余分の流量をバイパス流路に流すことによって、定格電流を超える電流が流れるというオーバーロードを抑制している。また、特許文献1には、複数のポンプ逆転水車を並列接続した発電装置も開示されている。
【先行技術文献】
【特許文献】
【0003】
特許6433269号
【発明の概要】
【発明が解決しようとする課題】
【0004】
特許文献1の発電装置では、落差が定格落差を下回るときの対策について、何ら考慮されていない。よって、引用文献1に開示された流体機械には、実際の機場の状況と仕様に応じた最適な運転について、改善の余地がある。
【0005】
本発明は、機場の状況と仕様に応じて最適な運転が可能な多段式流体機械を提供することを課題とする。
【課題を解決するための手段】
【0006】
本発明は、通液用の第1配管と第2配管が接続された第1流体機械と、通液用の第3配管と第4配管が接続された第2流体機械と、前記第1流体機械及び前記第2流体機械を一体に作動させる回転軸と、前記第2配管と前記第3配管を接続するための第1接続管と、前記第3配管のうち前記第1接続管の接続部位に対して前記第2流体機械とは反対側の端部と、前記第1配管とを接続する第2接続管と、前記第2配管と前記第4配管を接続するための第3接続管と、前記第2配管に対し、前記第1接続管を連通させて前記第3接続管との連通を遮断した直列接続位置、及び前記第1接続管との連通を遮断して前記第3接続管を連通させた並列接続位置に切換可能な三方弁と、前記第3配管のうち前記接続部位よりも前記第2接続管側、又は前記第2接続管に介設され、前記第3配管と前記第2接続管を連通させた全開位置、及び前記第3配管と前記第2接続管の連通を遮断した全閉位置に切換可能な開閉弁とを備え、前記三方弁及び前記開閉弁の切り換えによって、前記第1配管、前記第2配管、前記第1接続管、前記第3配管、及び前記第4配管を連通させ、前記第1流体機械と前記第2流体機械を直列に接続した直列接続運転と、前記第1配管、前記第2接続管、及び前記第3配管を連通させるとともに、前記第2配管、前記第3接続管、及び前記第4配管を連通させ、前記第1流体機械と前記第2流体機械を並列に接続した並列接続運転とを実行可能である、多段式流体機械を提供する。
【0007】
本態様の多段式流体機械は、三方弁及び開閉弁の切り換えによって、第1流体機械と第2流体機械を直列に接続した直列接続運転と、並列に接続した並列接続運転とを実行可能である。この多段式流体機械は、回転軸に発電機を接続し、水が第4配管に供給されて第1配管から流出されることによって、発電装置として用いることができる。一方で、多段式流体機械は、回転軸に駆動機を接続し、水を第1配管から吸い込んで第4配管から吐出させることによって、給液装置として用いることができる。
【0008】
発電装置として用いる場合、直列接続運転に切り換えることによって、並列接続運転よりも個々の流体機械への流量が増えるため、回転軸の軸動力を増やして発電量を増やすことができる。一方で、並列接続運転に切り換えることによって、直列接続運転よりも個々の流体機械への流量が減るため、回転軸の軸動力を減らして発電量を減らし、オーバーロードを抑制できる。よって、実際の機場の落差と定格落差に応じた最適な発電効率で運転を行うことができる。
【0009】
給液装置として用いる場合、直列接続運転に切り換えることによって、並列接続運転よりも流体機械の吐出圧を高めて揚程を上げ、流量を減らすことができる。一方で、並列接続運転に切り換えることによって、直列接続運転よりも流体機械の吐出圧を下げて揚程を下げ、流量を増やすことができる。よって、実際の機場での実揚程と実流量に応じて、要求された最適なポンプ効率(定格揚程と定格流量)で運転を行うことができる。
【発明の効果】
【0010】
本発明では、機場の状況と仕様に応じた最適な運転が可能である。
【図面の簡単な説明】
(【0011】以降は省略されています)
この特許をJ-PlatPat(特許庁公式サイト)で参照する
関連特許
株式会社酉島製作所
多段式流体機械
25日前
個人
風力発電機
3か月前
個人
磁力スロープ
3か月前
個人
波力発電装置
4か月前
個人
小水力発電器
1か月前
個人
風車用回転翼
3か月前
個人
サボニウス風車
1か月前
個人
折り畳み式風車
3か月前
個人
閉空間推進移動装置
3か月前
個人
風力発電装置
3か月前
東レ株式会社
風車ブレード
2か月前
個人
水力発電用水の循環活動
1か月前
個人
水中での上下動による発電
5日前
Orbray株式会社
発電装置
17日前
個人
波受け板を用いた波浪発電装置
1か月前
株式会社 林物産発明研究所
発電装置
2か月前
個人
岸壁などに設置する波力発電装置
1か月前
個人
水車発電と水の循環供給装置
2か月前
株式会社高橋監理
浮体式洋上風力発電所
5か月前
株式会社ゲットクリーンエナジー
発電機
3か月前
株式会社ライトエンジ
推力発生方法
1か月前
個人
上下運動を回転運動に変換する装置。
28日前
株式会社堤水素研究所
風力発電装置
5か月前
三菱電機株式会社
風力発電システム
1か月前
株式会社リコー
水力発電装置
3か月前
株式会社大林組
リフトアップ装置
2か月前
株式会社大林組
リフトアップ装置
2か月前
株式会社アイシン
発電装置
3か月前
株式会社アイシン
発電装置
3か月前
株式会社ゲットクリーンエナジー
エンジン
5か月前
株式会社酉島製作所
多段式流体機械
25日前
個人
波力発電ユニット及び波力発電システム
2か月前
個人
潮流発電装置および潮流発電方法
5か月前
三菱重工業株式会社
風力発電装置
1か月前
株式会社高橋監理
推進装置付き浮体式洋上風力発電所
5か月前
日本精工株式会社
風力発電装置
5か月前
続きを見る
他の特許を見る