TOP
|
特許
|
意匠
|
商標
特許ウォッチ
Twitter
他の特許を見る
10個以上の画像は省略されています。
公開番号
2025141186
公報種別
公開特許公報(A)
公開日
2025-09-29
出願番号
2024041002
出願日
2024-03-15
発明の名称
風力発電システム
出願人
三菱電機株式会社
代理人
個人
主分類
F03D
7/04 20060101AFI20250919BHJP(液体用機械または機関;風力原動機,ばね原動機,重力原動機;他類に属さない機械動力または反動推進力を発生するもの)
要約
【課題】管理者による発電状態の監視が不要であり、安定した電力供給を行うことができる風力発電システムを得ること。
【解決手段】風力発電システム100は、複数の換気口が形成された建屋と、建屋の外部から建屋の内部に向かって換気口を流れる外気によって発電を行う風力発電機1と、風力発電機1によって発電された電力を蓄積するバッテリー2と、建屋の内部空間の換気を行う換気システム5と、風力発電機1の動作および換気システム5の動作を制御する制御部3と、を備える。制御部3は、バッテリー2の残量の監視を行い、バッテリー2の残量に基づいて風力発電機1の動作および換気システム5の動作のうち少なくとも一方を制御する。
【選択図】図2
特許請求の範囲
【請求項1】
複数の換気口が形成された建屋と、
前記建屋の外部から前記建屋の内部に向かって前記換気口を流れる外気によって発電を行う風力発電機と、
前記風力発電機によって発電された電力を蓄積するバッテリーと、
前記建屋の内部空間の換気を行う換気システムと、
前記風力発電機の動作および前記換気システムの動作を制御する制御部と、
を備え、
前記制御部は、前記バッテリーの残量の監視を行い、前記バッテリーの残量に基づいて前記風力発電機の動作および前記換気システムの動作のうち少なくとも一方を制御すること、
を特徴とする風力発電システム。
続きを表示(約 1,000 文字)
【請求項2】
前記制御部は、前記バッテリーの残量に基づいて、前記風力発電機における発電を指示する発電指示、あるいは前記風力発電機における発電の停止を指示する発電停止指示を、前記風力発電機に行うこと、
を特徴とする請求項1に記載の風力発電システム。
【請求項3】
前記制御部は、第1閾値a>第2閾値b>第3閾値c>第4閾値dの大小関係を有するあらかじめ決められた、第1閾値a、第2閾値b、第3閾値cおよび第4閾値dと、前記バッテリーの残量とを比較することにより、前記風力発電機に対する制御および前記換気システムに対する制御のうち少なくとも一方を判定すること、
を特徴とする請求項1に記載の風力発電システム。
【請求項4】
前記制御部は、前記バッテリーの残量が前記第1閾値a以上である場合に、前記風力発電機を停止させる制御を行うこと、
を特徴とする請求項3に記載の風力発電システム。
【請求項5】
前記制御部は、前記風力発電機が停止している状態において、前記バッテリーの残量が前記第2閾値b未満である場合に、前記風力発電機を再稼働させる制御を行うこと、
を特徴とする請求項4に記載の風力発電システム。
【請求項6】
前記制御部は、前記バッテリーの残量が前記第4閾値d未満である場合に、前記風力発電機への通風量を増加させる制御を行うこと、
を特徴とする請求項3に記載の風力発電システム。
【請求項7】
前記制御部は、前記風力発電機への通風量を増加させた状態において、前記バッテリーの残量が前記第3閾値c以上である場合に、前記風力発電機への通風量の増加を解除する制御を行うこと、
を特徴とする請求項6に記載の風力発電システム。
【請求項8】
前記風力発電機は、風車と、前記風車の回転によって発電を行う発電機とを備え、
前記風車が、前記換気口に設置されていること、
を特徴とする請求項1に記載の風力発電システム。
【請求項9】
前記換気システムは、排気用の換気扇と、給気用の換気扇と、前記換気口の開口率を変更する換気ダンパと、を備えること、
を特徴とする請求項1から8のいずれか1つに記載の風力発電システム。
発明の詳細な説明
【技術分野】
【0001】
本開示は、安定的な電力供給を行うことが可能な風力発電システムに関する。
続きを表示(約 1,500 文字)
【背景技術】
【0002】
従来、風力発電システムとして、特許文献1には、建屋の換気システムにおいて、吸気口に相対して風車と風力発電機とが設けられ、吸気口からの流入する給気により風車が回転するものが記載されている。
【先行技術文献】
【特許文献】
【0003】
特開2006-138607号公報
【発明の概要】
【発明が解決しようとする課題】
【0004】
しかしながら、上記特許文献1の技術によれば、吸気口から流入する給気量は、建屋の換気システムの排気量または建屋のその他の開口部の開放状況によって変動する。このため、特許文献1の方法では風力発電システムによる安定した電力供給を行うことが難しく、管理者による風力発電システムの発電状態の監視および配電盤を介した電力供給方法の検討が必要となる。配電盤を介した電力供給を行う場合には、建屋に電線を引き回すための施工負荷が大きい。
【0005】
本開示は、上記に鑑みてなされたものであって、管理者による発電状態の監視が不要であり、安定した電力供給を行うことができる風力発電システムを得ることを目的とする。
【課題を解決するための手段】
【0006】
上述した課題を解決し、目的を達成するために、本開示にかかる風力発電システムは、複数の換気口が形成された建屋と、建屋の外部から建屋の内部に向かって換気口を流れる外気によって発電を行う風力発電機と、風力発電機によって発電された電力を蓄積するバッテリーと、建屋の内部空間の換気を行う換気システムと、風力発電機の動作および換気システムの動作を制御する制御部と、を備える。制御部は、バッテリーの残量の監視を行い、バッテリーの残量に基づいて風力発電機の動作および換気システムの動作のうち少なくとも一方を制御する。
【発明の効果】
【0007】
本開示によれば、管理者による発電状態の監視が不要であり、安定した電力供給を行うことができる、という効果を奏する。
【図面の簡単な説明】
【0008】
実施の形態1にかかる風力発電システムが建屋に適用された場合の構成の一例を示す図
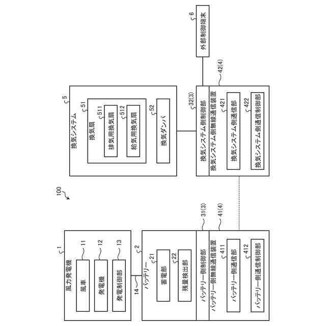
実施の形態1にかかる風力発電システムの構成を示すシステム図
実施の形態1にかかる風力発電システムの換気システムが備える換気扇の機能構成を示す図
実施の形態1にかかる風力発電システムの換気システムが備える換気ダンパの機能構成を示す図
実施の形態1にかかる風力発電システムが備える外部制御端末の機能構成を示す図
実施の形態1にかかる風力発電システムの全体の動作を説明する図
実施の形態1にかかる風力発電システムにおける制御の詳細な手順を説明するフローチャート
実施の形態1にかかる風力発電システムにおけるバッテリーの残量の推移の一例を示す図
実施の形態1にかかる制御部のそれぞれの機能をハードウェアで実現した構成を示す図
実施の形態1にかかる制御部のそれぞれの機能をソフトウェアで実現した構成を示す図
【発明を実施するための形態】
【0009】
以下に、実施の形態にかかる風力発電システムを図面に基づいて詳細に説明する。
【0010】
実施の形態1.
図1は、実施の形態1にかかる風力発電システム100が建屋200に適用された場合の構成の一例を示す図である。
(【0011】以降は省略されています)
この特許をJ-PlatPat(特許庁公式サイト)で参照する
関連特許
三菱電機株式会社
増幅器
14日前
三菱電機株式会社
冷蔵庫
10日前
三菱電機株式会社
扇風機
8日前
三菱電機株式会社
照明装置
1日前
三菱電機株式会社
半導体装置
9日前
三菱電機株式会社
保護リレー
9日前
三菱電機株式会社
空調システム
3日前
三菱電機株式会社
制御システム
1日前
三菱電機株式会社
貯湯式給湯機
10日前
三菱電機株式会社
光源デバイス
1日前
三菱電機株式会社
貯湯式給湯機
1日前
三菱電機株式会社
貯湯式給湯機
11日前
三菱電機株式会社
空調システム
14日前
三菱電機株式会社
調理システム
10日前
三菱電機株式会社
炊飯システム
10日前
三菱電機株式会社
点検管理装置
8日前
三菱電機株式会社
ねじ締め装置
14日前
三菱電機株式会社
移動体監視装置
今日
三菱電機株式会社
樹脂成形用金型
14日前
三菱電機株式会社
回転電機ユニット
今日
三菱電機株式会社
空気調和システム
1日前
三菱電機株式会社
運転支援システム
8日前
三菱電機株式会社
加熱調理システム
今日
三菱電機株式会社
回転電機ユニット
今日
三菱電機株式会社
電子機器の冷却装置
1日前
三菱電機株式会社
リニューアルプレート
今日
三菱電機株式会社
人流情報取得システム
10日前
三菱電機株式会社
点灯装置および照明装置
8日前
三菱電機株式会社
検査治具および検査装置
今日
三菱電機株式会社
高周波増幅器モジュール
11日前
三菱電機株式会社
遠心送風機および換気機器
2日前
三菱電機株式会社
半導体装置及び電力変換装置
11日前
三菱電機株式会社
プロペラファン、及び送風機
10日前
三菱電機株式会社
食事支援システム及び炊飯器
2日前
三菱電機株式会社
配光制御レンズ及び照明装置
14日前
三菱電機株式会社
制御システム、及び、表示方法
14日前
続きを見る
他の特許を見る