TOP
|
特許
|
意匠
|
商標
特許ウォッチ
Twitter
他の特許を見る
10個以上の画像は省略されています。
公開番号
2025149389
公報種別
公開特許公報(A)
公開日
2025-10-08
出願番号
2024050008
出願日
2024-03-26
発明の名称
流体機械
出願人
ダイキン工業株式会社
代理人
弁理士法人前田特許事務所
主分類
F03B
3/14 20060101AFI20251001BHJP(液体用機械または機関;風力原動機,ばね原動機,重力原動機;他類に属さない機械動力または反動推進力を発生するもの)
要約
【課題】水車効率の低下を抑制する流体機械を提供する。
【解決手段】流体機械に設けられる軸流ランナ(30)には、回転軸(40)の回転方向の前方に位置する前縁部(50a)と、回転軸(40)の回転方向の後方に位置する後縁部(50b)と、筒部(21)の内周面に沿う外縁部(50c)とを有する翼部(50)が設けられ、前縁部(50a)の径方向の内方の端部である第1端部(51a)は、後縁部(50b)の径方向の内方の第2端部(51b)よりも流体の流れ方向の上流側に位置し、翼部(50)には、外縁部(50c)の少なくとも一部が流体の流れ方向と反対方向に向かうように湾曲する湾曲部(80)が形成される。
【選択図】図4
特許請求の範囲
【請求項1】
円筒形の筒部(21)と、該筒部(21)内に配置される軸流ランナ(30)とを備え、前記筒部(21)内の流体が前記軸流ランナ(30)へ流れる流体機械であって、
前記軸流ランナ(30)は、
前記筒部(21)の筒軸方向に延びる回転軸(40)と、
前記回転軸(40)の外周面から前記筒部(21)の径方向の外方へ向かって延びると共に、前記回転軸の周方向に並ぶ複数の翼部(50)とを有し、
前記翼部(50)は、
前記回転軸(40)の回転方向の前方に位置する前縁部(50a)と、
前記回転軸(40)の回転方向の後方に位置する後縁部(50b)と、
前記筒部(21)の内周面に沿う外縁部(50c)とを有し、
前記前縁部(50a)の前記径方向の内方の端部である第1端部(51a)は、前記後縁部(50b)の前記径方向の内方の端部である第2端部(51b)よりも前記流体の流れ方向の上流側に位置し、
前記翼部(50)には、前記外縁部(50c)の少なくとも一部が前記流体の流れ方向と反対方向に向かうように湾曲する湾曲部(80)が形成される
流体機械。
続きを表示(約 960 文字)
【請求項2】
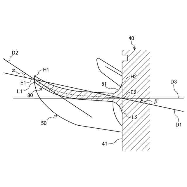
前記軸流ランナ(30)における前記回転軸(40)の軸心を通る断面を前記回転方向の前方から見て、
前記湾曲部(80)は、前記翼部(50)の前記径方向の外方の端部である第3端部(E1)を含み、
前記第3端部(E1)と、前記翼部(50)の前記径方向の内方の端部である第4端部(E2)とを通る直線は、前記第4端部(E2)から前記第3端部(E1)にかけて前記流れ方向の上流側へ向かうように延びる
請求項1に記載の流体機械。
【請求項3】
前記回転軸(40)の軸方向から見て、
前記回転軸(40)の軸心から前記前縁部(50a)の前記第1端部(51a)へ延びる第1直線と、前記回転軸(40)の軸心を中心に前記回転軸(40)の反回転方向に前記第1直線を回転させたときの第2直線との間の角度をθとし、
前記回転軸(40)の軸心を通る断面を前記回転方向の前方から見て、前記第1端部(51a)と前記第2端部(51b)とを通る直線と、前記第3端部(E1)における接線とがなす角度を第1角度としたときに、
前記θがゼロ以上の範囲において、前記第1角度は前記θが大きくなるにつれて減少する
請求項2に記載の流体機械。
【請求項4】
前記θがゼロのとき、前記第1角度は、10°以上かつ30°以下である
請求項3に記載の流体機械。
【請求項5】
前記軸流ランナ(30)における前記軸心を通る断面を、前記回転方向の前方から見て、前記第3端部(E1)と前記第4端部(E2)とを通る直線と、前記第4端部(E2)から前記回転軸(40)の長手方向に直交する方向へ延びる直線とがなす角度を第2角度としたときに、
前記θがゼロ以上の範囲において、前記第2角度は、前記θが大きくなるにつれて減少する
請求項3または4に記載の流体機械。
【請求項6】
前記θがゼロのとき、前記第2角度は、5°以上である
請求項5に記載の流体機械。
【請求項7】
前記筒部(21)は、前記翼部(50)の前記流れ方向における上流端から下流端にかけて形成される
請求項1または2に記載の流体機械。
発明の詳細な説明
【技術分野】
【0001】
本開示は、流体機械に関するものである。
続きを表示(約 1,800 文字)
【背景技術】
【0002】
特許文献1に開示の軸流水力機械は、ランナベーンのチップ端とディスチャージリングとの間の隙間から漏れる流体量の増大を抑制し、かつ、キャビテーションの発生を抑制することを目的として形成されたランナベーンを有している。これにより、ランナベーン出口の流体の流速分布を適正化し水車性能の向上を図っている。
【先行技術文献】
【特許文献】
【0003】
特開2009-257094号公報
【発明の概要】
【発明が解決しようとする課題】
【0004】
しかし、特許文献1に開示のランナベーンの形状であっても、ランナが回転すると遠心力によって流体が翼の外周側に向かって偏って流れるため、ランナベーンのチップ端とディスチャージリングとの間の隙間における流体の漏れを十分抑制できているとはいえない。そのため、水車効率の低下を抑制するためのランナベーンの形状を検討する余地はある。
【0005】
本開示の目的は、水車効率の低下を抑制する流体機械を提供することにある。
【課題を解決するための手段】
【0006】
第1の態様は、
円筒形の筒部(21)と、該筒部(21)内に配置される軸流ランナ(30)とを備え、前記筒部(21)内の流体が前記軸流ランナ(30)へ流れる流体機械であって、
前記軸流ランナ(30)は、
前記筒部(21)の筒軸方向に延びる回転軸(40)と、
前記回転軸(40)の外周面から前記筒部(21)の径方向の外方へ向かって延びると共に、前記回転軸の周方向に並ぶ複数の翼部(50)とを有し、
前記翼部(50)は、
前記回転軸(40)の回転方向の前方に位置する前縁部(50a)と、
前記回転軸(40)の回転方向の後方に位置する後縁部(50b)と、
前記筒部(21)の内周面に沿う外縁部(50c)とを有し、
前記前縁部(50a)の前記径方向の内方の端部である第1端部(51a)は、前記後縁部(50b)の前記径方向の内方の端部である第2端部(51b)よりも前記流体の流れ方向の上流側に位置し、
前記翼部(50)には、前記外縁部(50c)の少なくとも一部が前記流体の流れ方向と反対方向に向かうように湾曲する湾曲部(80)が形成される
流体機械である。
【0007】
第1の態様では、翼部(50)に湾曲部(80)が形成されることで、筒部(21)内を流れる流体の遠心力が流れ方向に与える影響を小さくできる。これにより、翼面における流体の流れの蛇行が抑えられ、翼部(50)の外縁部(50c)と筒部(21)内面との間の隙間から流体が漏れることを抑制できる結果、水車効率の低下を抑制できる。
【0008】
第2の態様は、第1の態様において、
前記軸流ランナ(30)における前記回転軸(40)の軸心を通る断面を前記回転方向の前方から見て、
前記湾曲部(80)は、前記翼部(50)の前記径方向の外方の端部である第3端部(E1)を含み、
前記第3端部(E1)と、前記翼部(50)の前記径方向の内方の端部である第4端部(E2)とを通る直線は、前記第4端部(E2)から前記第3端部(E1)にかけて前記流れ方向の上流側へ向かうように延びる。
【0009】
第2の態様では、翼部(50)の第3端部(E1)と第4端部(E2) とを結ぶ直線を流体の流れ方向に対して上流側に傾斜させることで、第1の態様と同様の効果を向上できる。
【0010】
第3の態様は、第2の態様において、
前記回転軸(40)の軸方向から見て、
前記回転軸(40)の軸心から前記前縁部(50a)の前記第1端部(51a)へ延びる第1直線と、前記回転軸(40)の軸心を中心に前記回転軸(40)の反回転方向に前記第1直線を回転させたときの第2直線との間の角度をθとし、
前記回転軸(40)の軸心を通る断面を前記回転方向の前方から見て、前記第1端部(51a)と前記第2端部(51b)とを通る直線と、前記第3端部(E1)における接線とがなす角度を第1角度としたときに、
前記θがゼロ以上の範囲において、前記第1角度は前記θが大きくなるにつれて減少する。
(【0011】以降は省略されています)
この特許をJ-PlatPat(特許庁公式サイト)で参照する
関連特許
ダイキン工業株式会社
撥剤
28日前
ダイキン工業株式会社
冷凍装置
8日前
ダイキン工業株式会社
冷凍装置
8日前
ダイキン工業株式会社
冷凍装置
8日前
ダイキン工業株式会社
監視装置
28日前
ダイキン工業株式会社
冷凍装置
28日前
ダイキン工業株式会社
冷凍装置
8日前
ダイキン工業株式会社
シール材
1日前
ダイキン工業株式会社
冷凍装置
8日前
ダイキン工業株式会社
冷凍装置
8日前
ダイキン工業株式会社
電力変換装置
28日前
ダイキン工業株式会社
空気調和装置
28日前
ダイキン工業株式会社
冷媒充填方法
28日前
ダイキン工業株式会社
空気調和装置
28日前
ダイキン工業株式会社
空気調和装置
24日前
ダイキン工業株式会社
吸着器及び冷凍装置
8日前
ダイキン工業株式会社
圧縮機及び冷凍装置
24日前
ダイキン工業株式会社
インバータ制御装置
24日前
ダイキン工業株式会社
制御回路及び電子機器
24日前
ダイキン工業株式会社
電力変換装置及び冷凍装置
28日前
ダイキン工業株式会社
空調機のための保守システム
28日前
ダイキン工業株式会社
ノイズ抑制回路、空気調和機
24日前
ダイキン工業株式会社
フッ素原子含有シラン化合物
今日
ダイキン工業株式会社
ノイズ抑制回路、空気調和機
28日前
ダイキン工業株式会社
積層体の製造方法および積層体
24日前
ダイキン工業株式会社
磁気冷凍ユニット及び冷凍装置
24日前
ダイキン工業株式会社
正極合剤、正極および二次電池
15日前
ダイキン工業株式会社
電力変換システム、空気調和機
28日前
ダイキン工業株式会社
電力変換システム、空気調和機
28日前
ダイキン工業株式会社
紫外線照射装置および空気調和機
28日前
ダイキン工業株式会社
圧縮機、および冷凍サイクル装置
21日前
ダイキン工業株式会社
圧縮機、および冷凍サイクル装置
21日前
ダイキン工業株式会社
積層構造体、およびその製造方法
今日
ダイキン工業株式会社
部材、及び、半導体製造関連装置
24日前
ダイキン工業株式会社
情報生成装置、及び、情報生成方法
24日前
ダイキン工業株式会社
磁気ユニット、圧縮機及び冷凍装置
28日前
続きを見る
他の特許を見る