TOP
|
特許
|
意匠
|
商標
特許ウォッチ
Twitter
他の特許を見る
10個以上の画像は省略されています。
公開番号
2025153143
公報種別
公開特許公報(A)
公開日
2025-10-10
出願番号
2024055459
出願日
2024-03-29
発明の名称
空気調和装置
出願人
ダイキン工業株式会社
代理人
弁理士法人前田特許事務所
主分類
F24F
1/0007 20190101AFI20251002BHJP(加熱;レンジ;換気)
要約
【課題】開閉部材と連結する回転軸と、シール部材との接触を抑制する。
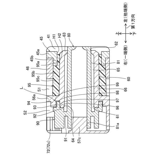
【解決手段】空気調和装置は、仕切部(45)の穴(H1)を貫通し、駆動機構(70)と開閉部材(51)を連結するとともに駆動機構(70)によって回転駆動される回転軸部材(80)と、穴(H1)内に位置するとともに回転軸部材(80)を内部において回転可能に支持する筒状の軸受部材(60)と、穴(H1)を形成する内周面と、軸受部材(60)の外周面との間に配置されるシール部材(95)とを備える。
【選択図】図7
特許請求の範囲
【請求項1】
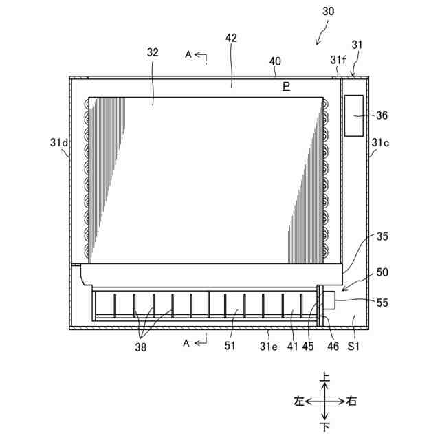
空気流路(P)を有するケーシング(31)と、
前記空気流路(P)に含まれる第1流路(41)と、第1空間(S1)とを仕切るとともに穴(H1)を有する仕切部(45)と、
前記第1空間(S1)に配置される駆動機構(70)と、
前記第1流路(41)を開閉する開閉部材(51)と、
前記仕切部(45)の前記穴(H1)を貫通し、前記駆動機構(70)と開閉部材(51)を連結するとともに前記駆動機構(70)によって回転駆動される回転軸部材(80)と、
前記穴(H1)内に位置するとともに、前記回転軸部材(80)を内部において回転可能に支持する筒状の軸受部材(60)と、
前記穴(H1)を形成する内周面と、前記軸受部材(60)の外周面との間に配置されるシール部材(95)とを備える
空気調和装置。
続きを表示(約 1,100 文字)
【請求項2】
前記第1空間(S1)に配置されるとともに、前記駆動機構(70)を収容する収容室(S2)を形成する収容部材(55)をさらに備え、
前記軸受部材(60)は、前記収容室(S2)から前記穴(H1)までに亘る
請求項1に記載の空気調和装置。
【請求項3】
前記駆動機構(70)は、
出力軸(71b)を有するモータ(71)と、
前記モータ(71)の前記出力軸(71b)の回転力を前記回転軸部材(80)に伝達するギア機構(G)とを有する
請求項2に記載の空気調和装置。
【請求項4】
前記モータ(71)の前記出力軸(71b)の軸心が、前記回転軸部材(80)の軸心よりも上方に位置する
請求項3に記載の空気調和装置。
【請求項5】
前記ギア機構(G)は、前記回転軸部材(80)に設けられる従動ギア(83)を含む
請求項3または4に記載の空気調和装置。
【請求項6】
前記回転軸部材(80)は、
回転軸本体(81)と、
前記軸受部材(60)における前記駆動機構(70)側の開口(61)を塞ぐように、前記回転軸本体(81)から径方向外方に延びる鍔部(90)とを有する
請求項2~4のいずれか1つに記載の空気調和装置。
【請求項7】
前記軸受部材(60)と、前記鍔部(90)との隙間をシールするラビリンスシール構造(L)をさらに備える
請求項6に記載の空気調和装置。
【請求項8】
前記軸受部材(60)は、
前記開閉部材(51)側寄りに位置し、前記回転軸部材(80)がすべり接触する第1軸受部(63)と、
前記駆動機構(70)側寄りに位置し、前記回転軸部材(80)がすべり接触する第2軸受部(64)とを有する
請求項1~4のいずれか1つに記載の空気調和装置。
【請求項9】
前記軸受部材(60)は、前記仕切部(45)の穴(H1)の外部、および前記収容部材(55)の外部に位置する中間部(66)を有し、
前記シール部材(95)は、前記中間部(66)の周囲を覆う
請求項2~4のいずれか1つに記載の空気調和装置。
【請求項10】
前記仕切部(45)は、
仕切部本体(45a)と、
前記仕切部本体(45a)から回転軸部材(80)の軸方向に延びるとともに前記穴(H1)を有する筒部(45b)を有し、
前記シール部材(95)は、前記筒部(45b)の内周面と、前記軸受部材(60)の外周面との間に配置される
請求項1~4のいずれか1つに記載の空気調和装置。
(【請求項11】以降は省略されています)
発明の詳細な説明
【技術分野】
【0001】
本開示は、空気調和装置に関する。
続きを表示(約 1,800 文字)
【背景技術】
【0002】
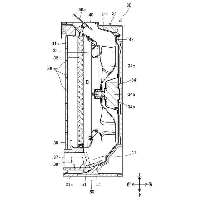
特許文献1は、空気調和装置を開示する。この空気調和装置は、吹出口を有するケーシングと、吹出口に連通する流路を開閉するシャッタと、シャッタと連結する回転軸と、回転軸を回転させるモータとを有する。モータを収容する空間と、シャッタが設けられる流路とは仕切部によって仕切られる。回転軸は、仕切部の穴と貫通し、シャッタとモータとを連結する。このような構成では、流路側の空気が穴を通じて空間に漏れてしまう可能性がある。そこで、特許文献1の空気調和装置は、穴の周辺部にラビリンスシール構造を設けることで、このような空気の漏れを抑制している。
【先行技術文献】
【特許文献】
【0003】
特開2010-78273号公報
【発明の概要】
【発明が解決しようとする課題】
【0004】
特許文献1に開示されるような、空気の漏れの対策としては、仕切部の穴の隙間を覆うように、空間側に樹脂などのシール部材を設けることが考えられる。具体的には、仕切部のうちモータの収容空間側の面に、穴の隙間を塞ぐようにシール部材を設ける。しかし、この構成では、シール部材と、回転する回転軸とが接触してしまう可能性がある。シール部材と回転軸とが接触すると、シール部材が回転軸に巻き込まれてしまったり、回転軸のトルクが増大したりするので、シャッタ(開閉部材)の状態を安定して切り換えることができない。
【0005】
本開示の目的は、開閉部材と連結する回転軸と、シール部材との接触を抑制することである。
【課題を解決するための手段】
【0006】
第1の態様は、空気調和装置(10)を対象とする。空気調和装置(10)は、空気流路(P)を有するケーシング(31)と、空気流路(P)に含まれる第1流路(41) と、第1空間(S1)とを仕切るとともに穴(H1)を有する仕切部(45)と、第1流路(41)を開閉する開閉部材(51)と、第1空間(S1)に配置される駆動機構(70)と、仕切部(45)の穴(H1)を貫通し、駆動機構(70)と開閉部材(51)を連結するとともに駆動機構(70)によって回転駆動される回転軸部材(80)と、穴(H1)内に位置するとともに、回転軸部材(80)を内部において回転可能に支持する筒状の軸受部材(60)と、穴(H1)を形成する内周面と、軸受部材(60)の外周面との間に配置されるシール部材(95)とを備える。
【0007】
第1の態様では、仕切部(45)の内部に筒状の軸受部材(60)が設けられる。軸受部材(60)は、その内部において回転軸部材(80)を回転可能に支持する。シール部材(95)は、穴(H1)の内周面と、軸受部材(60)の外周面との間に配置される。シール部材(95)は、第1流路(41)の空気が、穴(H1)を形成する内周面と、軸受部材(60)の外周面との間の隙間を通じて第1空間(S1)に漏れることを抑制する。シール部材(95)と、回転軸部材(80)との間には、軸受部材(60)が設けられるので、回転中の回転軸部材(80)と、シール部材(95)とが接触することを抑制できる。
【0008】
第2の態様は、第1の態様において、空気調和装置(10)は、第1空間(S1)に配置されるとともに、駆動機構(70)を収容する収容室(S2)を形成する収容部材(55)をさらに備える。軸受部材(60)は、収容室(S2)から穴(H1)までに亘る。
【0009】
第2の態様では、筒状の軸受部材(60)が、収容室(S2)から穴(H1)までに亘る。このため、第1流路(41)の空気が、軸受部材(60)と回転軸部材(80)の間の隙間に漏れ込んだとしても、この空気は、収容部材(55)の収容室(S2)へ送られる。このため、第1流路(41)の空気が第1空間(S1)(収容部材(55)の外部)へ流出することを抑制できる。その結果、第1空間(S1)、あるいは第1空間(S1)の周囲で結露水が発生することを抑制できる。
【0010】
第3の態様は、第2の態様において、駆動機構(70)は、出力軸(71b)を有するモータ(71)と、モータ(71)の出力軸(71b)の回転力を回転軸部材(80)に伝達するギア機構(G)とを有する。
(【0011】以降は省略されています)
この特許をJ-PlatPat(特許庁公式サイト)で参照する
関連特許
ダイキン工業株式会社
冷凍装置
1か月前
ダイキン工業株式会社
冷凍装置
1か月前
ダイキン工業株式会社
冷凍装置
1か月前
ダイキン工業株式会社
冷凍装置
1か月前
ダイキン工業株式会社
冷凍装置
1か月前
ダイキン工業株式会社
シール材
24日前
ダイキン工業株式会社
冷凍装置
1か月前
ダイキン工業株式会社
共重合体
18日前
ダイキン工業株式会社
撥水剤組成物
10日前
ダイキン工業株式会社
吸着器及び冷凍装置
1か月前
ダイキン工業株式会社
回転式圧縮機及び冷凍装置
4日前
ダイキン工業株式会社
フッ素原子含有シラン化合物
23日前
ダイキン工業株式会社
圧縮機及び冷凍サイクル装置
10日前
ダイキン工業株式会社
圧縮機及び冷凍サイクル装置
10日前
ダイキン工業株式会社
積層構造体、およびその製造方法
23日前
ダイキン工業株式会社
ガス検出装置および漏洩ガス検出システム
2日前
ダイキン工業株式会社
モータ、空気調和装置、及びモータの製造方法
23日前
ダイキン工業株式会社
粉体組成物、積層体、積層体の製造方法、および物品
16日前
ダイキン工業株式会社
モータの製造方法、及びモータを有する空気調和装置
23日前
ダイキン工業株式会社
粉体状組成物、皮膜、積層体、塗装物品および成形方法
16日前
ダイキン工業株式会社
中継装置、およびその中継装置を備えた室外機並びに室内機
1か月前
ダイキン工業株式会社
給湯システム
23日前
ダイキン工業株式会社
固体組成物、回路基板、固体組成物の製造方法、及び提案装置
24日前
ダイキン工業株式会社
エッチングガス
1か月前
ダイキン工業株式会社
電力管理装置、電力管理システム、電力管理方法及びプログラム
1か月前
ダイキン工業株式会社
デポジションガス
1か月前
ダイキン工業株式会社
制御システム、第2制御装置、サーバ装置、第1制御装置、制御方法
23日前
ダイキン工業株式会社
基板材料用組成物、ポリイミドフィルム、積層体、回路用基板、及びアンテナ
24日前
ダイキン工業株式会社
フッ素ゴム塗料組成物及び塗装物品
25日前
ダイキン工業株式会社
高周波基板材料用組成物、ポリイミドフィルム、積層体、回路用基板、及びアンテナ
24日前
ダイキン工業株式会社
制御システム、制御装置、制御方法
4日前
ダイキン工業株式会社
フルオロポリマー水性分散液の製造方法
16日前
ダイキン工業株式会社
硬化性エポキシ樹脂組成物、硬化物及び硬化物の製造方法
1か月前
ダイキン工業株式会社
含フッ素エラストマー水性分散液の製造方法、組成物および水性分散液
2日前
ダイキン工業株式会社
高純度フルオロポリマー含有組成物の製造方法および高純度フルオロポリマー含有組成物
1か月前
国立大学法人 東京大学
昆虫の匂い応答に対する阻害剤のスクリーニング方法、昆虫の匂い応答に対する阻害剤、昆虫阻害システム、及び昆虫阻害方法
25日前
続きを見る
他の特許を見る