TOP
|
特許
|
意匠
|
商標
特許ウォッチ
Twitter
他の特許を見る
10個以上の画像は省略されています。
公開番号
2025153698
公報種別
公開特許公報(A)
公開日
2025-10-10
出願番号
2024056309
出願日
2024-03-29
発明の名称
電力変換装置及び冷凍装置
出願人
ダイキン工業株式会社
代理人
個人
,
個人
主分類
H02M
7/48 20070101AFI20251002BHJP(電力の発電,変換,配電)
要約
【課題】コモンモードチョークコイルの磁気飽和の緩和をデジタル制御部により実現すること。
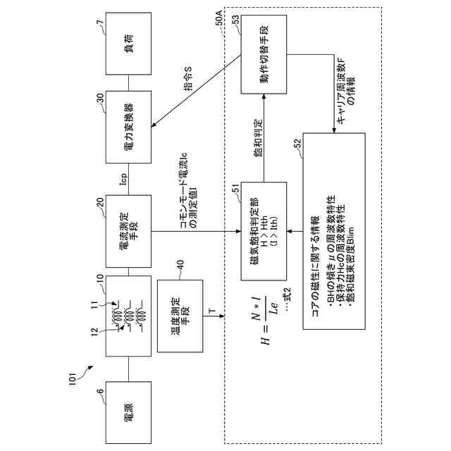
【解決手段】コモンモードチョークコイルと、前記コモンモードチョークコイルを介して入力される交流を順変換または周波数変換する電力変換器と、前記コモンモードチョークコイルにコモンモードで流れる電流を測定する電流測定手段と、前記電流の測定値又は前記測定値に基づく計算値が閾値を超えた場合、前記電力変換器の動作を切り替えることによって、前記電力変換器のキャリア周波数と同じ周波数成分における前記電流のピーク値を、前記動作の切り替え前よりも下げるデジタル制御部と、を備える、電力変換装置。
【選択図】図1
特許請求の範囲
【請求項1】
コモンモードチョークコイル(10)と、
前記コモンモードチョークコイルを介して入力される交流を順変換または周波数変換する電力変換器(30)と、
前記コモンモードチョークコイルにコモンモードで流れる電流を測定する電流測定手段(20)と、
前記電流の測定値又は前記測定値に基づく計算値が閾値を超えた場合、前記電力変換器の動作を切り替えることによって、前記電力変換器のキャリア周波数と同じ周波数成分における前記電流のピーク値を、前記動作の切り替え前よりも下げるデジタル制御部(50)と、を備える、電力変換装置。
続きを表示(約 1,100 文字)
【請求項2】
前記デジタル制御部は、前記キャリア周波数を下げることで、前記ピーク値を前記動作の切り替え前よりも下げる、請求項1に記載の電力変換装置。
【請求項3】
前記デジタル制御部は、前記キャリア周波数を下げた後に前記閾値を変更する、請求項2に記載の電力変換装置。
【請求項4】
前記デジタル制御部は、前記キャリア周波数を下げた後の第1周波数に応じて、前記閾値を変更する、請求項3に記載の電力変換装置。
【請求項5】
前記電力変換器は、前記コモンモードチョークコイルを介して入力される交流を直流に変換するコンバータ(2)と、前記コンバータから出力される直流が供給される直流リンク(3)と、前記直流リンクからの直流を交流に変換するインバータ(4)と、を含み、
前記デジタル制御部は、前記直流リンクの電圧を下げることで、前記ピーク値を前記動作の切り替え前よりも下げる、請求項1に記載の電力変換装置。
【請求項6】
前記電力変換器は、前記コモンモードチョークコイルを介して入力される交流を直流に変換するコンバータ(2)と、前記コンバータから出力される直流が供給される直流リンク(3)と、前記直流リンクからの直流を交流に変換するインバータ(4)と、を含み、
前記キャリア周波数は、前記インバータのキャリア周波数である、請求項1から5のいずれか一項に記載の電力変換装置。
【請求項7】
前記コモンモードチョークコイルの温度を測定する温度測定手段(40)を更に備え、
前記デジタル制御部は、前記温度の測定値に応じて、前記閾値を変更する、請求項1から5のいずれか一項に記載の電力変換装置。
【請求項8】
前記コモンモードチョークコイルは、巻線(11)が巻かれる磁性体コア(12)を含み、
前記デジタル制御部は、前記磁性体コアの磁性に関する情報と、前記キャリア周波数と、前記電流の測定値とに基づいて、磁束密度(B)を演算し、
前記閾値は、前記磁束密度が飽和磁束密度(Blim)になる電流値、又は飽和磁束密度(Blim)である、請求項1から5のいずれか一項に記載の電力変換装置。
【請求項9】
前記デジタル制御部は、前記磁性体コアの磁性に関する情報と前記キャリア周波数とに基づいて、前記キャリア周波数での、磁束密度(B)と磁界強度(H)の関係を導出する、請求項8に記載の電力変換装置。
【請求項10】
前記デジタル制御部は、前記電流の測定値に基づいて磁界強度(H)を演算し、演算された磁界強度と導出された前記関係とに基づいて、磁束密度(B)を演算する、請求項9に記載の電力変換装置。
(【請求項11】以降は省略されています)
発明の詳細な説明
【技術分野】
【0001】
本開示は、電力変換装置及び冷凍装置に関する。
続きを表示(約 1,400 文字)
【背景技術】
【0002】
従来、交流電源と電力変換装置との間に接続されるコモンモードリアクトルの磁気飽和を防ぐ電力変換装置が知られている。この電力変換装置は、コモンモードリアクトルの鉄心に流れる磁束を検出する磁束検出器を備え、磁束検出器で検出した磁束を保護レベルと比較し、検出した磁束が保護レベルを越えた場合に搬送波のスイッチング周波数を変更する。
【先行技術文献】
【特許文献】
【0003】
特開2004-260963号公報
【発明の概要】
【発明が解決しようとする課題】
【0004】
コモンモードチョークコイルの磁気飽和を判定するため、コモンモードチョークコイルに巻かれる補助巻線の両端電圧に基づいて磁束密度を演算する方法が考えられる。しかしながら、この方法は、電力変換装置のキャリア周波数を超える測定周波数で補助巻線の両端電圧を測定することが求められるので、制御部の演算負荷が高くなる。そのため、電力変換装置を小型化する手段の一つであるデジタル化の実現が難しい。
【0005】
本開示は、コモンモードチョークコイルの磁気飽和の緩和をデジタル制御部により実現することを課題とする。
【課題を解決するための手段】
【0006】
第1態様の電力変換装置は、
コモンモードチョークコイルと、
前記コモンモードチョークコイルを介して入力される交流を順変換または周波数変換する電力変換器と、
前記コモンモードチョークコイルにコモンモードで流れる電流を測定する電流測定手段と、
前記電流の測定値又は前記測定値に基づく計算値が閾値を超えた場合、前記電力変換器の動作を切り替えることによって、前記電力変換器のキャリア周波数と同じ周波数成分における前記電流のピーク値Icpを、前記動作の切り替え前よりも下げるデジタル制御部と、を備える。
【0007】
第1態様の電力変換装置によれば、前記コモンモードチョークコイルにコモンモードで流れる電流の測定値又は前記測定値に基づく計算値が閾値を超えた場合、前記ピーク値Icpは下がるので、前記コモンモードチョークコイルの磁気飽和を緩和することができる。第1態様の電力変換装置は、前記電力変換器のキャリア周波数と同じ周波数成分における前記ピーク値Icpを下げるので、あらゆる周波数成分の前記電流のピーク値を下げることに比べて、制御部の負荷が軽くなる。そのため、前記コモンモードチョークコイルの磁気飽和の緩和をデジタル制御部により実現することができる。
【0008】
なお、測定値又は計算値が閾値を超えた場合とは、正の測定値又は正の計算値が正の閾値よりも大きくなった場合でも、負の測定値又は負の計算値が負の閾値よりも小さくなった場合でもよい。
【0009】
第2態様の電力変換装置は、第1態様の電力変換装置であって、
前記デジタル制御部は、前記キャリア周波数を下げることで、前記ピーク値Icpを前記動作の切り替え前よりも下げてもよい。
【0010】
第2態様の電力変換装置によれば、前記測定値又は前記計算値が前記閾値を超えた場合、前記キャリア周波数が下がることで前記ピーク値Icpは下がるので、前記コモンモードチョークコイルの磁気飽和の緩和をデジタル制御部により実現することができる。
(【0011】以降は省略されています)
特許ウォッチbot のツイートを見る
この特許をJ-PlatPat(特許庁公式サイト)で参照する
関連特許
ダイキン工業株式会社
シール材
今日
ダイキン工業株式会社
冷凍装置
7日前
ダイキン工業株式会社
冷凍装置
7日前
ダイキン工業株式会社
冷凍装置
7日前
ダイキン工業株式会社
冷凍装置
7日前
ダイキン工業株式会社
冷凍装置
7日前
ダイキン工業株式会社
冷凍装置
7日前
ダイキン工業株式会社
空気調和装置
23日前
ダイキン工業株式会社
吸着器及び冷凍装置
7日前
ダイキン工業株式会社
圧縮機及び冷凍装置
23日前
ダイキン工業株式会社
インバータ制御装置
23日前
ダイキン工業株式会社
制御回路及び電子機器
23日前
ダイキン工業株式会社
ノイズ抑制回路、空気調和機
23日前
ダイキン工業株式会社
正極合剤、正極および二次電池
14日前
ダイキン工業株式会社
磁気冷凍ユニット及び冷凍装置
23日前
ダイキン工業株式会社
積層体の製造方法および積層体
23日前
ダイキン工業株式会社
電力変換システム、空気調和機
27日前
ダイキン工業株式会社
圧縮機、および冷凍サイクル装置
20日前
ダイキン工業株式会社
圧縮機、および冷凍サイクル装置
20日前
ダイキン工業株式会社
部材、及び、半導体製造関連装置
23日前
ダイキン工業株式会社
情報生成装置、及び、情報生成方法
23日前
ダイキン工業株式会社
ゴム部材、及び、半導体製造関連装置
23日前
ダイキン工業株式会社
ゴム部材、及び、半導体製造関連装置
23日前
ダイキン工業株式会社
圧縮機、冷凍装置、及び圧縮機の組立方法
16日前
ダイキン工業株式会社
粒子、組成物、成形体、及び、粒子の製造方法
23日前
ダイキン工業株式会社
空調機
23日前
ダイキン工業株式会社
硬化性エポキシ樹脂組成物、硬化物及び硬化物の製造方法
23日前
ダイキン工業株式会社
中継装置、およびその中継装置を備えた室外機並びに室内機
10日前
ダイキン工業株式会社
2つのシリコン基板を含む積層体の製造方法および該積層体
23日前
ダイキン工業株式会社
固体組成物、回路基板、固体組成物の製造方法、及び提案装置
今日
ダイキン工業株式会社
シラン化合物
20日前
ダイキン工業株式会社
エッチングガス
9日前
ダイキン工業株式会社
電力管理装置、電力管理システム、電力管理方法及びプログラム
7日前
ダイキン工業株式会社
デポジションガス
9日前
ダイキン工業株式会社
軸受システム、ターボ圧縮機、冷凍システム、軸受システムの異常検出方法
23日前
ダイキン工業株式会社
ノイズ抑制回路、空気調和機
23日前
続きを見る
他の特許を見る