TOP
|
特許
|
意匠
|
商標
特許ウォッチ
Twitter
他の特許を見る
10個以上の画像は省略されています。
公開番号
2025155941
公報種別
公開特許公報(A)
公開日
2025-10-14
出願番号
2025030081
出願日
2025-02-27
発明の名称
空気調和装置
出願人
ダイキン工業株式会社
代理人
弁理士法人前田特許事務所
主分類
F24F
13/20 20060101AFI20251002BHJP(加熱;レンジ;換気)
要約
【課題】冷媒ガスセンサの取り付け及び取り外しを容易に行うことができる空気調和装置を提供する。
【解決手段】空気調査装置は、空気流路(P)を有するケーシング(40)と、空気流路(P)に含まれる第1流路(P1)と、第1流路(P1)を開閉する開閉部材(90)と、開閉部材(90)を駆動する駆動機構(100)と、ケーシング(40)内に漏洩する冷媒を検知する冷媒センサ(140)と、駆動機構(100)が取り付けられる第1取付部(211)と、冷媒センサ(140)が取り付けられる第2取付部(300b)と、ケーシング(40)を構成する前面パネル部(41)に向かい合って配置されるように、第1取付部(211)と前記第2取付部(300b)とを内部に有する収容部(200)とを備える。
【選択図】図11
特許請求の範囲
【請求項1】
空気流路(P)を有するケーシング(40)と、
前記空気流路(P)に含まれる第1流路(P1)と、
前記第1流路(P1)を開閉する開閉部材(90)と、
前記開閉部材(90)を駆動する駆動機構(100)と、
前記ケーシング(40)内に漏洩する冷媒を検知する冷媒センサ(140)と、
前記駆動機構(100)が取り付けられる第1取付部(211)と、
前記冷媒センサ(140)が取り付けられる第2取付部(300b)と、
前記ケーシング(40)を構成する前面パネル部(41)に向かい合って配置されるように、前記第1取付部(211)と前記第2取付部(300b)とを内部に有する収容部(200)とを備える
空気調和装置。
続きを表示(約 1,300 文字)
【請求項2】
前記第2取付部(300b)は、前記第1取付部(211)よりも前記前面パネル部(41)寄りに配置される
請求項1に記載の空気調和装置。
【請求項3】
前記第2取付部(300b)は、前記収容部(200)の前方から見て、前記第1取付部(211)の少なくとも一部が前記第2取付部(300b)の上方に位置するように設けられる
請求項1に記載の空気調和装置。
【請求項4】
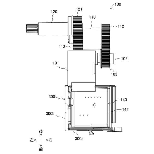
前記開閉部材(90)と前記駆動機構(100)とを連結する回転軸部材(120)をさらに備え、
前記駆動機構(100)は、
出力軸(102)を有するモータ(101)と、
前記モータ(101)の回転力を前記回転軸部材(120)に伝達するギア(110)とを有し、
前記第2取付部(300b)は、前記回転軸部材(120)よりも前記前面パネル部(41)寄りに配置される
請求項1~3のいずれか1つに記載の空気調和装置。
【請求項5】
前記出力軸(102)の軸心は、前記ギア(110)の軸心よりも上方に配置され、
前記第2取付部(300b)の少なくとも一部または前記第2取付部(300b)に取り付けられた前記冷媒センサ(140)は、前記出力軸(102)よりも下方に配置される
請求項4に記載の空気調和装置。
【請求項6】
前記第2取付部(300b)は、上方から見て該第2取付部(300b)の少なくとも一部が前記モータ(101)と重複するように配置される
請求項4に記載の空気調和装置。
【請求項7】
前記収容部(200)の上方に配置され、所定の電気部品を収容する電装品箱(65)をさらに備え、
前記冷媒センサ(140)の第1配線(H1)は、前記収容部(200)から、前記モータ(101)の第2配線(H2)と共に前記電装品箱(65)へ延びる
請求項4に記載の空気調和装置。
【請求項8】
前記収容部(200)は、前記第2取付部(300b)の上方の高さ位置に形成され、前記第1配線(H1)及び前記第2配線(H2)が前記収容部(200)の外側へ延びるように挿通される挿通孔(215)を有し、
前記第1配線(H1)及び前記第2配線(H2)が前記挿通孔(215)から下方へ延びた後、前記電装品箱(65)へ向かって上方に延びるように前記第1配線(H1)及び前記第2配線(H2)の配置を規制する規制部材(220)をさらに備える
請求項7に記載の空気調和装置。
【請求項9】
前記収容部(200)は、前記開閉部材(90)の側方に配置される
請求項1~3のいずれか1つに記載の空気調和装置。
【請求項10】
前記空気流路(P)に配置される熱交換器(31)と、
前記熱交換器(31)の下方に配置されるドレンパン(50)とをさらに備え、
前記収容部(200)は、前記ドレンパン(50)の下方に配置される
請求項1~3のいずれか1つに記載の空気調和装置。
(【請求項11】以降は省略されています)
発明の詳細な説明
【技術分野】
【0001】
本開示は、空気調和装置に関するものである。
続きを表示(約 1,300 文字)
【背景技術】
【0002】
特許文献1に記載の空気調和装置は、冷媒ガスセンサが設けられた室内機を有する。冷媒ガスセンサは、室内機の内部に漏洩する冷媒を検知する。
【先行技術文献】
【特許文献】
【0003】
特開2016-90107号公報
【発明の概要】
【発明が解決しようとする課題】
【0004】
特許文献1に記載の室内機では、冷媒ガスセンサは連絡配管の後方に配置されている。このような場合、室内機の前方から容易に冷媒ガスセンサの取り外しや取り付けを行うことができない。
【0005】
本開示の目的は、冷媒ガスセンサの取り付け及び取り外しを容易に行うことができる空気調和装置を提供することにある。
【課題を解決するための手段】
【0006】
第1の態様は、
空気流路(P)を有するケーシング(40)と、
前記空気流路(P)に含まれる第1流路(P1)と、
前記第1流路(P1)を開閉する開閉部材(90)と、
前記開閉部材(90)を駆動する駆動機構(100)と、
前記ケーシング(40)内に漏洩する冷媒を検知する冷媒センサ(140)と、
前記駆動機構(100)が取り付けられる第1取付部(211)と、
前記冷媒センサ(140)が取り付けられる第2取付部(300b)とを備え、
前記第1取付部(211)及び前記第2取付部(300b)が、前記ケーシング(40)を構成する前面パネル部(41)に向かい合って配置されるように、前記第1取付部(211)と前記第2取付部(300b)とを内部に有する収容部(200)を備える
空気調和装置である。
【0007】
第1の態様では、収容部(200)が前面パネル部(41)と向かっているため、前面パネルを取り外すだけで、前方側から収容部(200)内の冷媒センサ(140)の取り外し及び取り付けを容易にできる。このように空気調査装置のメンテナンス性が向上する。加えて、収容部(200)内に駆動機構(100)及び冷媒センサ(140)を1つの収容部(200)内に収めることができるため、コンパクト化を実現できると共に、駆動機構(100)と冷媒センサ(140)とを別々の収容ケースに収容する場合に比べて、部品点数を抑えることができる。
【0008】
第2の態様は、第1の態様において、前記第2取付部(300b)は、前記第1取付部(211)よりも前記前面パネル部(41)寄りに配置される。
【0009】
第2の態様では、このような配置により、第1取付部(211)と第2取付部(300b)とがケーシング(40)の幅方向に横並びに配置されるよりもケーシング(40)の幅方向(左右方向)の長さを短くできる。これにより空気調和装置の製品を小型できる。
【0010】
第3の態様は、第1または第2の態様において、前記第2取付部(300b)は、前記収容部(200)の前方から見て、前記第1取付部(211)の少なくとも一部が前記第2取付部(300b)の上方に位置するように設けられる。
(【0011】以降は省略されています)
この特許をJ-PlatPat(特許庁公式サイト)で参照する
関連特許
ダイキン工業株式会社
空調機
1日前
ダイキン工業株式会社
制御システムおよび冷凍システム
1日前
株式会社コロナ
空調装置
2か月前
株式会社コロナ
空調装置
1か月前
株式会社コロナ
給湯装置
2か月前
株式会社コロナ
空調装置
6日前
株式会社コロナ
加湿装置
26日前
株式会社コロナ
空調装置
16日前
株式会社コロナ
空気調和機
2か月前
株式会社コロナ
風呂給湯機
1か月前
株式会社コロナ
空気調和機
1か月前
個人
住宅換気空調システム
1か月前
個人
太陽光パネル傾斜装置
1日前
株式会社コロナ
直圧式給湯機
1か月前
株式会社コロナ
貯湯式給湯機
20日前
株式会社コロナ
貯湯式給湯機
12日前
株式会社パロマ
給湯器
3か月前
株式会社コロナ
暖房システム
16日前
ホーコス株式会社
排気フード
2か月前
株式会社コロナ
輻射式冷房装置
1か月前
三菱電機株式会社
換気扇
今日
三菱電機株式会社
換気扇
今日
三菱電機株式会社
換気扇
今日
ホーコス株式会社
換気扇取付枠
1か月前
三菱電機株式会社
送風装置
2か月前
個人
籾殻(そば殻)燃焼ストーブ
1か月前
株式会社コロナ
開放式燃焼暖房機
2か月前
株式会社ツインバード
加熱調理器
26日前
株式会社パロマ
給湯暖房機
3か月前
株式会社パロマ
給湯暖房機
3か月前
株式会社パロマ
給湯暖房機
3か月前
株式会社パロマ
給湯暖房機
3か月前
株式会社パロマ
給湯暖房機
3か月前
株式会社パロマ
給湯暖房機
3か月前
株式会社パロマ
給湯暖房機
3か月前
株式会社パロマ
給湯暖房機
3か月前
続きを見る
他の特許を見る