TOP
|
特許
|
意匠
|
商標
特許ウォッチ
Twitter
他の特許を見る
公開番号
2025137246
公報種別
公開特許公報(A)
公開日
2025-09-19
出願番号
2024036344
出願日
2024-03-08
発明の名称
浮標発電装置
出願人
セイコーフューチャークリエーション株式会社
代理人
個人
,
個人
,
個人
主分類
F03B
13/14 20060101AFI20250911BHJP(液体用機械または機関;風力原動機,ばね原動機,重力原動機;他類に属さない機械動力または反動推進力を発生するもの)
要約
【課題】小型化が可能であり、環境の影響を受けにくく、発電効率が高い浮標発電装置を提供する。
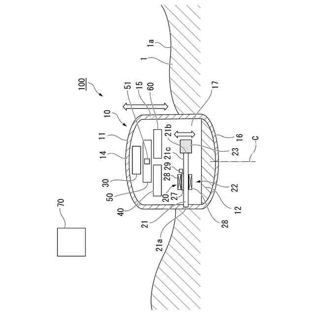
【解決手段】浮標発電装置100は、浮体部10と、磁歪発電部20とを備える。浮体部10は、密閉空間17を有する。浮体部10は、水に浮上可能である。磁歪発電部20は、密閉空間17に設けられている。磁歪発電部20は、浮体部10の運動によって発電を行う磁歪素子27を有する。
【選択図】図1
特許請求の範囲
【請求項1】
密閉空間を有し、水に浮上可能な浮体部と、
前記密閉空間に設けられた磁歪発電部と、を備え、
前記磁歪発電部は、前記浮体部の運動によって発電を行う磁歪素子を有する、
浮標発電装置。
続きを表示(約 740 文字)
【請求項2】
前記磁歪発電部は、前記浮体部の運動により振動するフレームをさらに備え、
前記磁歪素子は、前記フレームの振動により発電を行う、
請求項1記載の浮標発電装置。
【請求項3】
前記浮体部の重心を偏心させる偏心部をさらに備え、
前記フレームは、前記偏心の方向に交差する方向に延在する、
請求項2記載の浮標発電装置。
【請求項4】
前記浮体部の重心を偏心させる偏心部をさらに備え、
前記フレームは、前記偏心の方向に沿って延在する、
請求項2記載の浮標発電装置。
【請求項5】
前記磁歪発電部は複数設けられ、
複数の前記磁歪発電部は、それぞれ前記浮体部の異なる複数の運動方向に対応して発電を行う、
請求項2記載の浮標発電装置。
【請求項6】
前記浮体部の重心を偏心させる偏心部をさらに備え、
複数の前記磁歪発電部は、第1の磁歪発電部と、第2の磁歪発電部とを含み、
前記第1の磁歪発電部の前記フレームは、前記偏心の方向に交差する方向に延在し、
前記第2の磁歪発電部の前記フレームは、前記偏心の方向に沿って延在する、
請求項5記載の浮標発電装置。
【請求項7】
前記水に生じた波の状態を検出する回路をさらに備える、
請求項1~6のうちいずれか1項に記載の浮標発電装置。
【請求項8】
情報を外部に送信可能な通信部をさらに備える、
請求項1記載の浮標発電装置。
【請求項9】
電力供給可能な電源部をさらに備える、
請求項1記載の浮標発電装置。
発明の詳細な説明
【技術分野】
【0001】
本発明は、浮標発電装置に関する。
続きを表示(約 1,000 文字)
【背景技術】
【0002】
従来、潮流によって発電を行う発電システムが提案されている。特許文献1に記載の発電システムは、タービンを備えた発電装置を備えている。特許文献2に記載の波力発電装置は、振動体と、振動体の振動により発電を行う発電機とを備えている。
【先行技術文献】
【特許文献】
【0003】
特開2019-94901号公報
特開2013-164013号公報
【発明の概要】
【発明が解決しようとする課題】
【0004】
特許文献1に記載の発電システムは、タービンを用いるため全体のサイズが大型となる。この発電システムは、タービンが水環境中の異物(藻類など)を取り込むと、発電装置の機能が低下する可能性があるため、周りの環境の影響を受けやすい。この発電システムは、発電装置の向きを潮流に合わせる必要があるため、発電効率が低くなりやすい。特許文献2に記載の波力発電装置は、構造が複雑であるため、小型化は難しかった。
【0005】
本発明の一態様は、小型化が可能であり、環境の影響を受けにくく、発電効率が高い浮標発電装置を提供することを目的とする。
【課題を解決するための手段】
【0006】
[1]密閉空間を有し、水に浮上可能な浮体部と、前記密閉空間に設けられた磁歪発電部と、を備え、前記磁歪発電部は、前記浮体部の運動によって発電を行う磁歪素子を有する、浮標発電装置。
【0007】
前記浮標発電装置によれば、構造が簡略であるため小型化が可能である。前記浮標発電装置は、水の流れの向きにかかわらず発電が可能であるため、発電効率を高めることができる。前記浮標発電装置は、磁歪発電部が浮体部の密閉空間に設けられているため、環境の影響を受けにくい。よって、磁歪発電部の機能を高く維持することができる。
【0008】
[2]前記磁歪発電部は、前記浮体部の運動により振動するフレームをさらに備え、前記磁歪素子は、前記フレームの振動により発電を行う、[1]記載の浮標発電装置。
【0009】
前記浮標発電装置によれば、フレームの振動により発電を行うため、浮体部の運動を効率よく利用し、発電効率を高めることができる。
【0010】
[3]前記浮体部の重心を偏心させる偏心部をさらに備え、前記フレームは、前記偏心の方向に交差する方向に延在する、[2]記載の浮標発電装置。
(【0011】以降は省略されています)
この特許をJ-PlatPat(特許庁公式サイト)で参照する
関連特許
個人
小水力発電器
13日前
個人
サボニウス風車
10日前
個人
閉空間推進移動装置
2か月前
個人
風力発電装置
2か月前
東レ株式会社
風車ブレード
2か月前
個人
水力発電用水の循環活動
28日前
個人
波受け板を用いた波浪発電装置
20日前
個人
岸壁などに設置する波力発電装置
6日前
株式会社 林物産発明研究所
発電装置
1か月前
株式会社ゲットクリーンエナジー
発電機
2か月前
個人
水車発電と水の循環供給装置
1か月前
個人
上下運動を回転運動に変換する装置。
今日
株式会社ライトエンジ
推力発生方法
28日前
三菱電機株式会社
風力発電システム
28日前
株式会社大林組
リフトアップ装置
1か月前
株式会社大林組
リフトアップ装置
1か月前
株式会社アイシン
発電装置
2か月前
個人
波力発電ユニット及び波力発電システム
1か月前
三菱重工業株式会社
風力発電装置
24日前
パナテックス株式会社
発電装置
2か月前
ダイキン工業株式会社
流体機械
19日前
株式会社リアムウィンド
流体発電装置及び流体発電方法
1か月前
合同会社DARRIEUS
可変ピッチ機構及び発電装置
5日前
個人
大車輪の上部から加重力を与え回転力を得て合せて発電を得る構造
5日前
個人
暴風・洪水でも折れず、風速・河川流速の増速が出来る風水車羽根装置
24日前
華能広西清潔能源有限公司
風力発電機の角度修正方法および修正装置
24日前
大成建設株式会社
浮体式基礎の製作方法
1か月前
個人
羽の回転軌道に接点を持つと共に、羽の回転が同期する、二つの抗力型風車
1か月前
セイコーフューチャークリエーション株式会社
浮標発電装置
1か月前
株式会社大林組
ステーリングの取付方法及びステーリングの運搬装置
1か月前
太平電業株式会社
地熱利用システム
18日前
三菱重工業株式会社
風車翼補修装置、及び、風車翼補修方法
2か月前
Yellow Duck株式会社
流体発電装置及び流体発電システム
20日前
関電プラント株式会社
導線の断線検出方法
10日前
国立大学法人室蘭工業大学
星型水素吸蔵合金アクチュエータ
1か月前
東光電気工事株式会社
風車用タワーの搬送装置及び搬送方法
1か月前
続きを見る
他の特許を見る