TOP
|
特許
|
意匠
|
商標
特許ウォッチ
Twitter
他の特許を見る
公開番号
2025073949
公報種別
公開特許公報(A)
公開日
2025-05-13
出願番号
2024007211
出願日
2024-01-22
発明の名称
水力回転装置
出願人
個人
代理人
主分類
F03B
17/02 20060101AFI20250502BHJP(液体用機械または機関;風力原動機,ばね原動機,重力原動機;他類に属さない機械動力または反動推進力を発生するもの)
要約
【課題】本発明は少量の水を循環使用するもので、水の重さで回転子を回転し、回転エネルギーを取り出すことの出来る水利用回転装置に関する。
【解決手段】縦方向の長いパイプが連結された回転子2と、回転子内部に断衝材付き蝶番を設け、開口部の開閉を行う構造とし、上部位置より回転子内に水を供給、連結された回転子の重さで下降し、下部に位置する滑車12を経て上昇、上部滑車5を経て回転運動する構成とする。
【選択図】図1
特許請求の範囲
【請求項1】
多数の回転子同士が中心部分を通るように連結ワイヤで環状に連結された回転子、回転子が縦方向の長いパイプ細、太連結の先端から挿入され、回転子内底部が断衝材付き蝶番で密閉された状態に、上部より回転子内に水が挿入され、上部水入れ容器内パイプ孔よりさらに水が挿入されて下降、回転子内部に設けられた断衝材(ウレタン)付き蝶番により開口部底部の密閉、開口が行われる機能を有し、給水された回転子の重さ等で下降、給水連結された回転子が連なり下部の滑車を経て上部の滑車部へと繰り返す、使用済の水を下部回転装置機関に回す事を特徴とする水力回転装置。
続きを表示(約 210 文字)
【請求項2】
上下に設けられた一対の滑車簡に環状に架け渡された連結ワイヤと、上記連結ワイヤにその循環移動方向に向かって底面となるように所定間隔で設けられた複数の容器と、少なくとも上記容器が上側の滑車から下側の滑車へと移動する間を案内するパイプと、上記パイプの上部に上記容器に水を供給する手段と、上記上側の滑車の回転を支持するシャフトを設けて、上記シャフトから動力を取り出すことを特徴とする水力回転装置。
発明の詳細な説明
【技術分野】
【0001】
本発明は少量の水を循環使用、水重利用で回転子を循環運動し、回転エネルギーを取り出すことの出来る水利用回転装置に関するものである。
続きを表示(約 1,600 文字)
【背景技術】
【0002】
自然運動エネルギーを、発電に利用する水力、風力、海水の波力等などといろいろな利用法があるが、これらはいずれも大規模な設備であり、小さな設備で回転運動をする方法を考案し利用する。
【先行技術文献】
【特許文献】
【0003】
特開2010-275992
【発明の概要】
【発明が解決しようとする課題】
【0004】
特許文献1の開示技術によれば、水の重力と気泡の浮力の力で回転運動する発電装置であり気泡を作る等に他の動力が必要となり効率が下がる。
【課題を解決するための手段】
【0005】
本発明は、前回出願の他の方法として回転子内部構成の変更等により回転力を上げる、回転子(パイプ使用)上下部共開口となっており,一方を底部とし、断衝材(防水用)を設けた蝶番形状の開閉材で底部の開閉を行う、上部位置に有る回転子に、本体上部に設けられた水入れ口より水が供給、更に水入れ容器内で水が供給される、連結された各回転子内に水を受け、連結された回転子は上部の細いパイプ(回転子が通れるサイズ)、下部は太めのパイプを使用水受けされた回転子は水の重さ等により下部容器内回転部へ至り、回転子内の開閉材の蝶番が開となり、回転子内の水を排出しながら、下部滑車を経て上部回転部へと向かう、容器内に排出された水は下部パイプを経て外部次セットに送り、又次セットに回す構成である
【発明の効果】
【0006】
上述した構成からなる本発明によれば、水の重さ等を持った回転子連の下降運動、上昇に向かう回転子内水放出により回転子の重力開方で上昇が楽になり回転運動が行われる。
【図面の簡単な説明】
【0007】
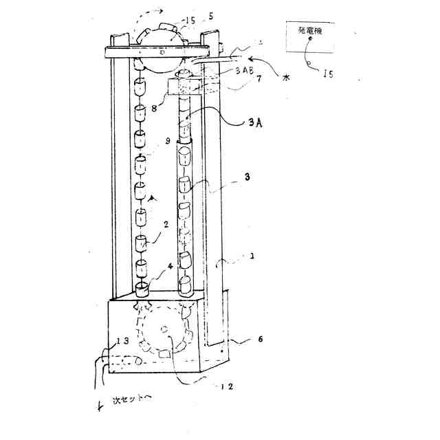
本発明実施するための全体概要図
同上回転子内蝶番閉を表した断面図
同上回転子内蝶番開を表した断面図
同上回転子水給排水口部を表した平面図
同上回転子上部給水部断面図
【発明を実施するための形態】
【0008】
図1は、全体形状表す斜視図で、本体構成体1であり、回転子2連結を表し、上部位置に有る回転子に外部14より給水、給水を受けるパイプ上部口3ABは広くなっており、回転子の挿入又、給水が容易な形状となっている、更に上部水入れ容器7を通るパイプ3Aに穴8が設けられて有り、さらに回転子に保水される、上部の細いパイプ3Aは内径が回転子の外径より太めになっており回転子がスムウズに通過できるサイズとなっている、回転子がパイプ上端部、水容器7パイプより注水され下降、上部の位置で3Aパイプより更に太いパイプ3となる、パイプ3は下部本体下部、水容器6に挿入されている、下部容器6内で回転子内の開閉材10が開となり、水の放出が行われ下部滑車12を経て上部滑車5に向う上部滑車シャフト15より発電機に接続される。回転子2より放出の水が次セットに送ることができる。回転子2は底面を有する容器であって、回転子連結ワイヤ9に所定間隔を持って連結される。また、回転子2は回転子連結ワイヤ9の循環移動方向に向かって底面となるように所定間隔で設けられている。つまりは、回転子2が上方から下方に向かう場合、回転子2の底面は下方に位置することから水を貯水することができる。
【0009】
図2は、回転子2内部を表す断面図で、回転子内部の排水口11Aが閉で給水待ちの状態図、排水口11Aは断衝材(防水)付き蝶番10の閉で封鎖され、給水され下降する、回転子は連結ワイヤで固定されている。
【0010】
図3は、回転子2を表す断面図で、蝶番10開で回転子内部の排水口が開となり排水状態図。
(【0011】以降は省略されています)
この特許をJ-PlatPat(特許庁公式サイト)で参照する
関連特許
個人
風力発電機
2か月前
個人
磁力スロープ
2か月前
個人
波力発電装置
3か月前
個人
小水力発電器
14日前
個人
風車用回転翼
2か月前
個人
折り畳み式風車
2か月前
個人
サボニウス風車
11日前
個人
風力発電装置
2か月前
個人
閉空間推進移動装置
2か月前
東レ株式会社
風車ブレード
2か月前
個人
水力発電用水の循環活動
29日前
個人
波受け板を用いた波浪発電装置
21日前
個人
岸壁などに設置する波力発電装置
7日前
株式会社 林物産発明研究所
発電装置
1か月前
個人
水車発電と水の循環供給装置
1か月前
株式会社ゲットクリーンエナジー
発電機
2か月前
株式会社ライトエンジ
推力発生方法
29日前
三菱電機株式会社
風力発電システム
29日前
個人
上下運動を回転運動に変換する装置。
1日前
株式会社リコー
水力発電装置
2か月前
株式会社アイシン
発電装置
2か月前
株式会社大林組
リフトアップ装置
1か月前
株式会社アイシン
発電装置
2か月前
株式会社大林組
リフトアップ装置
1か月前
個人
波力発電ユニット及び波力発電システム
1か月前
三菱重工業株式会社
風力発電装置
25日前
日本精工株式会社
風力発電装置
3か月前
パナテックス株式会社
発電装置
2か月前
ダイキン工業株式会社
流体機械
20日前
株式会社日本海洋発電
海流発電システム
3か月前
日本精工株式会社
風力発電装置
3か月前
株式会社リアムウィンド
流体発電装置及び流体発電方法
1か月前
合同会社DARRIEUS
可変ピッチ機構及び発電装置
6日前
株式会社デンソー
熱音響装置
2か月前
個人
大車輪の上部から加重力を与え回転力を得て合せて発電を得る構造
6日前
個人
暴風・洪水でも折れず、風速・河川流速の増速が出来る風水車羽根装置
25日前
続きを見る
他の特許を見る