TOP
|
特許
|
意匠
|
商標
特許ウォッチ
Twitter
他の特許を見る
10個以上の画像は省略されています。
公開番号
2025147008
公報種別
公開特許公報(A)
公開日
2025-10-03
出願番号
2025129414,2022147542
出願日
2025-08-01,2022-09-16
発明の名称
水流発電装置
出願人
株式会社日本海洋発電
代理人
個人
,
個人
主分類
F03B
13/26 20060101AFI20250926BHJP(液体用機械または機関;風力原動機,ばね原動機,重力原動機;他類に属さない機械動力または反動推進力を発生するもの)
要約
【課題】水中において、防水性を確保しつつ、安定して水流から効率よく発電する水流発電装置を提供する。
【解決手段】水流により回転する回転体と、発電機及び発電機に繋がるシャフトの一部を収容するポッドを備え、回転体の内側に配置された回転体側磁石とシャフトの外周であって回転体側磁石と対向する位置に配置されたシャフト側磁石との吸引力により回転体の回転をシャフトに伝える、ことを特徴とする水流発電装置。
【選択図】図9
特許請求の範囲
【請求項1】
水流により回転する回転体と、
発電機及び前記発電機に繋がるシャフトを収容するポッドを備え、
前記回転体の内側に配置された回転体側磁石と前記シャフトの外周であって前記回転体側磁石と対向する位置に配置されたシャフト側磁石との吸引力により前記回転体の回転をシャフトに伝える、
ことを特徴とする水流発電装置。
続きを表示(約 560 文字)
【請求項2】
前記ポッドから径方向外側に向けて突出した凸部と前記回転体の内側の凹部とが対峙することにより前記回転体を回転可能に支持する、
ことを特徴とする請求項1に記載の水流発電装置。
【請求項3】
前記ポッドは、中間部にくびれを形成しており、
前記くびれの空間に前記回転体が配置されることにより、前記ポッド及び前記回転体の外側表面が、前方から後方にかけて流線形状を形成している、
ことを特徴とする請求項1に記載の水流発電装置。
【請求項4】
水平方向に並列に配置された複数の前記ポッドを繋ぐ連結部と、
前記連結部の中央に係留索を連結する中央支持部材と、
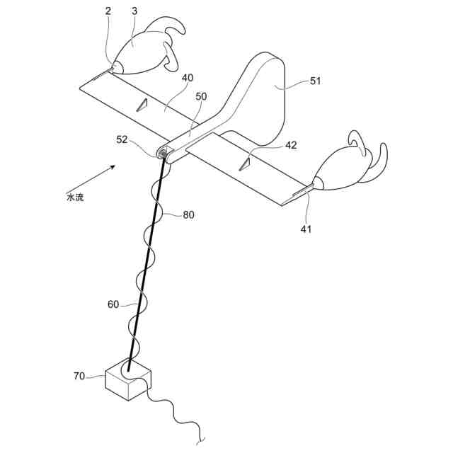
前記中央支持部材に繋がれた係留索は、水上のステーションと水底のアンカーを繋ぐ係留索に繋がれている、
ことを特徴とする請求項1から請求項3のいずれか1項に記載の水流発電装置。
【請求項5】
前記回転体は、周囲にのこぎり状の起伏を有する表面を有する円筒であり、のこぎり状の起伏の谷に連結したブレードを備え、
前記ブレードは、前記回転体とのなす角度が、水流により変化することで、回転体を回転させる、
ことを特徴とする請求項1又は請求項2に記載の水流発電装置。
発明の詳細な説明
【技術分野】
【0001】
本発明は、水流発電装置に関する。
続きを表示(約 1,800 文字)
【背景技術】
【0002】
従来より、海や河川の水流の中でプロペラ等の回転体を回転させることにより、水流の運動エネルギーを電気エネルギーに変換させて発電させる技術は存在する。
【0003】
特許文献1には、水流により回転するタービンに取り付けられたタービンシャフトが発電ポッドのタービン側の壁に設けられた開口部を貫通し、発電ポッド内部の発電機と繋がっている水流発電装置が記載されている。この水流発電装置は、海底のシンカーに係留索で固定されている状態で、浮力を調整しつつ海中に姿勢を制御しながら発電を行う浮体式発電装置である。そして、発電ポッドの開口部を取り囲むように配置された伸縮可能な蛇腹状のベローズは、発電ポッド内への海水の浸入を防止する。
【0004】
特許文献2には、海底に固定した垂直材に水中回転体を配置し、海流が水中回転体を回転させた回転エネルギーを海上の発電機に伝達する技術が記載されている。水中回転体と支持部とはユニバーサルジョイント機構で接続されているため、回転体は上下左右の自在の方向に向きを変えることができる。
【先行技術文献】
【特許文献】
【0005】
特開2019-199861号公報
特開2009-121241号公報
【発明の概要】
【発明が解決しようとする課題】
【0006】
しかしながら、特許文献1の発明は、ベローズが配置されているものの、ベローズが破損した場合、発電ポッドの壁に設けられた開口部から発電ポッド内に海水が浸入するおそれがある。また、浮体式発電装置が海流の影響を受けやすく振動や揺動にさらされているため、発電効率の低下に繋がるおそれがある。
【0007】
また、特許文献2の発明は、海流の流れの向きの変化に応じて、水中回転体の向きを自在に変化させることはできるが、ユニバーサルジョイント機構という小さな接点で連結されているため、水中回転体の水中における振動や揺動の影響がジョイントに集中し、ジョイントが破損するリスクがある。
【0008】
本発明は、このような状況に鑑みてなされたものであり、水中において、防水性を確保しつつ、安定して水流から効率よく発電する水流発電装置を提供することを目的とする。
【課題を解決するための手段】
【0009】
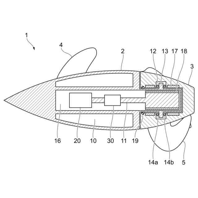
請求項1に記載された発明は、水流により回転する回転体と、発電機及び前記発電機に繋がるシャフトを収容するポッドを備え、前記回転体の内側に配置された回転体側磁石と前記シャフトの外周であって前記回転体側磁石と対向する位置に配置されたシャフト側磁石との吸引力により前記回転体の回転をシャフトに伝える、ことを特徴とする水流発電装置。
請求項2に記載された発明は、前記ポッドから径方向外側に向けて突出した凸部と前記回転体の内側の凹部とが対峙することにより前記回転体を回転可能に支持する、ことを特徴とする請求項1に記載の水流発電装置である。
請求項3に記載された発明は、前記ポッドは、中間部にくびれを形成しており、前記くびれの空間に前記回転体が配置されることにより、前記ポッド及び前記回転体の外側表面が、前方から後方にかけて流線形状を形成している、ことを特徴とする請求項1に記載の水流発電装置である。
請求項4に記載された発明は、水平方向に並列に配置された複数の前記ポッドを繋ぐ連結部と、前記連結部の中央に係留索を連結する中央支持部材と、前記中央支持部材に繋がれた係留索は、水上のステーションと水底のアンカーを繋ぐ係留索に繋がれている、ことを特徴とする請求項1から請求項3のいずれか1項に記載の水流発電装置である。
請求項5に記載された発明は、前記回転体は、周囲にのこぎり状の起伏を有する表面を有する円筒であり、のこぎり状の起伏の谷に連結したブレードを備え、前記ブレードは、前記回転体とのなす角度が、水流により変化することで、回転体を回転させる、ことを特徴とする請求項1又は請求項2に記載の水流発電装置である。
【発明の効果】
【0010】
本発明によれば、水中において、防水性を確保しつつ、安定して水流から効率よく発電する水流発電装置を提供する。
【図面の簡単な説明】
(【0011】以降は省略されています)
この特許をJ-PlatPat(特許庁公式サイト)で参照する
関連特許
株式会社日本海洋発電
水流発電装置
2か月前
個人
風力発電機
4か月前
個人
小水力発電器
1か月前
個人
波力発電装置
4か月前
個人
磁力スロープ
3か月前
個人
風車用回転翼
4か月前
個人
サボニウス風車
1か月前
個人
折り畳み式風車
4か月前
個人
風力発電装置
3か月前
個人
閉空間推進移動装置
3か月前
東レ株式会社
風車ブレード
3か月前
個人
水力発電用水の循環活動
2か月前
Orbray株式会社
発電装置
1か月前
個人
水中での上下動による発電
21日前
個人
波受け板を用いた波浪発電装置
2か月前
株式会社 林物産発明研究所
発電装置
2か月前
個人
岸壁などに設置する波力発電装置
1か月前
個人
水車発電と水の循環供給装置
3か月前
株式会社ゲットクリーンエナジー
発電機
3か月前
個人
上下運動を回転運動に変換する装置。
1か月前
株式会社ライトエンジ
推力発生方法
2か月前
三菱電機株式会社
風力発電システム
2か月前
株式会社リコー
水力発電装置
3か月前
株式会社大林組
リフトアップ装置
12日前
株式会社大林組
リフトアップ装置
2か月前
株式会社大林組
リフトアップ装置
12日前
株式会社アイシン
発電装置
3か月前
株式会社アイシン
発電装置
3か月前
株式会社大林組
リフトアップ装置
2か月前
株式会社酉島製作所
多段式流体機械
1か月前
個人
波力発電ユニット及び波力発電システム
3か月前
三菱重工業株式会社
風力発電装置
2か月前
サイエンスリサーチ株式会社
垂直軸型風車
7日前
株式会社大林組
リフトアップ装置の制御装置
1か月前
パナテックス株式会社
発電装置
3か月前
国立大学法人 岡山大学
回転装置
20日前
続きを見る
他の特許を見る