TOP
|
特許
|
意匠
|
商標
特許ウォッチ
Twitter
他の特許を見る
10個以上の画像は省略されています。
公開番号
2025146803
公報種別
公開特許公報(A)
公開日
2025-10-03
出願番号
2025046419
出願日
2025-03-21
発明の名称
風力発電のアイドラーホイールの等速回転を制御する速度制御装置
出願人
個人
代理人
弁理士法人太田特許事務所
主分類
F03D
7/04 20060101AFI20250926BHJP(液体用機械または機関;風力原動機,ばね原動機,重力原動機;他類に属さない機械動力または反動推進力を発生するもの)
要約
【課題】風力発電のアイドラーホイールの等速回転を制御するための速度制御装置を提供する。
【解決手段】
速度制御装置は、風力発電ユニット、第1速度制御ユニット、伝動ギア群、アイドラーエネルギー貯蔵ユニット及び第2速度制御ユニットを含む。風力発電ユニットの風力始動ギア群はプリセット風力値以上の風力によって駆動される。風力がプリセット風力値より低い場合、第1速度制御ユニットの速度制御モータ上のラックユニットが電力で駆動され、第1速度制御ユニットの速度制御ギア群が第1速度制御ユニットの第1ワンウェイギアによって駆動され、伝動ギア群が第2速度制御ユニットの第2ワンウェイギアによって駆動され、伝動ギア群が一定時間回転し、アイドラーエネルギー貯蔵ユニットのアイドラーホイールがアイドラーエネルギー貯蔵ユニットの発電機の主軸に一定時間の回転を行わせ、アイドラーホイールに等速回転を維持させ、回転が停止する状況を回避する。
【選択図】図1
特許請求の範囲
【請求項1】
風力タービンと風力始動ギア群とを含み、前記風力タービンがプリセット風力値以上の風力で駆動される時、前記風力始動ギア群が前記風力タービンによって駆動されて回転し、
速度制御モータ、ラックユニット、第1スイングアーム、スプリング、フレーム、速度制御ギア群、第1ワンウェイベアリング、及び第1ワンウェイギアを含み、前記ラックユニットは、前記速度制御モータに位置して前記速度制御モータによって駆動されることができ、且つ前記ラックユニットは、クラッチ、ラックギア群、接続ラックギア、ラック、ダンパ、上クラッチスイッチ、及び下クラッチスイッチを含み、前記クラッチは前記ラックギア群を駆動し、前記ラックギア群は前記接続ラックギアを駆動し、前記接続ラックギアは前記ラックを下方に移動させ、前記ラックには上始動部と下始動部を有し、前記上クラッチスイッチと前記下クラッチスイッチは、それぞれ前記ダンパの上下両端に配置され、且つ前記上クラッチスイッチと前記下クラッチスイッチは前記ラックの前記上始動部と前記下始動部との間に位置し、前記速度制御モータがクラッチを駆動する時、前記クラッチが始動し、前記ラックギア群、前記接続ラックギア及び前記ラックを順に駆動して、前記ラックが下方に移動させ、前記スプリングの一端は、前記フレームに設けられ、前記スプリングの他端は、第1スイングアームに設けられ、前記速度制御モータ、前記第1ワンウェイベアリング及び前記第1ワンウェイギアは、前記第1スイングアームの同一端に位置し、前記速度制御モータ、前記ラックユニット及び前記スプリングは、前記速度制御ギア群、前記第1ワンウェイベアリング及び前記第1ワンウェイギアに相対して前記第1スイングアームの他端に位置し、前記速度制御ギア群は、前記第1ワンウェイギアによって駆動され、前記第1ワンウェイギアは、前記第1ワンウェイベアリングに設けられて駆動される時に一定時間の回転を行い、前記速度制御モータが電力を受けて駆動される時、前記ラックユニットの前記クラッチは、前記速度制御モータによって駆動されて回転し、前記第1スイングアームが前記ラックユニットの前記ラックの押下によって移動して第1押下力を発生させ、前記第1ワンウェイベアリングを駆動して前記第1ワンウェイギアに一定時間の回転を行わせ、この時、前記速度制御ギア群は、前記第1ワンウェイギアに追従して一定時間の回転を行い、前記第1スイングアームが前記ラックユニットの前記ラックからの押下力を解除する時、前記第1スイングアームは、前記スプリングの弾性復元応力によって元の位置に戻り、この時、前記ラックは、前記下始動部が前記下クラッチスイッチをトリガして前記速度制御モータに前記クラッチへの給電を始動させるまで前記第1スイングアームによって上方に押し動かされて元の位置に戻る第1速度制御ユニットと、
前記風力始動ギア群又は前記速度制御ギア群によって駆動されて回転することができる伝動ギア群と、
アイドラーホイール、アイドラーギア群、発電機主軸ギア、発電機主軸及び発電機を含み、前記アイドラーホイールは、前記アイドラーギア群により駆動されて回転し、前記アイドラーホイールを回転させた後、前記アイドラーギア群に一定時間の回転を行わせ、前記発電機主軸ギアは、前記アイドラーギア群により駆動されて回転し、前記発電機主軸は、前記発電機主軸ギアと同期して回転し、前記発電機は、前記発電機主軸の動作により電力を生成し、外部に出力することができ、前記アイドラーホイールが回転する時、前記アイドラーギア群は、前記発電機主軸ギア及び前記発電機主軸を一定時間同期回転するように駆動し、前記発電機を前記発電機主軸の作動により電力を発生せることができ、前記発電機は、前記速度制御モータに電気的に接続され、前記風力タービンが受ける風力が前記プリセット風力値より低い場合、前記発電機は、前記速度制御モータに電力を供給し、前記速度制御モータを作動させるアイドラーエネルギー貯蔵ユニットと、
第2スイングアーム、載置台、第2ワンウェイベアリング及び第2ワンウェイギアを含み、前記第2スイングアームの一端は前記速度制御ギア群上に配置され、前記載置台は前記速度制御ギア群に対して前記第2スイングアームの他端上に配置され、前記載置台上に前記速度制御モータ、前記クラッチ、前記ラックギア群、前記接続ラックギア、及び前記ダンパが載置され、前記第2ワンウェイベアリング及び前記第2ワンウェイギアは前記載置台に対して前記第2スイングアームの他端上に配置され、前記第2ワンウェイギアは前記伝動ギア群を駆動することができ、前記第2ワンウェイギアは前記第2ワンウェイベアリング上に配置され、駆動時に一定時間回転することができ、前記第2スイングアームと前記載置台は前記速度制御ギア群によって支持して吊り下げられ、前記速度制御ギア群によって駆動されて上方に移動することができ、前記第1スイングアームが前記スプリングの弾性復元応力によって元の位置に戻った後、前記第2スイングアームは前記速度制御モータ及び前記ラックユニットの重量によって押下されて元の位置に戻り、更に第2押下力を発生し、前記第2ワンウェイベアリングを駆動して前記第2ワンウェイギアを一定時間回転させ、このとき、前記伝動ギア群は、前記第2ワンウェイギアに追従して一定時間回転し、前記第2スイングアーム及び前記載置台は、前記速度制御モータにより駆動力が与えられた前記速度制御ギア群により駆動されて上方に移動し、この時、前記ラックの前記上始動部が前記上クラッチスイッチをトリガし、前記速度制御モータにクラッチへの給電を停止させるまで前記ダンパの前記上クラッチスイッチが上方に押し上げられる第2速度制御ユニットと、
を含み、
前記速度制御モータは前記載置台上に更に配置され、
前記伝動ギア群が駆動されて回転する時、前記アイドラーギア群が前記伝動ギア群によって駆動されて回転し、前記アイドラーホイールを前記アイドラーギア群に追従して回転させた後、前記アイドラーギア群、前記発電機主軸ギア、及び前記発電機主軸に一定時間の回転を行わせ、
前記風力タービンが前記プリセット風力値以上の風力によって駆動される時、前記風力始動ギア群が作動して回転し、前記伝動ギア群を駆動し、前記アイドラーギア群、前記発電機主軸ギア及び前記発電機主軸に前記アイドラーホイールによって一定時間の回転を行わせ、
前記風力タービンが受ける風力が前記プリセット風力値よりも低い場合、前記速度制御モータ上の前記ラックユニットが電力を受けて駆動され、前記速度制御ギア群が前記第1ワンウェイギアによって駆動され、前記伝動ギア群が前記第2ワンウェイギアによって駆動され、前記伝動ギア群に一定期間の回転を行わせ、前記アイドラーホイールに風力が不十分な時間に前記アイドラーギア群、前記発電機主軸ギア、及び前記発電機主軸を一定時間回転させて等速状態を維持させることができる速度制御装置。
続きを表示(約 1,100 文字)
【請求項2】
前記第1速度制御ユニットの前記速度制御モータが更に電線を介して前記発電機に電気的に接続される請求項1に記載の速度制御装置。
【請求項3】
前記速度制御装置は、前記速度制御モータと前記発電機との間に配置された制御ユニットを更に含み、前記制御ユニットは、前記風力タービンが受ける風力が前記プリセット風力値よりも低い場合に、前記発電機に前記速度制御モータに電力を供給させて前記速度制御モータを動作させる請求項1に記載の速度制御装置。
【請求項4】
前記上クラッチスイッチ及び前記下クラッチスイッチは、それぞれ電線を介して制御ユニットに電気的に接続され、前記上始動部が前記上クラッチスイッチをトリガする時、前記制御ユニットは、更に、前記速度制御モータに前記クラッチへの給電を停止させ、前記下始動部が前記下クラッチスイッチをトリガする時、前記制御ユニットは、更に、前記速度制御モータに前記クラッチへの給電させる請求項1に記載の速度制御装置。
【請求項5】
前記第1スイングアームは、更に第1馬蹄形クランプを含み、且つ前記第1馬蹄形クランプは、前記速度制御ギア群、前記第1ワンウェイベアリング及び前記第1ワンウェイギアと前記第1スイングアームの同じ端に位置し、前記第1ワンウェイベアリングと前記第1ワンウェイギアは、前記第1スイングアームの前記第1馬蹄形クランプ内に更に配置される請求項1に記載の速度制御装置。
【請求項6】
前記第2スイングアームは、第2馬蹄形クランプを更に含み、且つ前記第2馬蹄形クランプは前記第2ワンウェイベアリング及び前記第2ワンウェイギアと前記第2スイングアームの同じ端に位置し、前記第2ワンウェイベアリングと前記第2ワンウェイギアは、前記第2スイングアームの前記第2馬蹄形クランプ内に更に配置される請求項1に記載の速度制御装置。
【請求項7】
前記風力始動ギア群は複数のギアから構成され、且つ少なくとも1つの各前記ギアは、ベアリングを有する請求項1に記載の速度制御装置。
【請求項8】
前記速度制御ギア群は複数のギアから構成され、且つ少なくとも1つの各前記ギアはベアリングを有する請求項1に記載の速度制御装置。
【請求項9】
前記伝動ギア群は複数のギアから構成され、且つ少なくとも1つの各前記ギアはベアリングを有する請求項1に記載の速度制御装置。
【請求項10】
前記アイドラーギア群は複数のギアから構成され、且つ少なくとも1つの各前記ギアはベアリングを有する請求項1に記載の速度制御装置。
発明の詳細な説明
【技術分野】
【0001】
本発明は、速度制御装置、特に風力発電のアイドラーホイールの等速回転を制御する速度制御装置に関する。
続きを表示(約 6,700 文字)
【背景技術】
【0002】
現在、市場には、風力発電とアイドラー関連システムを組み合わせた電力供給機構があり、アイドラーを回転させて発電機の主軸を同期動作させることで電力を生成し、外部に出力し、これにより、比較的環境に優しい方法で電力を得るという目標を達成している。しかし、風力発電には無風、不安定の風力又は風向によって一定期間正常な発電ができなくなるなどの問題が存在し、これらの要因により、電源機構のアイドラーホイールが等速回転できなくなる又は速度が徐々に低下し、更には回転が停止する場合があり、これにより、発電機の主軸が等速回転しなくなり、正常に電力を出力することができない問題も生じる。
【先行技術文献】
【特許文献】
【0003】
特表2023-533059号公報
【発明の概要】
【発明が解決しようとする課題】
【0004】
本発明の目的は、風力発電ユニット、第1速度制御ユニット、伝動ギア群、アイドラーエネルギー貯蔵ユニット及び第2速度制御ユニットを含む風力発電のアイドラーホイールの等速回転を制御するための速度制御装置を提供することである。前記風力発電ユニットの風力タービンがプリセット風力値以上の風力によって駆動される時、風力始動ギア群が前記風力タービンによって駆動されて作動し、回転する。風力がプリセット風力値よりも低い場合、前記第1速度制御ユニットの速度制御モータ上のラックユニットが電力で駆動され、前記第1速度制御ユニットの速度制御ギア群が前記第1速度制御ユニットの第1ワンウェイギアによって駆動され、前記伝動ギア群が前記第2速度制御ユニットの第2ワンウェイギアによって駆動され、前記伝動ギア群が一定時間回転し、これにより、前記アイドラーエネルギー貯蔵ユニットのアイドラーホイールが前記アイドラーエネルギー貯蔵ユニットの発電機の主軸を一定の速度(等速)で回転するように駆動し、電源機構内のアイドラーホイールの回転速度が徐々に遅くなり、更には回転が停止する状況を回避する。
【課題を解決するための手段】
【0005】
上記目的を達成するために、本発明は、風力発電のアイドラーホイールの等速回転を制御する速度制御装置を提供し、前記速度制御装置は、風力発電ユニット、第1速度制御ユニット、伝動ギア群、アイドラーエネルギー貯蔵ユニット及び第2速度制御ユニットを含む。前記風力発電ユニットは、風力タービン及び風力始動ギア群を含み、前記風力タービンがプリセット風力値以上の風力で駆動される時、前記風力始動ギア群が前記風力タービンによって駆動されて回転する。前記第1速度制御ユニットは、速度制御モータ、ラックユニット、第1スイングアーム、スプリング、フレーム、速度制御ギア群、第1ワンウェイベアリング、及び第1ワンウェイギアを含み、前記ラックユニットは、前記速度制御モータに位置して前記速度制御モータによって駆動されることができ、且つ前記ラックユニットは、クラッチ、ラックギア群、接続ラックギア、ラック、ダンパ、上クラッチスイッチ、及び下クラッチスイッチを含み、前記クラッチは前記ラックギア群を駆動し、前記ラックギア群は前記接続ラックギアを駆動し、前記接続ラックギアは前記ラックを下方に移動させ、前記ラックには上始動部と下始動部を有し、前記上クラッチスイッチと前記下クラッチスイッチは、それぞれ前記ダンパの上下両端に配置され、且つ前記上クラッチスイッチと前記下クラッチスイッチは前記ラックの前記上始動部と前記下始動部との間に位置し、前記速度制御モータがクラッチを駆動する時、前記クラッチが始動し、前記ラックギア群、前記接続ラックギア及び前記ラックを順に駆動して、前記ラックが下方に移動させ、前記スプリングの一端は、前記フレームに設けられ、前記スプリングの他端は、第1スイングアームに設けられ、前記速度制御モータ、前記第1ワンウェイベアリング及び前記第1ワンウェイギアは、前記第1スイングアームの同一端に位置し、前記速度制御モータ、前記ラックユニット及び前記スプリングは、前記速度制御ギア群、前記第1ワンウェイベアリング及び前記第1ワンウェイギアに相対して前記第1スイングアームの他端に位置し、前記速度制御ギア群は、前記第1ワンウェイギアによって駆動され、前記第1ワンウェイギアは、前記第1ワンウェイベアリングに設けられて駆動される時に一定時間の回転を行い、前記速度制御モータが電力を受けて駆動される時、前記ラックユニットの前記クラッチは、前記速度制御モータによって駆動されて回転し、前記第1スイングアームが前記ラックユニットの前記ラックの押下によって移動して第1押下力を発生させ、前記第1ワンウェイベアリングを駆動して前記第1ワンウェイギアに一定時間の回転を行わせ、この時、前記速度制御ギア群は、前記第1ワンウェイギアに追従して一定時間の回転を行い、前記第1スイングアームが前記ラックユニットの前記ラックからの押下力を解除する時、前記第1スイングアームは、前記スプリングの弾性復元応力によって元の位置に戻り、この時、前記ラックは、前記下始動部が前記下クラッチスイッチをトリガして前記速度制御モータに前記クラッチへの給電を始動させるまで前記第1スイングアームによって上方に押し動かされて元の位置に戻る。前記伝動ギア群は、前記風力始動ギア群又は前記速度制御ギア群によって駆動されて回転することができる。前記アイドラーエネルギー貯蔵ユニットは、アイドラーホイール、アイドラーギア群、発電機主軸ギア、発電機主軸及び発電機を含み、前記アイドラーホイールは、前記アイドラーギア群により駆動されて回転し、前記アイドラーホイールを回転させた後、前記アイドラーギア群に一定時間の回転を行わせ、前記発電機主軸ギアは、前記アイドラーギア群により駆動されて回転し、前記発電機主軸は、前記発電機主軸ギアと同期して回転し、前記発電機は、前記発電機主軸の動作により電力を生成し、外部に出力することができ、前記アイドラーホイールが回転する時、前記アイドラーギア群は、前記発電機主軸ギア及び前記発電機主軸を一定時間同期回転するように駆動し、前記発電機を前記発電機主軸の作動により電力を発生せることができ、前記発電機は、前記速度制御モータに電気的に接続され、前記風力タービンが受ける風力が前記プリセット風力値より低い場合、前記発電機は、前記速度制御モータに電力を供給し、前記速度制御モータを作動させる。前記第2速度制御ユニットは、第2スイングアーム、載置台、第2ワンウェイベアリング及び第2ワンウェイギアを含み、前記第2スイングアームの一端は前記速度制御ギア群上に配置され、前記載置台は前記速度制御ギア群に対して前記第2スイングアームの他端上に配置され、前記載置台上に前記速度制御モータ、前記クラッチ、前記ラックギア群、前記接続ラックギア、及び前記ダンパが載置され、前記第2ワンウェイベアリング及び前記第2ワンウェイギアは前記載置台に対して前記第2スイングアームの他端上に配置され、前記第2ワンウェイギアは前記伝動ギア群を駆動することができ、前記第2ワンウェイギアは前記第2ワンウェイベアリング上に配置され、駆動時に一定時間回転することができ、前記第2スイングアームと前記載置台は前記速度制御ギア群によって支持して吊り下げられ、前記速度制御ギア群によって駆動されて上方に移動することができ、前記第1スイングアームが前記スプリングの弾性復元応力によって元の位置に戻った後、前記第2スイングアームは前記速度制御モータ及び前記ラックユニットの重量によって押下されて元の位置に戻り、更に第2押下力を発生し、前記第2ワンウェイベアリングを駆動して前記第2ワンウェイギアを一定時間回転させ、このとき、前記伝動ギア群は、前記第2ワンウェイギアに追従して一定時間回転し、前記第2スイングアーム及び前記載置台は、前記速度制御モータにより駆動力が与えられた前記速度制御ギア群により駆動されて上方に移動し、この時、前記ラックの前記上始動部が前記上クラッチスイッチをトリガし、前記速度制御モータにクラッチへの給電を停止させるまで前記ダンパの前記上クラッチスイッチが上方に押し上げられる。前記速度制御モータは前記載置台上に更に配置され、前記伝動ギア群が駆動されて回転する時、前記アイドラーギア群が前記伝動ギア群によって駆動されて回転し、前記アイドラーホイールを前記アイドラーギア群に追従して回転させた後、前記アイドラーギア群、前記発電機主軸ギア、及び前記発電機主軸に一定時間の回転を行わせ、前記風力タービンが前記プリセット風力値以上の風力によって駆動される時、前記風力始動ギア群が作動して回転し、前記伝動ギア群を駆動し、前記アイドラーギア群、前記発電機主軸ギア及び前記発電機主軸に前記アイドラーホイールによって一定時間の回転を行わせ、前記風力タービンが受ける風力が前記プリセット風力値よりも低い場合、前記速度制御モータ上の前記ラックユニットが電力を受けて駆動され、前記速度制御ギア群が前記第1ワンウェイギアによって駆動され、前記伝動ギア群が前記第2ワンウェイギアによって駆動され、前記伝動ギア群に一定期間の回転を行わせ、前記アイドラーホイールに風力が不十分な時間に前記アイドラーギア群、前記発電機主軸ギア、及び前記発電機主軸を一定時間回転させて等速状態を維持させ、前記アイドラーホイールに風力が不十分な時間に前記アイドラーギア群、前記発電機主軸ギア、及び前記発電機主軸を一定時間回転させ、前記アイドラーホイールの回転速度が徐々に遅くなり、更には回転が停止する状況を回避する。
【図面の簡単な説明】
【0006】
本発明の実施形態の斜視図である。
本発明の速度制御装置上のラックユニットの部分拡大斜視図である。
図2の一方向の側面図である。
図3の部分拡大図である。
本発明の速度制御装置上の第1スイングアーム及び第2スイングアームの側面部分拡大図である。
図5の第1スイングアームがラックの押下を受けて移動する説明図である。
図5の載置台の上方変位の説明図である。
本発明の実施形態の一方向の部分拡大図である。
本発明の実施形態の平面部分拡大図である。
本発明の風力始動ギア群と伝動ギア群の部分拡大斜視図である。
本発明の風力始動ギア群と伝動ギア群の別の部分拡大斜視図である。
図3を部分拡大図である。
図12の平面部分拡大図である。
本発明の速度制御ギア群と伝動ギア群の部分拡大図である。
本発明の速度制御ギア群と伝動ギア群の別の部分拡大図である。
本発明の速度制御ギア群のベアリングの部分拡大側面断面図である。
本発明の伝動ギア群のベアリングの部分拡大側面断面図である。
本発明の風力始動ギア群のベアリングの別の部分拡大側面断面図である。
本発明の風力始動ギア群のベアリングの別の部分拡大側面断面図である。
図1の第1馬蹄形クランプの部分拡大図である。
図20の分解図である。
本発明の第2馬蹄形クランプの部分拡大斜視図である。
図22の分解図である。
【発明を実施するための形態】
【0007】
図1を参照し、本発明は、風力発電のアイドラーホイールの等速回転を制御する速度制御装置1を提供し、速度制御装置1は、風力発電ユニット10、第1速度制御ユニット20、伝動ギア群30、アイドラーエネルギー貯蔵ユニット40及び第2速度制御ユニット50を含む。
【0008】
前記風力発電ユニット10は、図1、図8、図9及び図11に示すように、風力タービン11と風力始動ギア群12とを含む。風力タービン11がプリセット風力値以上の風力によって駆動される時、風力始動ギア群12が風力タービン11に駆動されて作動し、回転する。
【0009】
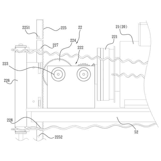
第1速度制御ユニット20は、速度制御モータ21(図1参照)、ラックユニット22(図1参照)、第1スイングアーム23(図1参照)、スプリング24(図1参照)、フレーム25(図1参照)、速度制御ギア群26(図1参照)、第1ワンウェイベアリング27(図5参照)及び第1ワンウェイギア28(図5参照)を含み、前記ラックユニット22は、前記速度制御モータ21に位置し、前記速度制御モータ21によって駆動されることができ、且つ前記ラックユニット22は、クラッチ221、ラックギア群222、リンクラックギア224、ラック225、ダンパ226、上クラッチスイッチ227及び下クラッチスイッチ228を含む(図6参照)。前記クラッチ221は、前記ラックギア群222を駆動することができ、前記ラックギア群222は、前記リンクラックギア224を駆動することができ、前記リンクラックギア224は、前記ラック225を下方に移動させ(図7参照)、ラック225は、上始動部2251及び下始動部2252を有し(図7参照)、前記上クラッチスイッチ227及び前記下クラッチスイッチ228は、前記ダンパ226の上下両端にそれぞれ設けられ(図7参照)、且つ前記ラック225の前記上始動部2251と前記下始動部2252との間に位置する(図7参照)。前記速度制御モータ21がクラッチ221を駆動する時、前記クラッチ221が始動して前記ラックギア群222、前記リンクラックギア224及び前記ラック225を順に駆動し、前記ラック225を下方に移動させる(図6参照)。前記スプリング24の一端は、前記フレーム25に設けられ(図1参照)、前記スプリング24の他端は、前記第1スイングアーム23に設けられ(図5参照)、前記速度制御ギア群26、前記第1ワンウェイベアリング27及び前記第1ワンウェイギア28は、前記第1スイングアーム23の同じ一端に位置し(図5参照)、前記速度制御モータ21、前記ラックユニット22及び前記スプリング24は、前記速度制御ギア群26、前記第1ワンウェイベアリング27及び前記第1ワンウェイギア28に相対して前記第1スイングアーム23の他端に位置し(図5参照)、前記速度制御ギア群26は、前記第1ワンウェイギア28によって駆動されることができ、前記第1ワンウェイギア28は、前記第1ワンウェイベアリング27に設けられて駆動される時に一定時間の回転を行うことができる(図7参照)。前記速度制御モータ21が電力によって駆動される時、前記速度制御モータ21によって前記ラックユニット22の前記クラッチ221が駆動されて回転し、前記第1スイングアーム23が前記ラックユニット22によって押下され(図6の矢印Aの方向に示す)、第1押下力Nを生成して前記第1ワンウェイベアリング27を駆動し、図6に示すように前記第1ワンウェイギア28を一定時間回転させ、この時、前記速度制御ギア群26は、前記第1ワンウェイギア28に追従して一定時間回転する。前記第1スイングアーム23が前記ラックユニット22の前記ラック225からの押下力Nを解除する時、前記第1スイングアーム23は、前記スプリング24の弾性復元応力によって元の位置に戻る。この時、前記クラッチ221が前記ラックギア群222及び前記リンクラックギア224の駆動を一時停止した状態にあり、前記ラックギア群222及び前記リンクラックギア224を、制限を受けずに回転方向に自由に回転させるため、前記下始動部2252が前記下クラッチスイッチ228をトリガして前記速度制御モータ21に前記クラッチ221への給電を始動させるまで前記ラック225が前記第1スイングアーム23によって上方に押し動かされて(図5の矢印Dの方向に示す)元の位置に戻る。
【0010】
前記伝動ギア群30は、前記風力始動ギア群12(図9~図12参照)又は前記速度制御ギア群26(図12~図14参照)によって駆動されて作動し、回転することができる。
(【0011】以降は省略されています)
この特許をJ-PlatPat(特許庁公式サイト)で参照する
関連特許
個人
風力発電機
2か月前
個人
風車用回転翼
2か月前
個人
磁力スロープ
1か月前
個人
波力発電装置
2か月前
個人
折り畳み式風車
2か月前
個人
閉空間推進移動装置
1か月前
個人
風力発電装置
1か月前
東レ株式会社
風車ブレード
1か月前
個人
プラズマエンジン
4か月前
個人
水力発電用水の循環活動
12日前
個人
波受け板を用いた波浪発電装置
4日前
株式会社 林物産発明研究所
発電装置
22日前
株式会社ゲットクリーンエナジー
発電機
1か月前
株式会社高橋監理
浮体式洋上風力発電所
3か月前
個人
水車発電と水の循環供給装置
1か月前
株式会社リコー
水力発電装置
1か月前
株式会社ライトエンジ
推力発生方法
12日前
株式会社堤水素研究所
風力発電装置
3か月前
三菱電機株式会社
風力発電システム
12日前
株式会社アイシン
発電装置
1か月前
株式会社アイシン
発電装置
1か月前
株式会社大林組
リフトアップ装置
23日前
株式会社大林組
リフトアップ装置
23日前
株式会社ゲットクリーンエナジー
エンジン
4か月前
個人
波力発電ユニット及び波力発電システム
1か月前
個人
潮流発電装置および潮流発電方法
4か月前
株式会社高橋監理
推進装置付き浮体式洋上風力発電所
3か月前
三菱重工業株式会社
風力発電装置
8日前
日本精工株式会社
風力発電装置
3か月前
日本精工株式会社
風力発電装置
3か月前
日本精工株式会社
風力発電装置
3か月前
パナテックス株式会社
発電装置
1か月前
株式会社日本海洋発電
海流発電システム
2か月前
ダイキン工業株式会社
流体機械
3日前
日本精工株式会社
風力発電装置
2か月前
個人
流体発電システム、制御装置および制御方法
4か月前
続きを見る
他の特許を見る