TOP
|
特許
|
意匠
|
商標
特許ウォッチ
Twitter
他の特許を見る
公開番号
2025153040
公報種別
公開特許公報(A)
公開日
2025-10-10
出願番号
2024055301
出願日
2024-03-29
発明の名称
超音波探傷方法
出願人
三菱重工業株式会社
代理人
個人
,
個人
,
個人
,
個人
,
個人
主分類
G01N
29/11 20060101AFI20251002BHJP(測定;試験)
要約
【課題】より精緻かつ安定的にボルトの検査を行うことが可能な超音波探傷方法を提供する。
【解決手段】超音波探傷方法は、部材同士を締結固定するボルトの欠陥を検出する超音波探傷方法であって、ボルトは、軸線に沿って延びる棒状の軸部、及び軸部の軸線方向一方側の端部に設けられた頭部を有し、軸線に対する径方向に離間した位置から、頭部と軸部の接続部である首下部における対象領域に向けて超音波を入射するステップと、欠陥によって反射された超音波を受け取るステップと、を含み、入射するステップでは、軸線を含む断面視で、軸線に対して30°から65°の角度範囲で超音波を入射する。
【選択図】図2
特許請求の範囲
【請求項1】
部材同士を締結固定するボルトの欠陥を検出する超音波探傷方法であって、
前記ボルトは、軸線に沿って延びる棒状の軸部、及び該軸部の前記軸線方向一方側の端部に設けられた頭部を有し、
前記軸線に対する径方向に離間した位置から、前記頭部と前記軸部の接続部である首下部における対象領域に向けて超音波を入射するステップと、
前記欠陥によって反射された超音波を受け取るステップと、
を含み、
前記入射するステップでは、前記軸線を含む断面視で、前記軸線に対して30°から65°の角度範囲で前記超音波を入射する超音波探傷方法。
続きを表示(約 450 文字)
【請求項2】
前記入射するステップと、前記受け取るステップでは、同一の探触子が用いられる請求項1に記載の超音波探傷方法。
【請求項3】
前記入射するステップでは前記超音波を入射する入射側探触子が用いられ、前記受け取るステップでは前記反射された超音波を受け取る、前記入射側探触子とは異なる受信側探触子が用いられる請求項1に記載の超音波探傷方法。
【請求項4】
前記軸線方向から見て、前記入射側探触子と前記軸線との間の距離は、前記受信側探触子と前記軸線との間の距離と等しくなるように設定され、
前記入射側探触子及び前記軸線を結ぶ第一直線と、前記入射側探触子及び前記受信側探触子を結ぶ第二直線のなす角度は、10°から20°である請求項3に記載の超音波探傷方法。
【請求項5】
前記入射するステップでは、前記対象領域に向けて、前記角度範囲の中で任意の角度で前記超音波を入射させるフェーズドアレイ方式が用いられる請求項1に記載の超音波探傷方法。
発明の詳細な説明
【技術分野】
【0001】
本開示は、超音波探傷方法に関する。
続きを表示(約 1,700 文字)
【背景技術】
【0002】
原子力発電プラント等では、高温高圧下に曝される種々の部材に生じる欠陥を、超音波によって検出することが一般的に行われている。このうち、ボルトの健全性を確認する上では、下記特許文献1に記載されているように、ボルトの軸線上ではなく、軸線の径方向にわずかに離間した位置から超音波を入射する技術が提唱されている。
【先行技術文献】
【特許文献】
【0003】
特開平8-240570号公報
【発明の概要】
【発明が解決しようとする課題】
【0004】
しかしながら、上記特許文献1では、ボルトとの詳細な相対位置についての検討や開示がなされておらず、作業者ごとに検査結果のばらつきが出ることが課題となっていた。
【0005】
本開示は上記課題を解決するためになされたものであって、より精緻かつ安定的にボルトの検査を行うことが可能な超音波探傷方法を提供することを目的とする。
【課題を解決するための手段】
【0006】
上記課題を解決するために、本開示に係る超音波探傷方法は、部材同士を締結固定するボルトの欠陥を検出する超音波探傷方法であって、前記ボルトは、軸線に沿って延びる棒状の軸部、及び該軸部の前記軸線方向一方側の端部に設けられた頭部を有し、前記軸線に対する径方向に離間した位置から、前記頭部と前記軸部の接続部である首下部における対象領域に向けて超音波を入射するステップと、前記欠陥によって反射された超音波を受け取るステップと、を含み、前記入射するステップでは、前記軸線を含む断面視で、前記軸線に対して30°から65°の角度範囲で前記超音波を入射する。
【発明の効果】
【0007】
本開示によれば、より精緻かつ安定的にボルトの検査を行うことが可能な超音波探傷方法を提供することができる。
【図面の簡単な説明】
【0008】
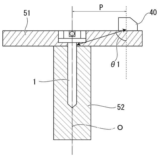
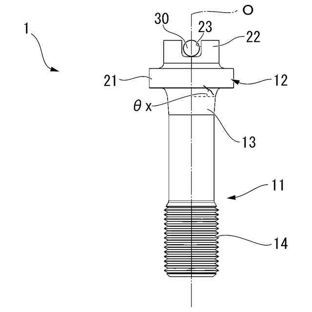
本開示の第一実施形態に係る超音波探傷の対象であるボルトの一例を示す図である。
本開示の第一実施形態に係る超音波探傷方法における探触子と対象領域との相対位置を示す説明図であって、ボルトの軸線に対する径方向から見た図である。
本開示の第一実施形態に係る超音波探傷方法の各ステップを示すフローチャートである。
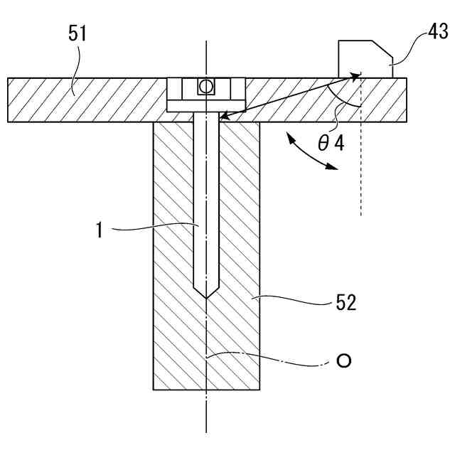
本開示の第二実施形態に係る超音波探傷方法における探触子と対象領域との相対位置を示す説明図であって、ボルトの軸線に対する径方向から見た図である。
本開示の第二実施形態に係る超音波探傷方法における探触子と対象領域との相対位置を示す説明図であって、ボルトの軸線方向から見た図である。
本開示の第三実施形態に係る超音波探傷方法における探触子と対象領域との相対位置を示す説明図であって、ボルトの軸線に対する径方向から見た図である。
【発明を実施するための形態】
【0009】
<第一実施形態>
以下、本開示の第一実施形態に係る超音波探傷方法について、図1から図3を参照して説明する。この超音波探傷方法は、一例として加圧水型軽水炉の炉内構造物に多用されているボルト1の健全性を検査するために用いられる。炉内構造物では、板状の部材の結合に多数のボルト1が使用されている。炉内構造物は、原子力発電のエネルギー源となる燃料集合体に隣接して炉心の境界を形成する重要部材である。従ってこのボルト1は、長期間の供用期間中、締結機能を維持する、即ち、ボルトの健全性を維持する必要がある。
【0010】
(ボルトの構成)
初めに、超音波探傷方法の対象領域を有するボルト1の形状について、図1を参照して説明する。図1に示すように、ボルト1は、軸部11と、頭部12と、首下部13と、を有する。軸部11は、軸線Oを中心とする円柱状をなし、その軸線O方向一方側の端部における外周面には雄ネジ14が切られている。この雄ネジ14は他の部材に形成された雌ネジに螺合することで、これら部材同士を締結する。
(【0011】以降は省略されています)
この特許をJ-PlatPat(特許庁公式サイト)で参照する
関連特許
三菱重工業株式会社
フィルタ装置
8日前
三菱重工業株式会社
皮膜形成装置
1日前
三菱重工業株式会社
ポンプシステム
1日前
三菱重工業株式会社
超音波探傷方法
1日前
三菱重工業株式会社
洗浄水噴射ノズル
3日前
三菱重工業株式会社
バッテリ交換装置
2日前
三菱重工業株式会社
メタン酸化触媒装置
1日前
三菱重工業株式会社
電解セル、及び電解装置
2日前
三菱重工業株式会社
デジタル入力モジュール
3日前
三菱重工業株式会社
炭化炉及びその制御方法
1日前
三菱重工業株式会社
シール装置および回転機械
3日前
三菱重工業株式会社
バーナ及びこれを備えたボイラ
1日前
三菱重工業株式会社
バーナ及びこれを備えたボイラ
1日前
三菱重工業株式会社
水素製造システム及び水素製造方法
1日前
三菱重工業株式会社
渦電流探傷装置、及び渦電流探傷方法
1日前
三菱重工業株式会社
洗浄装置、分離システム及び洗浄方法
1日前
三菱重工業株式会社
シール構造の製造方法およびシール構造
3日前
三菱重工業株式会社
移動体、自己位置推定方法及びプログラム
3日前
三菱重工業株式会社
蓄圧システム及び蓄圧システムの運転方法
2日前
三菱重工業株式会社
電解モジュールの冷却方法及び電解システム
1日前
三菱重工業株式会社
情報処理装置、情報処理方法及びプログラム
3日前
三菱重工業株式会社
シール構造、建屋及びシール構造の製造方法
2日前
三菱重工業株式会社
制御装置、ガスタービン、制御方法及びプログラム
4日前
三菱重工業株式会社
電力変換システム、および電力変換システムの制御方法
2日前
三菱重工業株式会社
タービン架台及びタービン装置並びにタービン架台の製造方法
1日前
三菱重工業株式会社
粉砕テーブル及び固体燃料粉砕装置並びに粉砕テーブルの補修方法
1日前
三菱重工業株式会社
機器配置設計装置、機器配置設計方法及び機器配置設計プログラム
2日前
三菱重工業株式会社
固体燃料粉砕装置の運転方法並びに固体燃料粉砕装置及びボイラ設備
4日前
三菱重工業株式会社
固体燃料粉砕装置及びボイラ設備並びに固体燃料粉砕装置の運転方法
2日前
三菱重工業株式会社
濃度算出装置、燃焼制御装置、濃度算出方法及び濃度算出プログラム
2日前
三菱重工業株式会社
熱電併給用蒸気生成システム及び熱電併給システム並びに熱電併給用蒸気生成方法
1日前
三菱重工業株式会社
炭素強度演算装置、これを用いた合成燃料製造プラント、炭素強度演算方法及び炭素強度演算プログラム
1日前
三菱重工業株式会社
CO2回収装置用蒸気生成システム及びこれを備えたCO2回収装置並びにCO2回収装置用蒸気生成方法
1日前
個人
メジャー文具
4日前
日本精機株式会社
位置検出装置
10日前
ユニパルス株式会社
ロードセル
3日前
続きを見る
他の特許を見る