TOP
|
特許
|
意匠
|
商標
特許ウォッチ
Twitter
他の特許を見る
公開番号
2025144108
公報種別
公開特許公報(A)
公開日
2025-10-02
出願番号
2024043723
出願日
2024-03-19
発明の名称
蒸気生成システム及び蒸気生成方法
出願人
三菱重工業株式会社
代理人
個人
,
個人
,
個人
主分類
F22B
3/02 20060101AFI20250925BHJP(蒸気発生)
要約
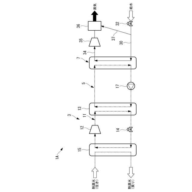
【課題】ヒートポンプから蒸気発生器に熱を伝達する中間流体を用いる場合であっても高い熱効率で蒸気を生成することができる蒸気生成システムを提供する。
【解決手段】蒸気生成システム1Aは、冷媒を圧縮する圧縮機12、圧縮機12で圧縮された冷媒が凝縮される凝縮器13、凝縮器13で凝縮した冷媒を減圧する膨張弁14、及び、膨張弁14で膨張した冷媒が蒸発される蒸発器15を備えたヒートポンプ3と、中間流体である水と給水とを熱交換させて水から蒸気を生成する蒸気発生器7と、凝縮器13と蒸気発生器7との間を中間流体である水が循環する中間流体循環流路5と、を備え、中間流体である水は、蒸気発生器7で発生する蒸気よりも圧力が大きい。
【選択図】図1
特許請求の範囲
【請求項1】
冷媒を圧縮する圧縮機、該圧縮機で圧縮された冷媒が凝縮される凝縮器、該凝縮器で凝縮した冷媒を減圧する膨張弁、及び、該膨張弁で膨張した冷媒が蒸発される蒸発器を備えたヒートポンプと、
中間流体と水とを熱交換させて該水から蒸気を生成する蒸気発生器と、
前記凝縮器と前記蒸気発生器との間を前記中間流体が循環する中間流体循環流路と、
を備え、
前記中間流体は、前記蒸気発生器で発生する蒸気よりも圧力が大きい蒸気生成システム。
続きを表示(約 750 文字)
【請求項2】
前記蒸気発生器に供給する水を大気圧以下に減圧する減圧弁を備えている請求項1に記載の蒸気生成システム。
【請求項3】
前記中間流体は、大気圧以上とされている請求項1又は2に記載の蒸気生成システム。
【請求項4】
前記中間流体は、前記中間流体循環流路を液相で循環する水またはブラインとされている請求項3に記載の蒸気生成システム。
【請求項5】
前記中間流体循環流路を循環する前記中間流体を大気圧以上に加圧する加圧手段を備えている請求項4に記載の蒸気生成システム。
【請求項6】
前記中間流体は、前記凝縮器で蒸発するとともに、前記蒸気発生器で凝縮する流体とされている請求項3に記載の蒸気生成システム。
【請求項7】
前記蒸気発生器は、前記凝縮器よりも高い位置に設けられている請求項6に記載の蒸気生成システム。
【請求項8】
前記蒸気発生器における前記中間流体の液位を、前記凝縮器における前記中間流体の液位よりも高くする制御手段を備えている請求項6に記載の蒸気生成システム。
【請求項9】
冷媒を圧縮する圧縮機、該圧縮機で圧縮された冷媒が凝縮される凝縮器、該凝縮器で凝縮した冷媒を減圧する膨張弁、及び、該膨張弁で膨張した冷媒が蒸発される蒸発器を備えたヒートポンプと、
中間流体と水を熱交換させて蒸気を生成する蒸気発生器と、
前記凝縮器と前記蒸気発生器との間を前記中間流体が循環する中間流体循環流路と、
を備えた蒸気生成システムを用いた蒸気生成方法であって、
前記中間流体は、前記蒸気発生器で発生する蒸気よりも圧力が大きい蒸気生成方法。
発明の詳細な説明
【技術分野】
【0001】
本開示は、蒸気生成システム及び蒸気生成方法に関するものである。
続きを表示(約 1,300 文字)
【背景技術】
【0002】
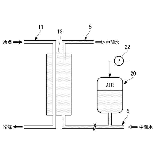
工場の種々のプロセスなどに蒸気を供給するために、排温水や空気を熱源としたヒートポンプによって水を加熱し、蒸気を生成することが知られている。例えば、特許文献1に開示されたヒートポンプ式蒸気発生装置では、ヒートポンプの凝縮器と蒸気発生器との間で中間流体が循環する流体伝熱部が設けられた構成となっている。流体伝熱部を循環する中間流体によって蒸気発生器で水を加熱して蒸気が発生する。流体伝熱部を循環する中間流体としては、比較的高沸点とされたハイドロフルオロカーボンが用いられている。
【0003】
特許文献1のヒートポンプ式蒸気発生装置は、中間流体の圧力が蒸気発生器における蒸気の圧力よりも低くなるように運転される。蒸気発生器が損傷した場合でも蒸気発生器の蒸気に中間流体が混入するのを防止するためである。
【先行技術文献】
【特許文献】
【0004】
特開2012-37197号公報
【発明の概要】
【発明が解決しようとする課題】
【0005】
しかし、特許文献1のように流体伝熱部を循環する中間流体の圧力を蒸気よりも低くすると、ヒートポンプから中間流体を介して十分な熱量を蒸気発生器まで輸送できないおそれがある。
【0006】
特に、100℃未満の低温で水を加熱することによって蒸気発生器で負圧蒸気を生成する場合、中間流体の圧力がさらに低くなって熱効率が低下する。
【0007】
本開示は、このような事情に鑑みてなされたものであって、ヒートポンプから蒸気発生器に熱を伝達する中間流体を用いる場合であっても高い熱効率で蒸気を生成することができる蒸気生成システム及び蒸気生成方法を提供することを目的とする。
【課題を解決するための手段】
【0008】
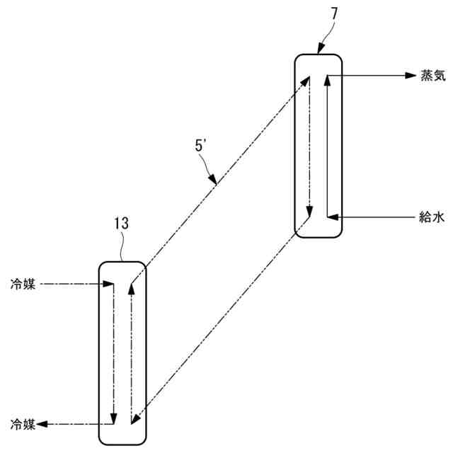
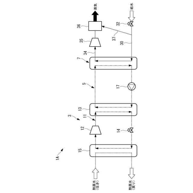
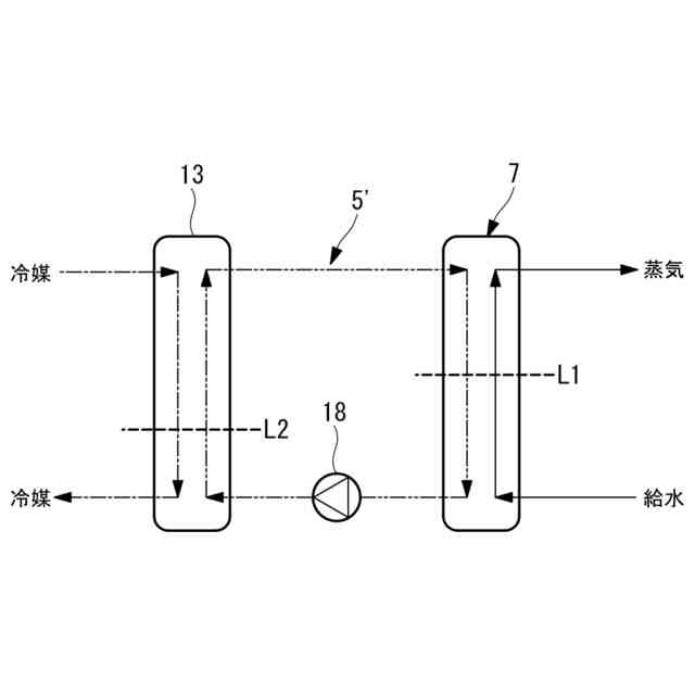
本開示の一態様に係る蒸気生成システムは、冷媒を圧縮する圧縮機、該圧縮機で圧縮された冷媒が凝縮される凝縮器、該凝縮器で凝縮した冷媒を減圧する膨張弁、及び、該膨張弁で膨張した冷媒が蒸発される蒸発器を備えたヒートポンプと、中間流体と水とを熱交換させて該水から蒸気を生成する蒸気発生器と、前記凝縮器と前記蒸気発生器との間を前記中間流体が循環する中間流体循環流路と、を備え、前記中間流体は、前記蒸気発生器で発生する蒸気よりも圧力が大きい。
【0009】
本開示の一態様に係る蒸気生成方法は、冷媒を圧縮する圧縮機、該圧縮機で圧縮された冷媒が凝縮される凝縮器、該凝縮器で凝縮した冷媒を減圧する膨張弁、及び、該膨張弁で膨張した冷媒が蒸発される蒸発器を備えたヒートポンプと、中間流体と水を熱交換させて蒸気を生成する蒸気発生器と、前記凝縮器と前記蒸気発生器との間を前記中間流体が循環する中間流体循環流路と、を備えた蒸気生成システムを用いた蒸気生成方法であって、前記中間流体は、前記蒸気発生器で発生する蒸気よりも圧力が大きい。
【発明の効果】
【0010】
ヒートポンプから蒸気発生器に熱を伝達する中間流体を用いる場合であっても高い熱効率で蒸気を生成することができる。
【図面の簡単な説明】
(【0011】以降は省略されています)
この特許をJ-PlatPat(特許庁公式サイト)で参照する
関連特許
三浦工業株式会社
台数制御装置
今日
三浦工業株式会社
ボイラ
3か月前
三浦工業株式会社
ドレン回収装置
7か月前
三浦工業株式会社
給水装置、および、ボイラ
6か月前
日精オーバル株式会社
蒸気発生装置
16日前
三浦工業株式会社
管理装置
3か月前
栗田工業株式会社
ボイラ水処理装置および処理方法
2か月前
三浦工業株式会社
蒸気発生装置
3か月前
三浦工業株式会社
ボイラ水の水質評価用試料水の調製装置
6か月前
株式会社ミヤワキ
蒸気プラント
1か月前
株式会社日本汽罐
ボイラーシステム及びボイラーの稼働方法
7か月前
三菱重工業株式会社
ボイラプラント及びその運転方法
7か月前
三菱重工業株式会社
ガスバーナ及びこれを備えたボイラ
6か月前
三菱重工業株式会社
蒸気生成システム及び蒸気生成方法
1日前
三菱重工業株式会社
伝熱管の検査装置および方法
5か月前
神鋼検査サービス株式会社
スケール除去ユニット
1日前
三浦工業株式会社
水素ボイラシステムの制御装置
3か月前
株式会社ヒラカワ
ボイラからの排ガスの温度制御方法
3か月前
株式会社JERA
ボイラ炉内の伝熱管の管壁温度解析方法
7か月前
丸高工業株式会社
加熱装置の制御方法及び加熱装置
4か月前
三菱重工パワーインダストリー株式会社
セメントプラント排熱回収システム
6か月前
株式会社東芝
蒸気発生装置
6か月前
日本特殊陶業株式会社
蒸発器および蒸発器を備えるホットモジュール
5か月前
三菱重工業株式会社
プラント制御装置、プラント制御方法、及び、プラント制御プログラム
5か月前
東京電力ホールディングス株式会社
蒸気タービンプラント
28日前
シェンチェン ウッディー ベイプス テクノロジー カンパニー,リミテッド
アトマイザー
4か月前
JFEエンジニアリング株式会社
過熱装置および過熱装置による過熱蒸気温度の制御方法
3か月前
三菱重工業株式会社
ボイラ制御装置、ボイラ、発電プラント、ボイラ制御方法およびボイラ制御プログラム
1か月前
DOWAテクノエンジ株式会社
熱伸縮吸収用エキスパンション構造
4か月前
三菱重工業株式会社
ボイラの制御装置、これを備えたボイラシステム、ボイラの制御方法及びボイラの制御プログラム
23日前
トクデン株式会社
過熱水蒸気生成装置、及び、過熱水蒸気生成装置に用いられる導体管の製造方法
4か月前
ASTRA FOOD PLAN株式会社
過熱水蒸気発生装置
3か月前
郵船出光グリーンソリューションズ株式会社
ボイラ燃焼制御システム、ボイラ燃焼制御方法、およびプログラム
7か月前
ジーイー・ベルノバ・テクノロジー・ゲーエムベーハー
熱回収蒸気発生器用の入口ダクトシステム
22日前
株式会社野村総合研究所
情報処理システム、情報処理方法およびコンピュータプログラム
5か月前
ゼネラル エレクトリック テクノロジー ゲゼルシャフト ミット ベシュレンクテル ハフツング
複合サイクル発電所の水・蒸気系統を運転前に洗浄する方法、及びこの方法のために構成された複合サイクル発電所
2か月前
続きを見る
他の特許を見る