TOP
|
特許
|
意匠
|
商標
特許ウォッチ
Twitter
他の特許を見る
公開番号
2025145737
公報種別
公開特許公報(A)
公開日
2025-10-03
出願番号
2024046104
出願日
2024-03-22
発明の名称
内燃機関の制御装置および方法
出願人
三菱重工業株式会社
代理人
弁理士法人酒井国際特許事務所
主分類
F02D
19/02 20060101AFI20250926BHJP(燃焼機関;熱ガスまたは燃焼生成物を利用する機関設備)
要約
【課題】内燃機関の制御装置および方法において、燃料としてアンモニアを使用したときの有害物質の発生を抑制する。
【解決手段】燃料としてのアンモニアを燃焼室に供給する燃料供給経路を有すると共にアンモニアを排ガスの熱により水素に改質する改質器を有する内燃機関において、アンモニアを増量して負荷を上昇させるとき、熱効率が低下すると点火時期を遅角させ、排ガス中の一酸化二窒素の濃度または排ガス中の一酸化二窒素の濃度に相関関係のある相関値が予め設定された判定値に到達すると、点火時期の遅角を終了させる。
【選択図】図1
特許請求の範囲
【請求項1】
燃料としてのアンモニアを燃焼室に供給する燃料供給経路を有すると共にアンモニアを排ガスの熱により水素に改質する改質器を有する内燃機関において、
アンモニアを増量して負荷を上昇させるとき、熱効率が低下すると点火時期を遅角させ、排ガス中の一酸化二窒素の濃度または排ガス中の一酸化二窒素の濃度に相関関係のある相関値が予め設定された判定値に到達すると、点火時期の遅角を終了させる、
内燃機関の制御装置。
続きを表示(約 670 文字)
【請求項2】
前記判定値は、一酸化二窒素の濃度の排出規制値より低い値である、
請求項1に記載の内燃機関の制御装置。
【請求項3】
アンモニアを増量して負荷を上昇させるとき、熱効率の低下が予め設定された所定時間継続すると、点火時期を遅角させる、
請求項1に記載の内燃機関の制御装置。
【請求項4】
熱効率が低下して点火時期を遅角させたとき、アンモニアの増量による負荷の上昇を停止させる、
請求項1に記載の内燃機関の制御装置。
【請求項5】
一酸化二窒素の濃度または相関値が判定値に到達しないとき、負荷が定格負荷に到達すると、制御を終了する、
請求項1に記載の内燃機関の制御装置。
【請求項6】
排ガスの温度とアンモニアの流量に基づいた制御マップを有し、前記制御マップに基づいて前記改質器の作動を制御する、
請求項1に記載の内燃機関の制御装置。
【請求項7】
燃料としてのアンモニアを燃焼室に供給する燃料供給経路を有すると共に、アンモニアを排ガスの熱により水素に改質する改質器を有する内燃機関において、
アンモニアを増量して負荷を上昇させるステップと、
熱効率が低下すると点火時期を遅角させるステップと、
排ガス中の一酸化二窒素の濃度または排ガス中の一酸化二窒素の濃度に相関関係のある相関値が予め設定された判定値に到達すると点火時期の遅角を終了させるステップと、
を有する内燃機関の制御方法。
発明の詳細な説明
【技術分野】
【0001】
本開示は、内燃機関の制御装置および方法に関するものである。
続きを表示(約 1,600 文字)
【背景技術】
【0002】
内燃機関は、燃焼室内に供給した燃料を燃焼させることで、燃料の持つ化学エネルギーを取り出し、それを運動エネルギーに変換することで駆動する。近年、内燃機関に適用される燃料として、燃焼時に二酸化炭素を発生しないアンモニアや水素といったカーボンフリーの燃料を使用することが考えられている。ところが、アンモニアでは、燃焼性が悪く、燃焼性の良い燃料と併用することが提案されている。例えば、燃料の供給経路に改質器を設け、アンモニア燃料の一部を水素ガスとし、水素ガスを含むアンモニアを燃焼室に供給する。
【0003】
2種類の燃料を使用する内燃機関の制御装置として、例えば、特許文献1に記載されたものがある。
【先行技術文献】
【特許文献】
【0004】
実開平3-51179号公報
【発明の概要】
【発明が解決しようとする課題】
【0005】
改質器は、内燃機関の熱を用いてアンモニアを改質する。この場合、内燃機関の低負荷時は、排ガスの温度が低いことからアンモニアを水素に改質する改質率が低いが、内燃機関の高負荷時は、排ガスの温度が高くなり、改質率が高くなる。そのため、改質器を有する内燃機関を船舶に搭載した場合、港での停泊時から沖航行までの負荷上げ時に、徐々に改質率が高くなり、アンモニアに対する水素の混合率が高まっていく。ところが、アンモニアに対する水素の混合により熱効率が高くなるが、所定の水素混合率を超えると熱効率が低下していく。そこで、内燃機関の点火時期を遅角することが考えられるが、点火時期を遅角すると、地球温暖化係数が大きい一酸化二窒素(N
2
O)の排出量が増加してしまうという課題がある。
【0006】
本開示は、上述した課題を解決するものであり、燃料としてアンモニアを使用したときの有害物質の発生を抑制する内燃機関の制御装置および方法を提供することを目的とする。
【課題を解決するための手段】
【0007】
上記の目的を達成するための本開示の内燃機関の制御装置は、燃料としてのアンモニアを燃焼室に供給する燃料供給経路を有すると共にアンモニアを排ガスの熱により水素に改質する改質器を有する内燃機関において、アンモニアを増量して負荷を上昇させるとき、熱効率が低下すると点火時期を遅角させ、排ガス中の一酸化二窒素の濃度または排ガス中の一酸化二窒素の濃度に相関関係のある相関値が予め設定された判定値に到達すると、点火時期の遅角を終了させる。
【0008】
また、本開示の内燃機関の制御方法は、燃料としてのアンモニアを燃焼室に供給する燃料供給経路を有すると共に、アンモニアを排ガスの熱により水素に改質する改質器を有する内燃機関において、アンモニアを増量して負荷を上昇させるステップと、熱効率が低下すると点火時期を遅角させるステップと、排ガス中の一酸化二窒素の濃度または排ガス中の一酸化二窒素の濃度に相関関係のある相関値が予め設定された判定値に到達すると点火時期の遅角を終了させるステップと、を有する。
【発明の効果】
【0009】
本開示の内燃機関の制御装置および方法によれば、燃料としてアンモニアを使用したときの有害物質の発生を抑制することができる。
【図面の簡単な説明】
【0010】
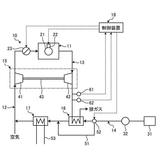
図1は、本実施形態の内燃機関の制御装置を表すブロック構成図である。
図2は、改質器の制御マップを表す説明図である。
図3は、内燃機関の制御方法を表すフローチャートである。
図4は、内燃機関の制御方法を表すタイムチャートである。
【発明を実施するための形態】
(【0011】以降は省略されています)
この特許をJ-PlatPat(特許庁公式サイト)で参照する
関連特許
三菱重工業株式会社
原子炉
4日前
三菱重工業株式会社
ボイラ壁
23日前
三菱重工業株式会社
加熱装置
1か月前
三菱重工業株式会社
動力装置
26日前
三菱重工業株式会社
施工方法
10日前
三菱重工業株式会社
皮膜形成装置
1か月前
三菱重工業株式会社
超音波探傷方法
1か月前
三菱重工業株式会社
ポンプシステム
1か月前
三菱重工業株式会社
石膏脱水システム
10日前
三菱重工業株式会社
燃焼筒の取付方法
23日前
三菱重工業株式会社
バッテリ交換装置
1か月前
三菱重工業株式会社
メタン酸化触媒装置
1か月前
三菱重工業株式会社
ガスタービン制御方法
1か月前
三菱重工業株式会社
蒸気タービンシステム
19日前
三菱重工業株式会社
ガスタービン起動方法
19日前
三菱重工業株式会社
燃焼設備および制御方法
25日前
三菱重工業株式会社
ガス処理装置および方法
17日前
三菱重工業株式会社
デジタル入力モジュール
1か月前
三菱重工業株式会社
アンモニア除害システム
10日前
三菱重工業株式会社
炭化炉及びその制御方法
1か月前
三菱重工業株式会社
シール装置及び回転機械
9日前
三菱重工業株式会社
電解セル、及び電解装置
1か月前
三菱重工業株式会社
原子炉炉心および原子炉
4日前
三菱重工業株式会社
軸流圧縮機、及びその動翼
11日前
三菱重工業株式会社
計測システムおよび計測方法
17日前
三菱重工業株式会社
バーナ及びこれを備えたボイラ
1か月前
三菱重工業株式会社
バーナ及びこれを備えたボイラ
1か月前
三菱重工業株式会社
支持部材及び接着剤の監視方法
10日前
三菱重工業株式会社
レドックスフロー電池システム
23日前
三菱重工業株式会社
水素吸蔵材料および原子力設備
18日前
三菱重工業株式会社
インバータ装置及びその保護方法
17日前
三菱重工業株式会社
燃料噴射装置および往復動内燃機関
1か月前
三菱重工業株式会社
水素製造システム及び水素製造方法
1か月前
三菱重工業株式会社
演算方法、プログラム及び演算装置
25日前
三菱重工業株式会社
電動ファンおよび電動垂直離着陸機
20日前
三菱重工業株式会社
インバータ基板及びインバータ装置
17日前
続きを見る
他の特許を見る