TOP
|
特許
|
意匠
|
商標
特許ウォッチ
Twitter
他の特許を見る
10個以上の画像は省略されています。
公開番号
2025176854
公報種別
公開特許公報(A)
公開日
2025-12-05
出願番号
2024083211
出願日
2024-05-22
発明の名称
支持金物除去方法
出願人
三菱重工業株式会社
代理人
弁理士法人酒井国際特許事務所
主分類
G21C
19/02 20060101AFI20251128BHJP(核物理;核工学)
要約
【課題】支持金物除去方法において、支持柱から支持金物を適切に除去することができる。
【解決手段】円筒形状をなす支持柱の上端部の内側に熱電対引出管を支持する止め金が装着されると共に、上端面に円筒形状をなす支持金物の下端面が溶接部を介して連結され、支持柱から支持金物を除去する支持金物除去方法において、止め金より上方位置で支持金物の下端部を切断して支持柱から分離するステップと、支持柱側に残った支持金物の下端部の上部領域を板厚より第1所定量少ない厚さだけ切削して残留リングを残して支持柱から除去するステップと、溶接部を含む支持金物の下端部を板厚より第2所定量多い厚さだけ切削して支持柱から除去するステップと、止め金から残留リングを取外すステップと、を有する。
【選択図】図2
特許請求の範囲
【請求項1】
円筒形状をなす支持柱の上端部の内側に熱電対引出管を支持する止め金が装着されると共に、上端面に円筒形状をなす支持金物の下端面が溶接部を介して連結され、前記支持柱から前記支持金物を除去する支持金物除去方法において、
前記止め金より上方位置で前記支持金物の下端部を切断して前記支持柱から分離するステップと、
前記支持柱側に残った前記支持金物の下端部の上部領域を板厚より第1所定量少ない厚さだけ切削して残留リングを残して前記支持柱から除去するステップと、
前記溶接部を含む前記支持金物の下端部を板厚より第2所定量多い厚さだけ切削して前記支持柱から除去するステップと、
前記止め金から前記残留リングを取外すステップと、
を有する支持金物除去方法。
続きを表示(約 280 文字)
【請求項2】
切断後に前記支持柱側に残った前記支持金物の下端部の上端面と前記止め金の上端面が高さ方向でほぼ一致するように、前記止め金より上方位置で前記支持金物の下端部を切断する、
請求項1に記載の支持金物除去方法。
【請求項3】
前記溶接部を含む前記支持金物の下端部を板厚より第2所定量多い厚さだけ切削することで前記止め金の表層面を切削する、
請求項1に記載の支持金物除去方法。
【請求項4】
前記支持柱の上端部に開先加工を行う、
請求項1から請求項3のいずれか一項に記載の支持金物除去方法。
発明の詳細な説明
【技術分野】
【0001】
本開示は、支持柱から支持金物を除去する支持金物除去方法に関するものである。
続きを表示(約 1,700 文字)
【背景技術】
【0002】
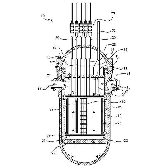
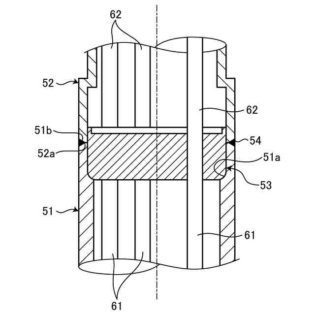
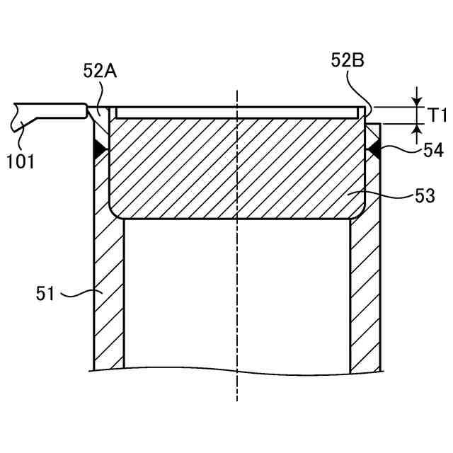
原子力発電プラントにて、原子炉格納容器は、岩盤等の堅固な地盤上に立設され、内部に原子炉が配置される。原子炉は、原子炉容器の内部に燃料などの炉内構造物が配置されて構成される。炉内構造物として、上部炉心支持板と上部炉心板との間に管状をなす複数の熱電対引出管支持柱が配置される。熱電対引出管支持柱は、上端部に管状をなす支持金物が連結される。熱電対引出管支持柱および支持金物は、内部に熱電対引出管が配置される。支持金物は、必要に応じて交換する必要が生じる。このような炉内構造物を交換する技術としては、例えば、特許文献1に記載されたものがある。
【先行技術文献】
【特許文献】
【0003】
特開2004-264206号公報
【発明の概要】
【発明が解決しようとする課題】
【0004】
熱電対引出管支持柱は、上端部の内側に熱電対引出管を支持する止め金が装着されると共に、端面に支持金物の下端部が溶接により連結される。支持金物を交換する場合、熱電対引出管支持柱との溶接部を切削除去した後、熱電対引出管支持柱に対して支持金物を取外す。ところが、支持金物は、熱電対引出管支持柱に対して溶接により連結するとき、下端部が熱歪みにより変形して止め金に固着してしまうことがある。この場合、支持金物と熱電対引出管支持柱との溶接部を切削除去しただけでは、支持金物を取外すことが困難となる。
【0005】
本開示は、上述した課題を解決するものであり、支持柱から支持金物を適切に除去することができる支持金物除去方法を提供することを目的とする。
【課題を解決するための手段】
【0006】
上記の目的を達成するための本開示の支持金物除去方法は、円筒形状をなす支持柱の上端部の内側に熱電対引出管を支持する止め金が装着されると共に、上端面に円筒形状をなす支持金物の下端面が溶接部を介して連結され、前記支持柱から前記支持金物を除去する支持金物除去方法において、前記止め金より上方位置で前記支持金物の下端部を切断して前記支持柱から分離するステップと、前記支持柱側に残った前記支持金物の下端部の上部領域を板厚より第1所定量少ない厚さだけ切削して残留リングを残して前記支持柱から除去するステップと、前記溶接部を含む前記支持金物の下端部を板厚より第2所定量多い厚さだけ切削して前記支持柱から除去するステップと、前記止め金から前記残留リングを取外すステップと、を有する。
【発明の効果】
【0007】
本開示の支持金物除去方法によれば、支持柱から支持金物を適切に除去することができる。
【図面の簡単な説明】
【0008】
図1は、加圧水型原子炉を表す縦断面図である。
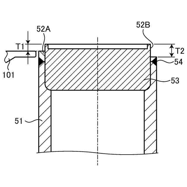
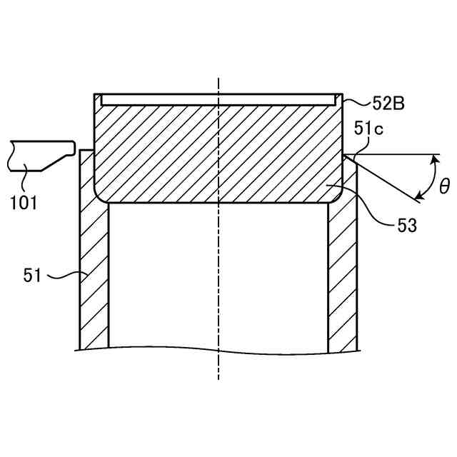
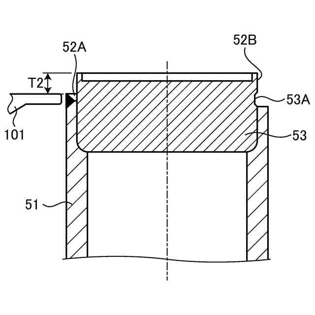
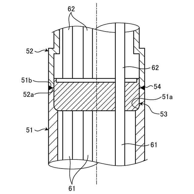
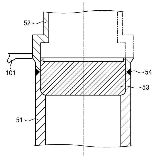
図2は、支持柱と止め金と支持金物との連結構造を表す概略断面図である。
図3は、本実施形態の支持金物除去方法を表す概略図である。
図4は、支持金物除去方法を表す概略図である。
図5は、支持金物除去方法を表す概略図である。
図6は、支持金物除去方法を表す概略図である。
図7は、支持金物除去方法を表す概略図である。
図8は、支持金物除去方法を表す概略図である。
図9は、支持金物除去方法を表す概略図である。
図10は、支持金物除去方法を表す概略図である。
【発明を実施するための形態】
【0009】
以下に図面を参照して、本開示の好適な実施形態を詳細に説明する。なお、この実施形態により本開示が限定されるものではなく、また、実施形態が複数ある場合には、各実施形態を組み合わせて構成するものも含むものである。また、実施形態における構成要素には、当業者が容易に想定できるもの、実質的に同一のもの、いわゆる均等の範囲のものが含まれる。
【0010】
<加圧水型原子炉>
図1は、加圧水型原子炉を表す縦断面図である。
(【0011】以降は省略されています)
この特許をJ-PlatPat(特許庁公式サイト)で参照する
関連特許
三菱重工業株式会社
原子炉
1日前
三菱重工業株式会社
原子炉
23日前
三菱重工業株式会社
炭化炉
2日前
三菱重工業株式会社
遠心圧縮機
7日前
三菱重工業株式会社
原子力システム
8日前
三菱重工業株式会社
支持金物除去方法
今日
三菱重工業株式会社
配管端部用閉止装置
2日前
三菱重工業株式会社
アンモニア除害システム
29日前
三菱重工業株式会社
シール装置及び回転機械
28日前
三菱重工業株式会社
原子炉炉心および原子炉
23日前
三菱重工業株式会社
評価装置および評価方法
8日前
三菱重工業株式会社
支持金物の溶接装置および方法
今日
三菱重工業株式会社
ドライアイス貯留部、及び船舶
2日前
三菱重工業株式会社
水位制御方法および水位制御装置
8日前
三菱重工業株式会社
排ガス処理触媒及び排ガス処理方法
7日前
三菱重工業株式会社
評価方法、評価装置及びプログラム
1日前
三菱重工業株式会社
油圧防振装置および構造物の支持構造
9日前
三菱重工業株式会社
制御装置、制御方法、及びプログラム
7日前
三菱重工業株式会社
圧縮機の静翼セグメント、及び圧縮機
今日
三菱重工業株式会社
超音波探傷装置、および超音波探傷方法
28日前
三菱重工業株式会社
検査システム、検査方法及びプログラム
15日前
三菱重工業株式会社
ダスト除去システムおよびダスト除去方法
7日前
三菱重工業株式会社
排ガス処理触媒ユニット及び排ガス処理方法
7日前
三菱重工業株式会社
対象成分回収システム及び対象成分回収方法
8日前
三菱重工業株式会社
静翼セグメント、及びこれを備える蒸気タービン
21日前
三菱重工業株式会社
測定値の再構築方法、再構築装置及びプログラム
今日
三菱重工業株式会社
排気車室の分解組立方法、及び軸受台下半の支持装置
7日前
三菱重工業株式会社
回転機械の分解組立方法、及び位置決めピンの挿抜治具
7日前
三菱重工業株式会社
経路設定方法、移動体、管理システム、及びプログラム
7日前
三菱重工業株式会社
放射性物質取扱設備施工方法および放射性物質取扱設備
15日前
三菱重工業株式会社
脱硝触媒、及び燃焼排ガスから窒素酸化物を除去する方法
15日前
三菱重工業株式会社
燃焼装置の運転方法、燃料の選定方法及び運転制御システム
2日前
三菱重工業株式会社
ガスタービンシステム、及び、ガスタービンシステム制御方法
15日前
三菱重工業株式会社
温度制御装置、温度制御システム、温度制御方法、およびプログラム
15日前
三菱重工業株式会社
ポリエステルリサイクルシステム、及びポリエステルリサイクル方法
今日
三菱重工業株式会社
廃棄物処理システム
7日前
続きを見る
他の特許を見る