TOP
|
特許
|
意匠
|
商標
特許ウォッチ
Twitter
他の特許を見る
公開番号
2025177501
公報種別
公開特許公報(A)
公開日
2025-12-05
出願番号
2024084401
出願日
2024-05-23
発明の名称
測定値の再構築方法、再構築装置及びプログラム
出願人
三菱重工業株式会社
代理人
個人
,
個人
,
個人
,
個人
,
個人
主分類
G21C
17/10 20060101AFI20251128BHJP(核物理;核工学)
要約
【課題】原子炉内に装備された測定機器が故障した場合に、故障した測定機器の測定値を精度よく推定する方法を提供する。
【解決手段】再構築方法は、原子炉に複数設けられた測定機器のうち故障した測定機器を故障測定機器とし、故障測定機器に近接する健全な測定機器を近接測定機器とする場合に、故障測定機器が故障前の第1時点に測定した測定値と、故障測定機器の位置における所定の物質の中性子反応率の前記第1時点から前記故障測定機器の故障後の第2時点までの変化割合と、近接測定機器の位置における中性子反応率の第1時点から第2時点までの変化割合に対する、近接測定機器の測定値の第1時点から第2時点までの変化割合の比と、を乗じて得られる値を、故障測定機器による前記第2時点の測定値とする。
【選択図】図1
特許請求の範囲
【請求項1】
原子炉内に複数設けられた測定機器のうち故障した前記測定機器を故障測定機器とし、前記故障測定機器に近接する健全な前記測定機器を近接測定機器とする場合に、
前記故障測定機器が、故障前の第1時点に測定した測定値と、
前記故障測定機器の位置における所定の物質の中性子反応率の前記第1時点から前記故障測定機器の故障後の第2時点までの変化割合と、
前記近接測定機器の位置における前記中性子反応率の前記第1時点から前記第2時点までの変化割合に対する前記近接測定機器の測定値の前記第1時点から前記第2時点までの変化割合の比と、
を乗じて得られる値を、前記故障測定機器による前記第2時点の測定値とする、
測定値の再構築方法。
続きを表示(約 1,400 文字)
【請求項2】
前記測定機器は、中性子の検出器である、
請求項1に記載の測定値の再構築方法。
【請求項3】
前記近接測定機器は、一定時間における前記測定機器の位置での前記中性子反応率の変化割合に対する、前記一定時間における前記測定機器の測定値の変化割合の比を表す第1のMP比と、前記一定時間における前記故障測定機器の位置での前記中性子反応率の変化割合に対する、前記一定時間における前記故障測定機器の測定値の変化割合の比を表す第2のMP比の差が、前記第1のMP比と前記第2のMP比が同等とみなせる所定の範囲内となる前記測定機器の中から設定される、
請求項1又は請求項2に記載の測定値の再構築方法。
【請求項4】
前記近接測定機器は、前記故障測定機器に対して、前記原子炉の炉心軸方向の最も近い位置に配置されている、
請求項1又は請求項2に記載の測定値の再構築方法。
【請求項5】
前記近接測定機器は、前記故障測定機器に対して、前記原子炉の水平方向の最も近い位置に配置されている、
請求項1又は請求項2に記載の測定値の再構築方法。
【請求項6】
複数の前記測定機器の測定値を取得するステップと、
前記測定値に基づいて、複数の前記測定機器の中に故障した前記測定機器が存在するか否かを判定するステップと、
故障した前記測定機器が存在すると判定した場合、当該故障したと判定した前記測定機器を前記故障測定機器として、請求項1に記載の測定値の再構築方法によって、当該故障したと判定した前記測定機器の測定値を推定するステップと、
を有する測定値の再構築方法。
【請求項7】
原子炉内に複数設けられた測定機器のうち故障した前記測定機器を故障測定機器とし、前記故障測定機器に近接する健全な前記測定機器を近接測定機器とする場合に、
前記故障測定機器が、故障前の第1時点に測定した測定値と、
前記故障測定機器の位置における所定の物質の中性子反応率の前記第1時点から前記故障測定機器の故障後の第2時点までの変化割合と、
前記近接測定機器の位置における前記中性子反応率の前記第1時点から前記第2時点までの変化割合に対する前記近接測定機器の測定値の前記第1時点から前記第2時点までの変化割合の比と、
を乗じて得られる値を、前記故障測定機器による前記第2時点の測定値とする手段、
を備える再構築装置。
【請求項8】
コンピュータに、
原子炉内に複数設けられた測定機器のうち故障した前記測定機器を故障測定機器とし、前記故障測定機器に近接する健全な前記測定機器を近接測定機器とする場合に、
前記故障測定機器が、故障前の第1時点に測定した測定値と、
前記故障測定機器の位置における所定の物質の中性子反応率の前記第1時点から前記故障測定機器の故障後の第2時点までの変化割合と、
前記近接測定機器の位置における前記中性子反応率の前記第1時点から前記第2時点までの変化割合に対する前記近接測定機器の測定値の前記第1時点から前記第2時点までの変化割合の比と、
を乗じて得られる値を、前記故障測定機器による前記第2時点の測定値とする処理、
を実行させるプログラム。
発明の詳細な説明
【技術分野】
【0001】
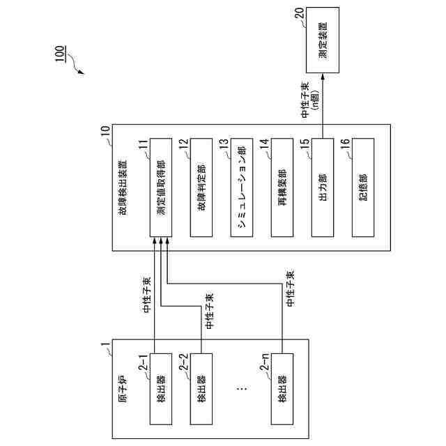
本開示は、測定値の再構築方法、再構築装置及びプログラムに関する。
続きを表示(約 1,700 文字)
【背景技術】
【0002】
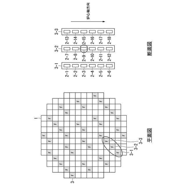
原子炉内には、中性子束を測定する検出器が各所に配置されている。これらの検出器が測定する中性子束は、例えば、出力分布の測定に用いられる。原子力プラントの運転中に、検出器が故障すると、交換や修理が行われるまでの間、故障した検出器を出力分布の測定に使用することができない。
【0003】
特許文献1には、高炉に設けられた複数のセンサが計測した計測データに基づいて、高炉に異常状況が生じる可能性や発生規模を予測するステムが開示されている。特許文献1には、あるセンサが故障すると、その周囲のセンサの計測値の平均値などを用いて、故障したセンサの計測値を推定する技術が記載されている。原子炉の場合、炉内の場所ごとに燃料の状態が異なるため、故障した検出器の周囲の検出器によって測定された中性子束の平均値をそのまま用いることが適切ではない場合が多い。
【先行技術文献】
【特許文献】
【0004】
特開2017-190482号公報
【発明の概要】
【発明が解決しようとする課題】
【0005】
原子炉内に装備された測定機器が故障した場合に、故障した測定機器の測定値を精度よく推定する技術を提供する。
【0006】
本開示は、上記課題を解決することができる測定値の再構築方法、再構築装置及びプログラムを提供する。
【課題を解決するための手段】
【0007】
本開示の再構築方法は、原子炉内に複数設けられた測定機器のうち故障した前記測定機器を故障測定機器とし、前記故障測定機器に近接する健全な前記測定機器を近接測定機器とする場合に、前記故障測定機器が、故障前の第1時点に測定した測定値と、前記故障測定機器の位置における所定の物質の中性子反応率の前記第1時点から前記故障測定機器の故障後の第2時点までの変化割合と、前記近接測定機器の位置における前記中性子反応率の前記第1時点から前記第2時点までの変化割合に対する、前記近接測定機器の測定値の前記第1時点から前記第2時点までの変化割合の比と、を乗じて得られる値を、前記故障測定機器による前記第2時点の測定値とする、測定値の再構築方法である。
【0008】
本開示の再構築装置は、原子炉内に複数設けられた測定機器のうち故障した前記測定機器を故障測定機器とし、前記故障測定機器に近接する健全な前記測定機器を近接測定機器とする場合に、前記故障測定機器が、故障前の第1時点に測定した測定値と、前記故障測定機器の位置における所定の物質の中性子反応率の前記第1時点から前記故障測定機器の故障後の第2時点までの変化割合と、前記近接測定機器の位置における前記中性子反応率の前記第1時点から前記第2時点までの変化割合に対する、前記近接測定機器の測定値の前記第1時点から前記第2時点までの変化割合の比と、を乗じて得られる値を、前記故障測定機器による前記第2時点の測定値とする手段、を備える。
【0009】
本開示のプログラムは、コンピュータに、原子炉内に複数設けられた測定機器のうち故障した前記測定機器を故障測定機器とし、前記故障測定機器に近接する健全な前記測定機器を近接測定機器とする場合に、前記故障測定機器が、故障前の第1時点に測定した測定値と、前記故障測定機器の位置における所定の物質の中性子反応率の前記第1時点から前記故障測定機器の故障後の第2時点までの変化割合と、前記近接測定機器の位置における前記中性子反応率の前記第1時点から前記第2時点までの変化割合に対する、前記近接測定機器の測定値の前記第1時点から前記第2時点までの変化割合の比と、を乗じて得られる値を、前記故障測定機器による前記第2時点の測定値とする処理、を実行させる。
【発明の効果】
【0010】
本開示の測定値の再構築方法、再構築装置及びプログラムによれば、原子炉内に装備された測定機器が故障した場合に、故障した測定機器の測定値を精度よく推定する技術を提供する。
【図面の簡単な説明】
(【0011】以降は省略されています)
この特許をJ-PlatPat(特許庁公式サイト)で参照する
関連特許
三菱重工業株式会社
原子炉
1日前
三菱重工業株式会社
原子炉
23日前
三菱重工業株式会社
炭化炉
2日前
三菱重工業株式会社
施工方法
29日前
三菱重工業株式会社
加熱装置
1か月前
三菱重工業株式会社
動力装置
1か月前
三菱重工業株式会社
ボイラ壁
1か月前
三菱重工業株式会社
遠心圧縮機
7日前
三菱重工業株式会社
原子力システム
8日前
三菱重工業株式会社
石膏脱水システム
29日前
三菱重工業株式会社
燃焼筒の取付方法
1か月前
三菱重工業株式会社
支持金物除去方法
今日
三菱重工業株式会社
配管端部用閉止装置
2日前
三菱重工業株式会社
蒸気タービンシステム
1か月前
三菱重工業株式会社
ガスタービン起動方法
1か月前
三菱重工業株式会社
ガスタービン制御方法
1か月前
三菱重工業株式会社
燃焼設備および制御方法
1か月前
三菱重工業株式会社
アンモニア除害システム
29日前
三菱重工業株式会社
シール装置及び回転機械
28日前
三菱重工業株式会社
原子炉炉心および原子炉
23日前
三菱重工業株式会社
評価装置および評価方法
8日前
三菱重工業株式会社
ガス処理装置および方法
1か月前
三菱重工業株式会社
軸流圧縮機、及びその動翼
1か月前
三菱重工業株式会社
計測システムおよび計測方法
1か月前
三菱重工業株式会社
レドックスフロー電池システム
1か月前
三菱重工業株式会社
支持部材及び接着剤の監視方法
29日前
三菱重工業株式会社
支持金物の溶接装置および方法
今日
三菱重工業株式会社
水素吸蔵材料および原子力設備
1か月前
三菱重工業株式会社
ドライアイス貯留部、及び船舶
2日前
三菱重工業株式会社
インバータ装置及びその保護方法
1か月前
三菱重工業株式会社
水位制御方法および水位制御装置
8日前
三菱重工業株式会社
インバータ基板及びインバータ装置
1か月前
三菱重工業株式会社
評価方法、評価装置及びプログラム
1日前
三菱重工業株式会社
電動ファンおよび電動垂直離着陸機
1か月前
三菱重工業株式会社
燃料噴射装置および往復動内燃機関
1か月前
三菱重工業株式会社
演算方法、プログラム及び演算装置
1か月前
続きを見る
他の特許を見る