TOP
|
特許
|
意匠
|
商標
特許ウォッチ
Twitter
他の特許を見る
10個以上の画像は省略されています。
公開番号
2025177152
公報種別
公開特許公報(A)
公開日
2025-12-05
出願番号
2024083723
出願日
2024-05-23
発明の名称
圧縮機の静翼セグメント、及び圧縮機
出願人
三菱重工業株式会社
代理人
SSIP弁理士法人
主分類
F01D
9/02 20060101AFI20251128BHJP(機械または機関一般;機関設備一般;蒸気機関)
要約
【課題】圧縮機の静翼セグメントにおける静翼に作用する応力を低減する。
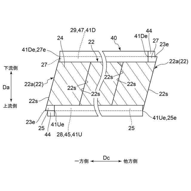
【解決手段】本開示の少なくとも一実施形態に係る圧縮機の静翼セグメントは、腹面を周方向の一方側に向け、背面を周方向の他方側に向けた翼型部と、径方向の内側で翼型部の端部に接続された内側シュラウドと、をそれぞれが有し、周方向に配置された複数の静翼と、複数の静翼の内側シュラウドに取り付けられるホルダと、を備える。ホルダは、下流側係合部の周方向の一方側の端部の周方向の位置は、上流側係合部の周方向の一方側の端部の周方向の位置よりも周方向の他方側に位置しているか、又は、上流側係合部の周方向の他方側の端部の周方向の位置は、下流側係合部の周方向の他方側の端部の周方向の位置よりも周方向の一方側に位置しているか、の少なくともいずれか一方の条件を満たす。
【選択図】図1
特許請求の範囲
【請求項1】
圧縮機の静翼セグメントであって、
腹面を周方向の一方側に向け、背面を前記周方向の他方側に向けた翼型部と、径方向の内側で前記翼型部の端部に接続された内側シュラウドと、をそれぞれが有し、前記周方向に配置された複数の静翼と、
前記複数の静翼の前記内側シュラウドに取り付けられるホルダと、
を備え、
前記内側シュラウドのそれぞれは、
軸方向の上流側に設けられていて前記ホルダと係合する上流側フック部と、
前記軸方向の下流側に設けられていて前記ホルダと係合する下流側フック部と、
を有し、
前記ホルダは、
前記上流側フック部と係合する上流側係合部と、
前記下流側フック部と係合する下流側係合部と、
を有し、
前記ホルダは、
前記下流側係合部の前記周方向の一方側の端部の前記周方向の位置は、前記上流側係合部の前記周方向の一方側の端部の前記周方向の位置よりも前記周方向の他方側に位置しているか、
又は、
前記上流側係合部の前記周方向の他方側の端部の前記周方向の位置は、前記下流側係合部の前記周方向の他方側の端部の前記周方向の位置よりも前記周方向の一方側に位置しているか、
の少なくともいずれか一方の条件を満たす、
圧縮機の静翼セグメント。
続きを表示(約 1,600 文字)
【請求項2】
前記内側シュラウドのそれぞれの前記周方向の側面は、前記軸方向の上流側から下流側に向かうにつれて前記周方向の一方側から他方側へ向かうように、前記軸方向に対して傾斜しており、
前記下流側係合部の前記周方向の一方側の端部の前記周方向の位置は、前記上流側係合部の前記周方向の一方側の端部の前記周方向の位置よりも前記周方向の他方側に位置し、
且つ、
前記上流側係合部の前記周方向の他方側の端部の前記周方向の位置は、前記下流側係合部の前記周方向の他方側の端部の前記周方向の位置よりも前記周方向の一方側に位置している、
請求項1に記載の圧縮機の静翼セグメント。
【請求項3】
前記下流側係合部の前記周方向の一方側の端部の前記周方向の位置は、前記周方向の最も前記一方側に位置する前記内側シュラウドにおける前記下流側フック部の前記周方向の一方側の端部の前記周方向の位置と同じか、該位置よりも前記周方向の他方側に位置し、
且つ、
前記上流側係合部の前記周方向の他方側の端部の前記周方向の位置は、前記周方向の最も前記他方側に位置する前記内側シュラウドにおける前記上流側フック部の前記周方向の他方側の端部の前記周方向の位置と同じか、該位置よりも前記周方向の一方側に位置している、
請求項2に記載の圧縮機の静翼セグメント。
【請求項4】
前記内側シュラウドのそれぞれの前記周方向の側面は、前記軸方向の上流側と前記軸方向の下流側とで前記周方向の位置が同じであり、
前記複数の静翼の内、最も前記周方向の一方側に位置する前記静翼の前記内側シュラウドの前記周方向の一方側の端部は、前記ホルダよりも前記周方向の一方側に突出しており、
前記上流側係合部の前記周方向の他方側の端部の前記周方向の位置は、前記下流側係合部の前記周方向の他方側の端部の前記周方向の位置よりも前記周方向の一方側に位置している、
請求項1に記載の圧縮機の静翼セグメント。
【請求項5】
前記上流側係合部の前記周方向の他方側の端部の前記周方向の位置は、前記周方向の最も前記他方側に位置する前記内側シュラウドにおける前記上流側フック部の前記周方向の他方側の端部の前記周方向の位置と同じか、該位置よりも前記周方向の一方側に位置している、
請求項4に記載の圧縮機の静翼セグメント。
【請求項6】
前記内側シュラウドのそれぞれの前記周方向の側面は、前記軸方向の上流側と前記軸方向の下流側とで前記周方向の位置が同じであり、
前記複数の静翼の内、最も前記周方向の他方側に位置する前記静翼の前記内側シュラウドの前記周方向の他方側の端部は、前記ホルダよりも前記周方向の他方側に突出しており、
前記下流側係合部の前記周方向の一方側の端部の前記周方向の位置は、前記上流側係合部の前記周方向の一方側の端部の前記周方向の位置よりも前記周方向の他方側に位置している、
請求項1に記載の圧縮機の静翼セグメント。
【請求項7】
前記下流側係合部の前記周方向の一方側の端部の前記周方向の位置は、前記周方向の最も前記一方側に位置する前記内側シュラウドにおける前記下流側フック部の前記周方向の一方側の端部の前記周方向の位置と同じか、該位置よりも前記周方向の他方側に位置している、
請求項6に記載の圧縮機の静翼セグメント。
【請求項8】
前記ホルダに対して、前記複数の静翼の内、前記周方向の両端に位置する前記静翼の前記周方向への移動を拘束するピン、
を備える、
請求項1乃至7の何れか一項に記載の圧縮機の静翼セグメント。
【請求項9】
請求項1乃至7の何れか一項に記載の静翼セグメントが前記周方向に複数配置された静翼環、
を備える圧縮機。
発明の詳細な説明
【技術分野】
【0001】
本開示は、圧縮機の静翼セグメント、及び圧縮機に関する。
続きを表示(約 1,800 文字)
【背景技術】
【0002】
ガスタービンは、外気を圧縮して圧縮空気を生成する圧縮機と、燃料を圧縮空気に混合して燃焼させて燃焼ガスを生成する燃焼器と、燃焼ガスにより駆動するタービンと、を備えている。
【0003】
圧縮機及びロータは、いずれも軸流流体機械で、回転軸線を中心として回転するロータと、このロータを覆うケーシングとを備えている。ロータは、回転軸線と平行な軸方向に延びるロータ本体と、このロータ本体の外周に固定され軸方向に並んでいる複数の動翼段と、を有している。ケーシングの内周側には、各動翼段の上流側の位置に静翼段が固定されている。1つの静翼段は、複数の静翼が周方向に並んで相互に連結された静翼環を形成している。この静翼環は、組立の都合上、周方向に分割されている。この周方向に分割された各部分が一般的に静翼セグメントと呼ばれている。この静翼セグメントは、複数の静翼が周方向に連結されて構成されている(例えば特許文献1参照)。
【先行技術文献】
【特許文献】
【0004】
特開2015-121158号公報
【発明の概要】
【発明が解決しようとする課題】
【0005】
上述した静翼セグメントは、複数の外側シュラウド同士が外側連結部材で連結され、複数の内側シュラウド同士が内側連結部材で連結されている。周方向で隣り合う上述した静翼セグメント同士は、各静翼セグメントの周方向の端部の静翼の内側シュラウドの周方向の側面同士が当接した状態で圧縮機のケーシングに取り付けられている。
【0006】
しかし、圧縮機の使用により該側面同士の間に摩耗による隙間が生じると、静翼セグメントを通過する流体からの流体力で静翼セグメントが内側連結部材に対して移動してしまう。そのため、静翼セグメントの周方向の端部に位置する内側シュラウドが周方向で隣り合う静翼セグメントの内側連結部材に当たることで静翼本体の平均応力が増加し、寿命が短くなる等の不具合を招くおそれがある。
【0007】
本開示の少なくとも一実施形態は、上述の事情に鑑みて、圧縮機の静翼セグメントにおける静翼に作用する応力を低減することを目的とする。
【課題を解決するための手段】
【0008】
(1)本開示の少なくとも一実施形態に係る圧縮機の静翼セグメントは、
圧縮機の静翼セグメントであって、
腹面を周方向の一方側に向け、背面を前記周方向の他方側に向けた翼型部と、径方向の内側で前記翼型部の端部に接続された内側シュラウドと、をそれぞれが有し、前記周方向に配置された複数の静翼と、
前記複数の静翼の前記内側シュラウドに取り付けられるホルダと、
を備え、
前記内側シュラウドのそれぞれは、
軸方向の上流側に設けられていて前記ホルダと係合する上流側フック部と、
前記軸方向の下流側に設けられていて前記ホルダと係合する下流側フック部と、
を有し、
前記ホルダは、
前記上流側フック部と係合する上流側係合部と、
前記下流側フック部と係合する下流側係合部と、
を有し、
前記ホルダは、
前記下流側係合部の前記周方向の一方側の端部の前記周方向の位置は、前記上流側係合部の前記周方向の一方側の端部の前記周方向の位置よりも前記周方向の他方側に位置しているか、
又は、
前記上流側係合部の前記周方向の他方側の端部の前記周方向の位置は、前記下流側係合部の前記周方向の他方側の端部の前記周方向の位置よりも前記周方向の一方側に位置しているか、
の少なくともいずれか一方の条件を満たす。
【0009】
(2)本開示の少なくとも一実施形態に係る圧縮機は、
上記(1)の構成の静翼セグメントが前記周方向に複数配置された静翼環、
を備える。
【発明の効果】
【0010】
本開示の少なくとも一実施形態によれば、圧縮機の静翼セグメントにおける静翼に作用する応力を低減できる。
【図面の簡単な説明】
(【0011】以降は省略されています)
この特許をJ-PlatPat(特許庁公式サイト)で参照する
関連特許
三菱重工業株式会社
支持金物の溶接装置および方法
今日
株式会社三五
排気浄化装置
今日
株式会社SUBARU
排気浄化装置
7日前
スズキ株式会社
内燃機関の制御装置
7日前
トヨタ自動車株式会社
エンジン
7日前
株式会社三五
ハイブリッド車の排気システム
16日前
トヨタ自動車株式会社
エンジン
15日前
トヨタ自動車株式会社
エンジン
16日前
株式会社ミクニ
二次空気供給システム
1日前
株式会社SUBARU
エンジン制御装置
28日前
株式会社クボタ
多目的車両
1か月前
トヨタ自動車株式会社
油量判定装置
29日前
トヨタ自動車株式会社
異常診断装置
1か月前
トヨタ自動車株式会社
排気浄化装置
16日前
トヨタ自動車株式会社
水素エンジン
1か月前
トヨタ自動車株式会社
車両装置
7日前
株式会社アイシン
冷却モジュール
28日前
日産自動車株式会社
内燃機関
28日前
トヨタ自動車株式会社
内燃機関の制御装置
1か月前
トヨタ自動車株式会社
内燃機関の制御装置
1か月前
本田技研工業株式会社
冷却液タンク
7日前
トヨタ自動車株式会社
オイルタンク
16日前
井関農機株式会社
エンジン
15日前
株式会社豊田自動織機
排気浄化装置
1か月前
株式会社三五
排気浄化装置
15日前
いすゞ自動車株式会社
排気処理装置
15日前
トヨタ自動車株式会社
過給機冷却システム
15日前
三菱自動車工業株式会社
オイルパン
1か月前
トヨタ自動車株式会社
車両の制御装置
1か月前
トヨタ自動車株式会社
冷却システム
1か月前
カナデビア株式会社
排ガス処理システム
1か月前
トヨタ自動車株式会社
車両の制御装置
15日前
ダイハツインフィニアース株式会社
カバーユニット
今日
株式会社豊田自動織機
内燃機関の制御装置
29日前
川崎重工業株式会社
多段ラジアルタービン
28日前
スズキ株式会社
エンジンの排気浄化装置
23日前
続きを見る
他の特許を見る