TOP
|
特許
|
意匠
|
商標
特許ウォッチ
Twitter
他の特許を見る
10個以上の画像は省略されています。
公開番号
2025176855
公報種別
公開特許公報(A)
公開日
2025-12-05
出願番号
2024083212
出願日
2024-05-22
発明の名称
ポリエステルリサイクルシステム、及びポリエステルリサイクル方法
出願人
三菱重工業株式会社
代理人
弁理士法人酒井国際特許事務所
主分類
C08J
11/24 20060101AFI20251128BHJP(有機高分子化合物;その製造または化学的加工;それに基づく組成物)
要約
【課題】不純物を除去した後のポリエステル溶液を有効に利用することができるポリエステルリサイクルシステム、及びポリエステルリサイクル方法を提供すること。
【解決手段】本開示に係るポリエステルリサイクルシステムは、ポリエステルを含有する物質であるポリエステル原料に、ポリエステルを分解して生成されるモノマーの溶液を供給して、ポリエステル原料のポリエステルが溶解したポリエステル溶液を生成する溶解部と、ポリエステル溶液からポリエステル原料に含まれるポリエステル以外の成分である不純物を除去する分離部と、分離部を通過した前記ポリエステル溶液に対して所定の処理を実行する処理部と、所定の処理が実行されたポリエステル溶液を用いて、再生ポリエステルペレットを製造するペレット製造部と、を備える。
【選択図】図1
特許請求の範囲
【請求項1】
ポリエステルを含有する物質であるポリエステル原料に、ポリエステルを分解して生成されるモノマーの溶液を供給して、ポリエステル原料のポリエステルが溶解したポリエステル溶液を生成する溶解部と、
ポリエステル溶液からポリエステル原料に含まれるポリエステル以外の成分である不純物を除去する分離部と、
前記分離部を通過した前記ポリエステル溶液に対して所定の処理を実行する処理部と、
所定の処理が実行されたポリエステル溶液を用いて、再生ポリエステルペレットを製造するペレット製造部と、を備える、
ポリエステルリサイクルシステム。
続きを表示(約 1,100 文字)
【請求項2】
前記処理部は、前記所定の処理として、前記ポリエステル溶液から前記モノマーを除去する処理を行う、
請求項1に記載のポリエステルリサイクルシステム。
【請求項3】
前記ペレット製造部は、ペレット化された再生ポリエステル樹脂に対して固相重合を行う、
請求項2に記載のポリエステルリサイクルシステム。
【請求項4】
前記処理部は、前記所定の処理として、前記ポリエステル溶液から前記モノマーを除去する処理を行う、
前記ペレット製造部は、前記モノマーが除去されたポリエステル溶液を溶融重合した後に、溶融重合されたポリエステル溶液をペレット化する、
請求項1に記載のポリエステルリサイクルシステム。
【請求項5】
前記ペレット製造部は、ペレット化された再生ポリエステル樹脂に対して固相重合を行う、
請求項4に記載のポリエステルリサイクルシステム。
【請求項6】
前記処理部は、前記所定の処理として、前記ポリエステル溶液にエチレングリコールを添加する処理を行うことにより、エステル交換させ、
前記ペレット製造部は、エステル交換されたポリエステル溶液を溶融重合した後に、溶融重合されたポリエステル溶液をペレット化する、
請求項1に記載のポリエステルリサイクルシステム。
【請求項7】
前記ペレット製造部は、ペレット化された再生ポリエステル樹脂に対して固相重合を行う、
請求項6に記載のポリエステルリサイクルシステム。
【請求項8】
前記処理部は、前記所定の処理として、前記ポリエステル溶液に高純度テレフタル酸、及びエチレングリコールを添加する処理を行うことにより、エステル化させ、
前記ペレット製造部は、エステル化されたポリエステル溶液を溶融重合した後に、溶融重合されたポリエステル溶液をペレット化する、
請求項1に記載のポリエステルリサイクルシステム。
【請求項9】
前記ペレット製造部は、さらにペレット化された再生ポリエステル樹脂に対して固相重合を行う、
請求項8に記載のポリエステルリサイクルシステム。
【請求項10】
ポリエステルを含有する物質であるポリエステル原料に、ポリエステルを分解して生成されるモノマーの溶液を供給して、ポリエステル原料のポリエステルが溶解したポリエステル溶液を生成するステップと、
ポリエステル溶液からポリエステル原料に含まれるポリエステル以外の成分である不純物を除去するステップと、
不純物を除去した前記ポリエステル溶液に対して所定の処理を実行するステップと、を含む、
ポリエステルリサイクル方法。
発明の詳細な説明
【技術分野】
【0001】
本開示は、ポリエステルリサイクルシステム、及びポリエステルリサイクル方法に関する。
続きを表示(約 1,800 文字)
【背景技術】
【0002】
ポリエステル(PEs:Polyester)をリサイクルするために、ポリエステルから不純物を分離する技術が知られている。例えば、下記の特許文献1には、ポリエチレンテレフタレート(PET:Polyethylene Terephthalate)廃棄物をエチレングリコール(EG:Ethylene Glycol)に投入して解重合を行って、ビス(β-ヒドロキシエチル)テレフタレート(BHET:Bis(2-Hydroxyethyl) Terephthalate)を得る旨、及び、解重合の反応中又は反応後に、PET以外の異物をろ過機により除去する旨が記載されている。
【先行技術文献】
【特許文献】
【0003】
特許第4065659号公報
【発明の概要】
【発明が解決しようとする課題】
【0004】
しかしながら、上記の特許文献1に記載の技術は、複雑な解重合工程、及び精製工程が必要となる。そのため、膨大な設備投資費用が必要となることが想定され、プラントを運用するための用役費も多くなることが課題であった。
【0005】
本開示は上記課題を鑑み、不純物を除去した後のポリエステル溶液を有効に利用することができるポリエステルリサイクルシステム、及びポリエステルリサイクル方法を提供することを目的とする。
【課題を解決するための手段】
【0006】
上述した課題を解決し、目的を達成するために、本開示に係るポリエステルリサイクルシステムは、ポリエステルを含有する物質であるポリエステル原料に、ポリエステルを分解して生成されるモノマーの溶液を供給して、ポリエステル原料のポリエステルが溶解したポリエステル溶液を生成する溶解部と、ポリエステル溶液からポリエステル原料に含まれるポリエステル以外の成分である不純物を除去する分離部と、前記分離部を通過した前記ポリエステル溶液に対して所定の処理を実行する処理部と、所定の処理が実行されたポリエステル溶液を用いて、再生ポリエステルペレットを製造するペレット製造部と、を備える。
【0007】
上述した課題を解決し、目的を達成するために、本開示に係るポリエステルリサイクル方法は、ポリエステルを含有する物質であるポリエステル原料に、ポリエステルを分解して生成されるモノマーの溶液を供給して、ポリエステル原料のポリエステルが溶解したポリエステル溶液を生成するステップと、ポリエステル溶液からポリエステル原料に含まれるポリエステル以外の成分である不純物を除去するステップと、不純物を除去した前記ポリエステル溶液に対して所定の処理を実行するステップと、を含む。
【発明の効果】
【0008】
本開示によれば、不純物を除去した後のポリエステル溶液を有効に利用することができるポリエステルリサイクルシステム、及びポリエステルリサイクル方法を提供することができる。
【図面の簡単な説明】
【0009】
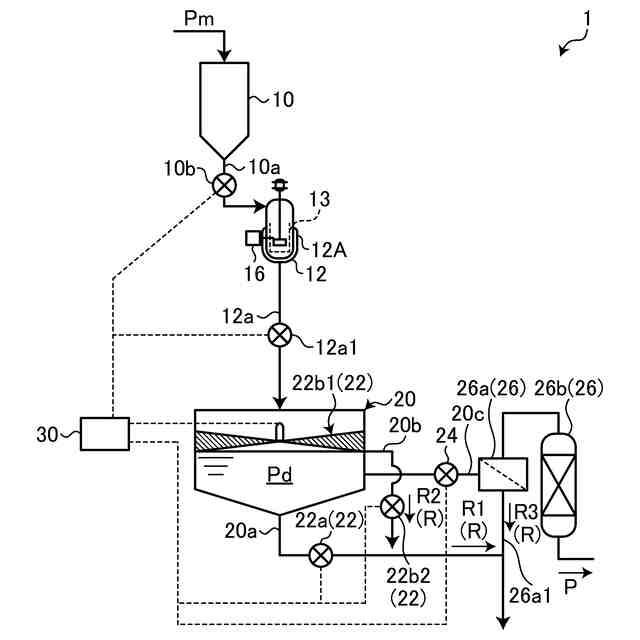
図1は、本開示に係るポリエステルリサイクルシステムの概要を示すフローチャートである。
図2は、本開示に係る分離システムの構成例を示す図である。
図3は、本開示に係る制御装置の構成例を示す図である。
図4は、本開示に係る分離方法のフローを示すフローチャートである。
図5は、本開示に係るポリエステルリサイクルシステムの構成例を示す図である。
図6は、本開示に係るポリエステルリサイクルシステムの第一実施形態の処理のフローを示すフローチャートである。
図7は、本開示に係るポリエステルリサイクルシステムの第二実施形態の処理のフローを示すフローチャートである。
図8は、本開示に係るポリエステルリサイクルシステムの第三実施形態の処理のフローを示すフローチャートである。
図9は、本開示に係るポリエステルリサイクルシステムの第四実施形態の処理のフローを示すフローチャートである。
【発明を実施するための形態】
【0010】
以下に、本開示の実施形態を図面に基づいて詳細に説明する。なお、以下に説明する実施形態により本開示が限定されるものではない。
(【0011】以降は省略されています)
この特許をJ-PlatPat(特許庁公式サイト)で参照する
関連特許
三菱重工業株式会社
原子炉
1日前
三菱重工業株式会社
原子炉
23日前
三菱重工業株式会社
炭化炉
2日前
三菱重工業株式会社
施工方法
29日前
三菱重工業株式会社
ボイラ壁
1か月前
三菱重工業株式会社
動力装置
1か月前
三菱重工業株式会社
加熱装置
1か月前
三菱重工業株式会社
遠心圧縮機
7日前
三菱重工業株式会社
皮膜形成装置
1か月前
三菱重工業株式会社
超音波探傷方法
1か月前
三菱重工業株式会社
ポンプシステム
1か月前
三菱重工業株式会社
原子力システム
8日前
三菱重工業株式会社
バッテリ交換装置
1か月前
三菱重工業株式会社
支持金物除去方法
今日
三菱重工業株式会社
洗浄水噴射ノズル
1か月前
三菱重工業株式会社
燃焼筒の取付方法
1か月前
三菱重工業株式会社
石膏脱水システム
29日前
三菱重工業株式会社
メタン酸化触媒装置
1か月前
三菱重工業株式会社
配管端部用閉止装置
2日前
三菱重工業株式会社
蒸気タービンシステム
1か月前
三菱重工業株式会社
ガスタービン起動方法
1か月前
三菱重工業株式会社
ガスタービン制御方法
1か月前
三菱重工業株式会社
評価装置および評価方法
8日前
三菱重工業株式会社
燃焼設備および制御方法
1か月前
三菱重工業株式会社
炭化炉及びその制御方法
1か月前
三菱重工業株式会社
電解セル、及び電解装置
1か月前
三菱重工業株式会社
デジタル入力モジュール
1か月前
三菱重工業株式会社
原子炉炉心および原子炉
23日前
三菱重工業株式会社
ガス処理装置および方法
1か月前
三菱重工業株式会社
シール装置及び回転機械
28日前
三菱重工業株式会社
アンモニア除害システム
29日前
三菱重工業株式会社
シール装置および回転機械
1か月前
三菱重工業株式会社
軸流圧縮機、及びその動翼
1か月前
三菱重工業株式会社
計測システムおよび計測方法
1か月前
三菱重工業株式会社
バーナ及びこれを備えたボイラ
1か月前
三菱重工業株式会社
レドックスフロー電池システム
1か月前
続きを見る
他の特許を見る