TOP
|
特許
|
意匠
|
商標
特許ウォッチ
Twitter
他の特許を見る
公開番号
2025163928
公報種別
公開特許公報(A)
公開日
2025-10-30
出願番号
2024067575
出願日
2024-04-18
発明の名称
耐熱塗料の乾燥方法
出願人
フタバ産業株式会社
代理人
名古屋国際弁理士法人
主分類
B05D
3/06 20060101AFI20251023BHJP(霧化または噴霧一般;液体または他の流動性材料の表面への適用一般)
要約
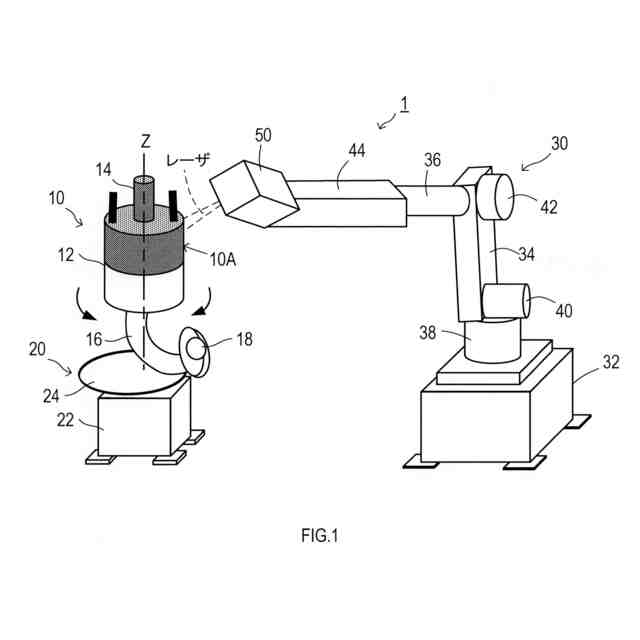
【課題】耐熱塗料の塗膜を乾燥させるのに、レーザを利用できるようにする。
【解決手段】耐熱塗料が塗布された部材の塗装面にレーザを照射し、照射位置を走査することで前記耐熱塗料の塗膜を乾燥させる、耐熱塗料の乾燥方法であって、前記レーザの照射条件は、前記レーザにより加熱される温度が150度~270度、前記レーザの走査速度が0.5~6m/s、前記レーザの出力が460W~2800W、である。
【選択図】図1
特許請求の範囲
【請求項1】
耐熱塗料が塗布された部材の塗装面にレーザを照射し、照射位置を走査することで前記耐熱塗料の塗膜を乾燥させる、耐熱塗料の乾燥方法であって、
前記レーザの照射条件は、
前記レーザにより加熱される温度が150度~270度、
前記レーザの走査速度が0.5~6m/s、
前記レーザの出力が460W~2800W、
である、耐熱塗料の乾燥方法。
続きを表示(約 120 文字)
【請求項2】
前記照射条件にて前記レーザを照射する前に、前記塗膜の表面を送風により乾かす、請求項1に記載の耐熱塗料の乾燥方法。
【請求項3】
前記部材は、自動車用マフラである、請求項1又は請求項2に記載の耐熱塗料の乾燥方法。
発明の詳細な説明
【技術分野】
【0001】
本開示は、耐熱塗料が塗布された部材の塗装面にレーザを照射して乾燥させる、耐熱塗料の乾燥方法に関する。
続きを表示(約 1,300 文字)
【背景技術】
【0002】
特許文献1には、内燃機関のピストンのスカート部に塗布された固体潤滑被膜を乾燥させる方法として、固体潤滑被膜にレーザを照射する方法が記載されている。
一方、自動車用マフラなど、耐熱塗料が塗布される部材においては、耐熱塗料を乾燥させるのに、乾燥炉が利用されている。
【先行技術文献】
【特許文献】
【0003】
特許第5755820号公報
【発明の概要】
【発明が解決しようとする課題】
【0004】
上記のように耐熱塗料を乾燥させるのに乾燥炉が利用されるのは、耐熱塗料には、樹脂や溶剤が含まれており、耐熱塗料の塗膜にレーザを照射すると、塗膜が変色したり、傷が発生したりすることが考えられるためである。
【0005】
しかしながら、乾燥炉は、電気若しくはガスを使用して、乾燥炉内を温め、耐熱塗料が塗布された部材全体を乾燥させて塗膜を硬化させるものであるため、エネルギの消費量(延いては、CO2の排出量)が多くなるという問題が発生する。
【0006】
本開示の1つの局面は、耐熱塗料の塗膜を乾燥させるのに、レーザを利用できるようにすることで、CO2の排出量を抑制することを目的とする。
【課題を解決するための手段】
【0007】
本開示の1つの態様による耐熱塗料の乾燥方法は、耐熱塗料が塗布された部材の塗装面にレーザを照射し、照射位置を走査することで耐熱塗料の塗膜を乾燥させる方法である。
そして、本開示の乾燥方法では、レーザの照射条件として、レーザにより加熱される温度が150度~270度、レーザの走査速度が0.5~6m/s、レーザの出力が460W~2800W、の範囲内に設定される。
【0008】
この照射条件は、後述実施形態に記載のように、耐熱塗料を塗布した試料にレーザを照射し、照射後の塗膜の状態を評価することにより設定されている。なお、レーザの出力は、平均出力を表す。
【0009】
従って、本開示の乾燥方法によれば、耐熱塗料が塗布された部材の塗膜を、レーザを利用して良好に乾燥させることができる。また、レーザは、部材の塗装面に照射し、走査することで、塗膜を直接加熱して、乾燥・硬化させることができるので、乾燥炉を用いた場合に比べて、エネルギの消費量を抑制し、CO2の排出量を低減することができる。
【0010】
ここで、本開示の耐熱塗料の乾燥方法においては、照射条件にてレーザを照射する前に、塗膜の表面を送風により乾かすようにしてもよい。
つまり、耐熱塗料は、樹脂や溶剤が含まれているため、耐熱塗料の種類によっては、塗膜に含まれる揮発性の溶剤が、レーザの照射により発火しやすくなることが考えられる。しかし、レーザを照射する前に塗膜に送風するようにすれば、自然乾燥により溶剤を気化させる必要がなく、送風により溶剤を強制的に気化させることができるため、耐熱塗料の塗布後、短時間で、レーザによる乾燥を行うことができる。
(【0011】以降は省略されています)
この特許をJ-PlatPat(特許庁公式サイト)で参照する
関連特許
フタバ産業株式会社
熱交換器
今日
フタバ産業株式会社
熱交換器
今日
フタバ産業株式会社
熱交換器
今日
フタバ産業株式会社
熱交換器
15日前
フタバ産業株式会社
排気系部品
1か月前
フタバ産業株式会社
成形品の製造方法
13日前
フタバ産業株式会社
成型品の製造方法
13日前
フタバ産業株式会社
接合体の製造方法
28日前
フタバ産業株式会社
耐熱塗料の乾燥方法
28日前
フタバ産業株式会社
ステアリング支持装置
1か月前
フタバ産業株式会社
プレス成形品の製造方法
15日前
フタバ産業株式会社
触媒の盗難抑制構造及び触媒の盗難抑制システム
1か月前
個人
微細霧発生装置
20日前
ベック株式会社
被膜形成方法
5か月前
ベック株式会社
被膜形成方法
5か月前
ベック株式会社
被膜形成方法
1か月前
ベック株式会社
被膜形成方法
15日前
ベック株式会社
被膜形成方法
15日前
ベック株式会社
被膜形成方法
15日前
ベック株式会社
被膜形成方法
15日前
ベック株式会社
被膜形成方法
15日前
有限会社 芦屋ドレス
湯噴霧器
1か月前
スズカファイン株式会社
多色性塗膜
1か月前
株式会社吉野工業所
キャップ
4か月前
アイカ工業株式会社
塗料仕上げ工法
2か月前
ベック株式会社
装飾被膜の形成方法
3か月前
株式会社カネカ
塗布装置
1か月前
トヨタ自動車株式会社
塗布装置
1か月前
能美防災株式会社
水噴霧ヘッド
1か月前
プルガティオ株式会社
噴霧装置
4か月前
プルガティオ株式会社
噴霧装置
4か月前
プルガティオ株式会社
噴霧装置
4か月前
日本ライナー株式会社
塗装装置
2か月前
個人
スプレー缶高所対応携帯ホルダー
2か月前
ヒット工業株式会社
マスキング具
3か月前
株式会社吉野工業所
ポンプ式吐出器
4か月前
続きを見る
他の特許を見る