TOP
|
特許
|
意匠
|
商標
特許ウォッチ
Twitter
他の特許を見る
公開番号
2025158346
公報種別
公開特許公報(A)
公開日
2025-10-17
出願番号
2024060806
出願日
2024-04-04
発明の名称
触媒の盗難抑制構造及び触媒の盗難抑制システム
出願人
フタバ産業株式会社
代理人
名古屋国際弁理士法人
主分類
F01N
3/28 20060101AFI20251009BHJP(機械または機関一般;機関設備一般;蒸気機関)
要約
【課題】切断による触媒の盗難を抑制する技術を提供する。
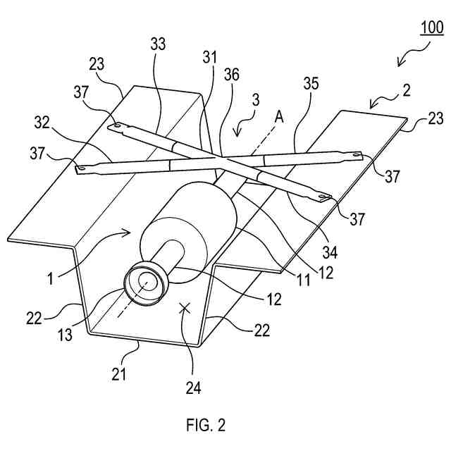
【解決手段】触媒の盗難抑制構造は、車両の部品と、カバー部と、を備える。車両の部品は、互いに対向するように筒状の触媒コンバータの中心軸に沿って延びる2つの壁部を有し、当該2つの壁部の間に形成される隙間に触媒コンバータを配置可能である。カバー部は、隙間を跨ぐように車両の部品に取り付けられる。触媒コンバータは、触媒を収容する第1筒部と、第1筒部の上流側及び下流側の少なくとも一方に位置し、第1筒部よりも中心軸に直交する断面の面積が小さい第2筒部と、を有する。カバー部は、直交方向から見て、第2筒部の少なくとも一部と重なるように配置される。
【選択図】図2
特許請求の範囲
【請求項1】
車両に設けられる触媒の盗難抑制構造であって、
互いに対向するように筒状の触媒コンバータの中心軸に沿って延びる2つの壁部を有し、当該2つの壁部の間に形成される隙間に前記触媒コンバータを配置可能な車両の部品と、
前記隙間を跨ぐように前記部品に取り付けられるカバー部と、
を備え、
前記触媒コンバータは、前記触媒を収容する第1筒部と、前記第1筒部の上流側及び下流側の少なくとも一方に位置し、前記第1筒部よりも前記中心軸に直交する断面の面積が小さい第2筒部と、を有し、
前記カバー部は、前記中心軸に直交しかつ前記2つの壁部が並ぶ方向に直交する直交方向から見て、前記第2筒部の少なくとも一部と重なるように配置される、触媒の盗難抑制構造。
続きを表示(約 500 文字)
【請求項2】
請求項1に記載の触媒の盗難抑制構造であって、
前記カバー部は、前記直交方向において前記第2筒部と重なる位置に、交差部を有する、略X字状である、触媒の盗難抑制構造。
【請求項3】
請求項1又は請求項2に記載の触媒の盗難抑制構造であって、
前記カバー部は、内部空間が形成されるように中空状である、触媒の盗難抑制構造。
【請求項4】
請求項3に記載の触媒の盗難抑制構造であって、
前記カバー部の前記内部空間には、塗料が収容される、触媒の盗難抑制構造。
【請求項5】
請求項3に記載の触媒の盗難抑制構造であって、
前記カバー部の前記内部空間には、帯状又は紐状の部材が収容される、触媒の盗難抑制構造。
【請求項6】
触媒の盗難抑制システムであって、
請求項1又は請求項2に記載の触媒の盗難抑制構造と、
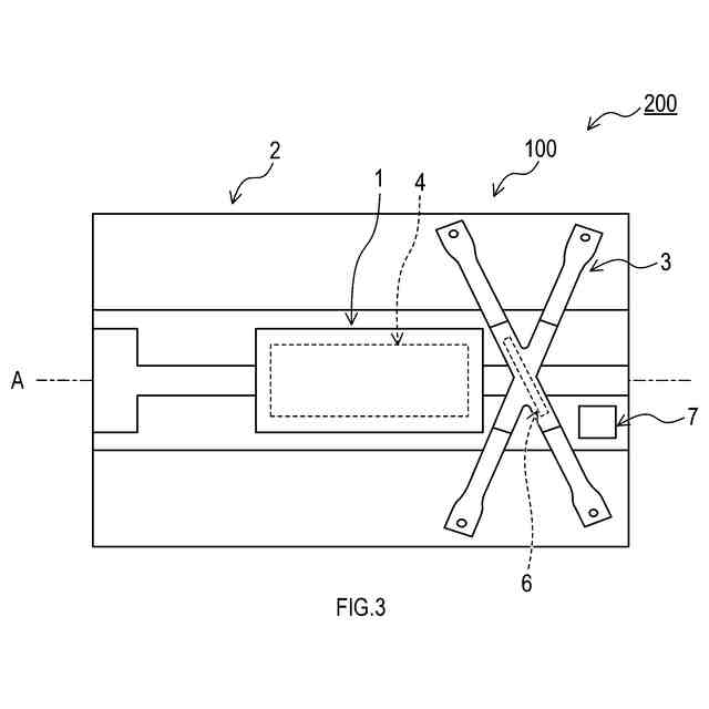
前記カバー部に設けられ、当該カバー部の切断を感知可能なセンサと、
前記センサから受信した信号に基づき、警報を出力する警報装置と、
を備える、触媒の盗難抑制システム。
発明の詳細な説明
【技術分野】
【0001】
本開示は、触媒の盗難を抑制する技術に関する。
続きを表示(約 1,400 文字)
【背景技術】
【0002】
特許文献1には、触媒が内部に収容される大径部、及び、大径部の上流及び下流に位置する小径部を有する筒状の触媒コンバータと、排気管と、を接続する接合部に、遮蔽部材を設けることで、自動車部品の盗難を防止する方法が開示されている。遮蔽部材が有する遮蔽板は、接合部における接合に用いられるナットを覆うように、排気管上に配置される。
【先行技術文献】
【特許文献】
【0003】
特開昭49-080734号公報
【発明の概要】
【発明が解決しようとする課題】
【0004】
しかしながら、上述した特許文献1に記載の方法では、遮蔽板によって、接合部におけるナットが取り外しにくくなるが、サンダー等の切断機器を用いて触媒コンバータの小径部を切断することによって、触媒コンバータが盗難される可能性がある。
【0005】
本開示の一局面は、切断による触媒の盗難を抑制する技術を提供することを目的としている。
【課題を解決するための手段】
【0006】
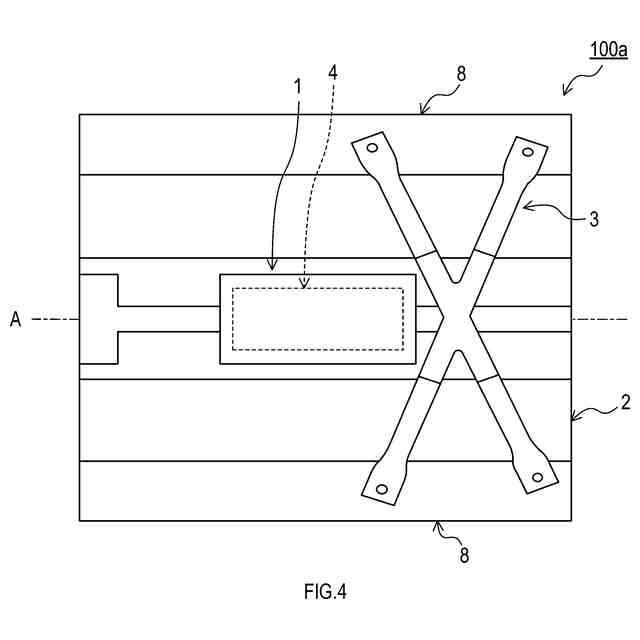
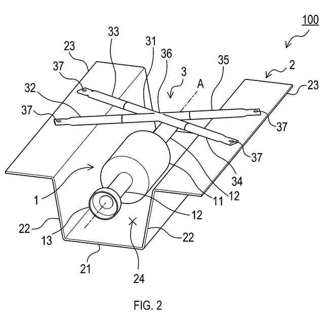
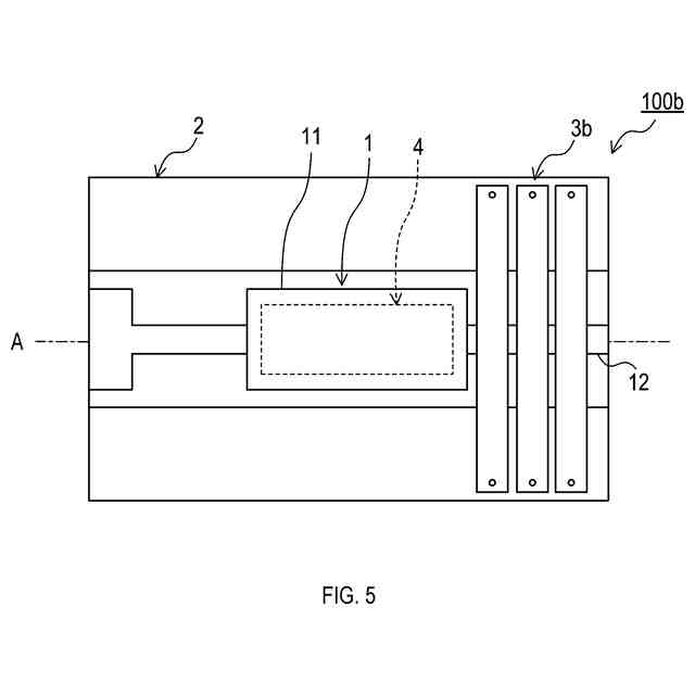
本開示の一態様は、車両に設けられる触媒の盗難抑制構造であって、車両の部品と、カバー部と、を備える。車両の部品は、互いに対向するように筒状の触媒コンバータの中心軸に沿って延びる2つの壁部を有し、当該2つの壁部の間に形成される隙間に触媒コンバータを配置可能である。カバー部は、隙間を跨ぐように車両の部品に取り付けられる。触媒コンバータは、第1筒部と、第2筒部と、を有する。第1筒部は、触媒を収容する。第2筒部は、第1筒部の上流側及び下流側の少なくとも一方に位置し、第1筒部よりも中心軸に直交する断面の面積が小さい。カバー部は、中心軸に直交しかつ2つの壁部が並ぶ方向に直交する直交方向から見て、第2筒部の少なくとも一部と重なるように配置される。
【0007】
このような構成では、カバー部によって触媒コンバータの第2筒部が覆われるため、触媒の盗難のために、例えば、サンダー等の切断機器を用いて第1筒部よりも中心軸に直交する断面の面積が小さいことにより切断がしやすい第2筒部を切断しようとしても、カバー部が第2筒部の切断の妨げになりやすい。このため、触媒の盗難を躊躇させる効果が得られやすい。したがって、切断による触媒の盗難を抑制することができる。
【0008】
本開示の一態様では、カバー部は、直交方向において第2筒部と重なる位置に、交差部を有する、略X字状であってもよい。
このような構成によれば、交差部において第2筒部を覆いつつ、カバー部を立体的に複雑な形状とすることができるため、第2筒部の切断の妨げになりつつ、カバー部の剛性を向上させることができる。
【0009】
本開示の一態様では、カバー部は、内部空間が形成されるように中空状であってもよい。
このような構成によれば、カバー部を軽量化することができる。
【0010】
本開示の一態様では、カバー部の内部空間には、塗料が収容されてもよい。
このような構成によれば、カバー部が切断された場合に塗料が漏れ出すため、触媒の盗難に対する抑止力を一層高めることができる。
(【0011】以降は省略されています)
この特許をJ-PlatPat(特許庁公式サイト)で参照する
関連特許
フタバ産業株式会社
熱交換器
6日前
フタバ産業株式会社
熱交換器
6日前
フタバ産業株式会社
熱交換器
13日前
フタバ産業株式会社
成形品の製造方法
5日前
フタバ産業株式会社
アッパ部材及びバッテリケース
5日前
株式会社三五
排気浄化装置
5日前
株式会社SUBARU
排気浄化装置
12日前
スズキ株式会社
内燃機関の制御装置
12日前
トヨタ自動車株式会社
エンジン
20日前
トヨタ自動車株式会社
エンジン
12日前
トヨタ自動車株式会社
エンジン
21日前
株式会社三五
ハイブリッド車の排気システム
21日前
株式会社ミクニ
二次空気供給システム
6日前
株式会社SUBARU
エンジン制御装置
1か月前
トヨタ自動車株式会社
排気浄化装置
21日前
トヨタ自動車株式会社
車両装置
12日前
本田技研工業株式会社
冷却液タンク
12日前
井関農機株式会社
エンジン
20日前
トヨタ自動車株式会社
オイルタンク
21日前
個人
エネルギー変換機構およびそれを利用した流体機械
1日前
株式会社三五
排気浄化装置
20日前
いすゞ自動車株式会社
排気処理装置
20日前
トヨタ自動車株式会社
過給機冷却システム
20日前
巨鎧精密工業股ふん有限公司
ラジエータキャップ
1日前
川崎重工業株式会社
多段ラジアルタービン
1か月前
ダイハツインフィニアース株式会社
カバーユニット
5日前
トヨタ自動車株式会社
車両の制御装置
20日前
ダイハツインフィニアース株式会社
エンジンフレーム
5日前
スズキ株式会社
エンジンの排気浄化装置
28日前
トヨタ自動車株式会社
車両の制御装置
20日前
トヨタ自動車株式会社
車両の制御装置
20日前
三菱重工業株式会社
圧縮機の静翼セグメント、及び圧縮機
5日前
株式会社豊田自動織機
排気浄化装置
6日前
株式会社IHI原動機
エンジンシステム
5日前
株式会社小松製作所
ファン駆動システム及びファン駆動方法
1か月前
三菱重工業株式会社
排気車室の分解組立方法、及び軸受台下半の支持装置
12日前
続きを見る
他の特許を見る