TOP
|
特許
|
意匠
|
商標
特許ウォッチ
Twitter
他の特許を見る
10個以上の画像は省略されています。
公開番号
2025177370
公報種別
公開特許公報(A)
公開日
2025-12-05
出願番号
2024084138
出願日
2024-05-23
発明の名称
アッパ部材及びバッテリケース
出願人
フタバ産業株式会社
代理人
名古屋国際弁理士法人
主分類
H01M
50/204 20210101AFI20251128BHJP(基本的電気素子)
要約
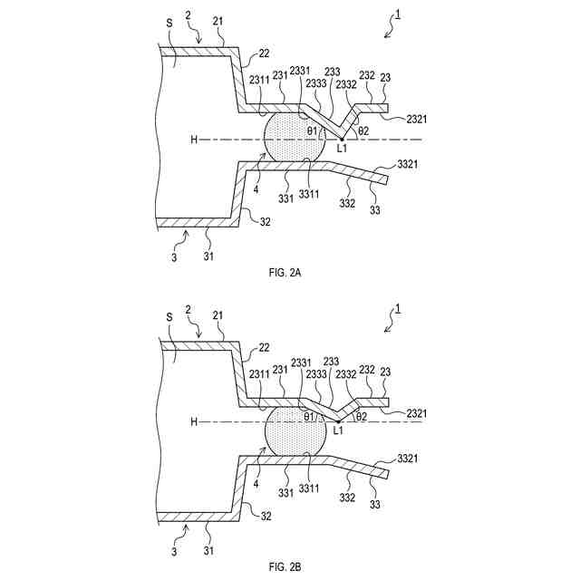
【課題】バッテリケースにおいてシール部材まで水が到達することを抑制するための技術を提供する。
【解決手段】アッパ部材は、アッパ本体部及びアッパフランジ部を備える。アッパ本体部は、収容空間をロア部材と共に形成するように構成されている。アッパフランジ部は、アッパ本体部の外周に設けられ、シール部材に接触するように構成されている。アッパフランジ部は、アッパ突出部を有する。アッパ突出部は、下方へ突出しつつ、アッパ本体部の外周に沿って延びる。アッパ突出部は、最下線がシール部材よりも収容空間から離れて位置する。アッパ突出部は、最下線よりも収容空間に近い第1下面と、最下線よりも収容空間から遠い第2下面と、を有する。第1下面の鉛直方向における高さは、収容空間に近付くほど高い。第2下面の鉛直方向における高さは、収容空間に近付くほど低い。第2下面と水平面との成す角度は、第1下面と水平面との成す角度よりも大きい。
【選択図】図2
特許請求の範囲
【請求項1】
ロア部材の上方に配置されるアッパ部材であって、
バッテリを収容するための収容空間を前記ロア部材と共に形成するように構成されたアッパ本体部と、
前記アッパ本体部の外周に設けられ、シール部材に接触するように構成されたアッパフランジ部と、
を備え、
前記アッパフランジ部は、下方へ突出しつつ、前記アッパ本体部の外周に沿って延びるアッパ突出部であって、前記アッパ突出部における鉛直方向最下点を結んだ線である最下線が前記シール部材よりも前記収容空間から離れて位置する前記アッパ突出部を有し、
前記アッパ突出部は、前記最下線よりも前記収容空間に近い第1下面と、前記最下線よりも前記収容空間から遠い第2下面と、を有し、
前記第1下面の鉛直方向における高さは、前記収容空間に近付くほど高く、
前記第2下面の鉛直方向における高さは、前記収容空間に近付くほど低く、
前記第2下面と水平面との成す角度は、前記第1下面と水平面との成す角度よりも大きい、アッパ部材。
続きを表示(約 910 文字)
【請求項2】
請求項1に記載のアッパ部材であって、
前記アッパフランジ部の平面視における外形は多角形状であり、
前記最下線は、前記アッパフランジ部の平面視における角部に近いほど、鉛直方向における高さが低い、アッパ部材。
【請求項3】
請求項1に記載のアッパ部材であって、
前記第1下面は、前記シール部材に接触するように構成されている、アッパ部材。
【請求項4】
バッテリケースであって、
請求項1から請求項3までのいずれか1項に記載のアッパ部材と、
前記ロア部材と、
前記シール部材と、
を備え、
前記ロア部材は、
前記アッパ本体部に対向し、前記アッパ本体部との間に前記収容空間を形成するように構成されたロア本体部と、
前記ロア本体部の外周に設けられたロアフランジ部と、
を有し、
前記シール部材は、前記アッパフランジ部と前記ロアフランジ部との間を閉塞している、バッテリケース。
【請求項5】
請求項4に記載のバッテリケースであって、
前記ロアフランジ部は、第1上面と、前記第1上面よりも前記収容空間から遠い第2上面と、を有し、
前記第2上面は、前記最下線に対向しており、
前記第2上面の鉛直方向における高さは、前記収容空間から離れるほど低い、バッテリケース。
【請求項6】
請求項4に記載のバッテリケースであって、
前記ロアフランジ部は、下方へ凹んだ部分である凹部を有し、
前記凹部は、前記最下線に対向している、バッテリケース。
【請求項7】
請求項4に記載のバッテリケースであって、
前記ロアフランジ部は、上方へ突出しつつ、前記ロア本体部の外周に沿って延びるロア突出部を有し、
前記ロア突出部における鉛直方向最上点を結んだ線である最上線は、前記最下線よりも前記収容空間側に位置し、
前記シール部材は、前記最上線よりも前記収容空間側に配置される、バッテリケース。
発明の詳細な説明
【技術分野】
【0001】
本開示は、バッテリケースに関する。
続きを表示(約 1,200 文字)
【背景技術】
【0002】
例えば特許文献1には、バッテリケースが記載されている。バッテリケースは、アッパ部材とロア部材とを備える。アッパ部材及びロア部材は、バッテリを収容するための収容空間を形成する。アッパ部材のフランジ部とロア部材のフランジ部との間は、シール部材により閉塞されている。
【先行技術文献】
【特許文献】
【0003】
特開2023-46615号公報
【発明の概要】
【発明が解決しようとする課題】
【0004】
例えば、この種のバッテリケースが被水した場合、アッパ部材のフランジ部を伝って水がシール部材まで到達することが考えられる。シール部材が水と接触することは、シール性の低下に繋がる可能性がある。
【0005】
本開示の一局面は、バッテリケースにおいてシール部材まで水が到達することを抑制するための技術を提供する。
【課題を解決するための手段】
【0006】
本開示の一態様は、ロア部材の上方に配置されるアッパ部材であって、アッパ本体部と、アッパフランジ部と、を備える。アッパ本体部は、バッテリを収容するための収容空間をロア部材と共に形成するように構成されている。アッパフランジ部は、アッパ本体部の外周に設けられ、シール部材に接触するように構成されている。アッパフランジ部は、アッパ突出部を有する。アッパ突出部は、下方へ突出しつつ、アッパ本体部の外周に沿って延びる。アッパ突出部は、アッパ突出部における鉛直方向最下点を結んだ線である最下線がシール部材よりも収容空間から離れて位置する。アッパ突出部は、最下線よりも収容空間に近い第1下面と、最下線よりも収容空間から遠い第2下面と、を有する。第1下面の鉛直方向における高さは、収容空間に近付くほど高い。第2下面の鉛直方向における高さは、収容空間に近付くほど低い。第2下面と水平面との成す角度は、第1下面と水平面との成す角度よりも大きい。
【0007】
このような構成のアッパ部材が用いられた場合、バッテリケースにおいてシール部材まで水が到達することを抑制することができる。
【0008】
本開示の一態様では、アッパフランジ部の平面視における外形は、多角形状であってもよい。最下線は、アッパフランジ部の平面視における角部に近いほど、鉛直方向における高さが低くてもよい。
【0009】
このような構成のアッパ部材が用いられた場合、バッテリケースにおいてシール部材まで水が到達することを、一層抑制することができる。
【0010】
本開示の一態様では、第1下面は、シール部材に接触するように構成されていてもよい。このような構成のアッパ部材が用いられた場合、バッテリケースにおいてシール性を向上することができる。
(【0011】以降は省略されています)
この特許をJ-PlatPat(特許庁公式サイト)で参照する
関連特許
フタバ産業株式会社
熱交換器
5日前
フタバ産業株式会社
熱交換器
5日前
フタバ産業株式会社
熱交換器
12日前
フタバ産業株式会社
熱交換器
12日前
フタバ産業株式会社
熱交換器
12日前
フタバ産業株式会社
熱交換器
27日前
フタバ産業株式会社
成形品の製造方法
4日前
フタバ産業株式会社
成形品の製造方法
25日前
フタバ産業株式会社
成型品の製造方法
25日前
フタバ産業株式会社
接合体の製造方法
1か月前
フタバ産業株式会社
耐熱塗料の乾燥方法
1か月前
フタバ産業株式会社
プレス成形品の製造方法
27日前
フタバ産業株式会社
アッパ部材及びバッテリケース
4日前
フタバ産業株式会社
触媒の盗難抑制構造及び触媒の盗難抑制システム
1か月前
APB株式会社
蓄電セル
1か月前
東ソー株式会社
絶縁電線
1か月前
日機装株式会社
加圧装置
4日前
日新イオン機器株式会社
イオン源
4日前
株式会社東芝
端子台
1か月前
ローム株式会社
半導体装置
1か月前
マクセル株式会社
電源装置
1か月前
株式会社GSユアサ
蓄電装置
1か月前
富士電機株式会社
電磁接触器
19日前
株式会社GSユアサ
蓄電装置
1か月前
株式会社GSユアサ
蓄電装置
19日前
株式会社ホロン
冷陰極電子源
1か月前
三菱電機株式会社
回路遮断器
27日前
株式会社GSユアサ
蓄電装置
1か月前
大電株式会社
電線又はケーブル
11日前
トヨタ自動車株式会社
蓄電装置
11日前
株式会社東芝
電子源
4日前
トヨタ自動車株式会社
冷却構造
1か月前
日本特殊陶業株式会社
保持装置
1か月前
日新イオン機器株式会社
基板処理装置
1か月前
日本特殊陶業株式会社
保持装置
1か月前
個人
電源ボックス及び電子機器
4日前
続きを見る
他の特許を見る