TOP
|
特許
|
意匠
|
商標
特許ウォッチ
Twitter
他の特許を見る
10個以上の画像は省略されています。
公開番号
2025171430
公報種別
公開特許公報(A)
公開日
2025-11-20
出願番号
2024076775
出願日
2024-05-09
発明の名称
プラズマ処理装置
出願人
株式会社アルバック
代理人
個人
,
個人
主分類
H01L
21/31 20060101AFI20251113BHJP(基本的電気素子)
要約
【課題】膜厚分布、成膜領域を改善する。
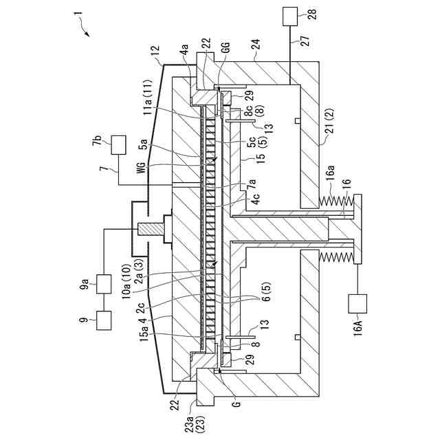
【解決手段】真空チャンバ2と、真空チャンバの上部のシャワープレート5と、高周波電源9と、基板支持部15と、シャワープレートの外周部を基板および基板支持部に対して覆う電極マスク部8と、基板支持部の外周部を前記シャワープレートに対して覆うエッジフレーム11と、を有し、シャワープレートと基板とが互いに対向する対向面5c,10aを有して成膜ギャップWGを形成し、エッジフレームと電極マスク部とが互いに対向する対向面11a,8cを有してマスクギャップGGを形成し、マスクギャップは、成膜ギャップよりも小さいプラズマ処理装置1。
【選択図】図1
特許請求の範囲
【請求項1】
プラズマ処理装置であって、
真空チャンバと、
前記真空チャンバの上部に配置されて反応室を形成する電極部を兼ねたシャワープレートと、
前記シャワープレートに接続されてプラズマを形成する高周波電力を印加する高周波電源と、
前記真空チャンバの下部に前記シャワープレートに対向して配置され、基板を載置して昇降可能な基板支持部と、
前記シャワープレートの外周部を前記基板および前記基板支持部に対して覆う電極マスク部と、
前記基板支持部の外周部を前記シャワープレートに対して覆うエッジフレームと、
を有し、
前記シャワープレートと前記基板とが互いに対向する対向面を有して成膜ギャップを形成し、
前記エッジフレームと前記電極マスク部とが互いに対向する対向面を有してマスクギャップを形成し、
前記マスクギャップは、前記成膜ギャップよりも小さい、
ことを特徴とするプラズマ処理装置。
続きを表示(約 980 文字)
【請求項2】
前記マスクギャップにおいて、前記エッジフレームの前記対向面は、前記基板の前記対向面よりも対向方向において前記電極マスク部に近接し、
前記成膜ギャップにおいて、前記電極マスク部の前記対向面は、前記シャワープレートの前記対向面よりも対向方向において前記エッジフレームに近接する、
ことを特徴とする請求項1記載のプラズマ処理装置。
【請求項3】
前記マスクギャップは、6mm~13mmの範囲である、
ことを特徴とする請求項1記載のプラズマ処理装置。
【請求項4】
前記エッジフレームは、その内縁が前記基板の外縁と離間して露出ギャップを形成する、
ことを特徴とする請求項1記載のプラズマ処理装置。
【請求項5】
前記露出ギャップは、1mm~5mmの範囲である、
ことを特徴とする請求項4記載のプラズマ処理装置。
【請求項6】
前記露出ギャップには、前記基板支持部の表面に絶縁物が設けられる、
ことを特徴とする請求項4記載のプラズマ処理装置。
【請求項7】
前記エッジフレームの内縁は、前記電極マスク部の内縁よりも前記対向面に沿った方向で内方に位置する、
ことを特徴とする請求項1記載のプラズマ処理装置。
【請求項8】
前記シャワープレートが処理ガスを前記成膜ギャップへと導入する複数のガス噴出口を有し、
前記成膜ギャップの最外周に位置する前記ガス噴出口は、前記基板の外縁よりも前記対向面に沿った方向で外方に位置し、かつ、前記電極マスク部の内縁よりも前記対向面に沿った方向で内方に位置する、
ことを特徴とする請求項7記載のプラズマ処理装置。
【請求項9】
前記成膜ギャップの最外周に位置する前記ガス噴出口は、前記エッジフレームの内縁よりも前記対向面に沿った方向で外方に位置する、
ことを特徴とする請求項8記載のプラズマ処理装置。
【請求項10】
前記成膜ギャップの最外周に位置する前記ガス噴出口は、前記電極マスク部の内縁に沿った列状に配置される、
ことを特徴とする請求項8記載のプラズマ処理装置。
(【請求項11】以降は省略されています)
発明の詳細な説明
【技術分野】
【0001】
本発明はプラズマ処理装置に関する。
続きを表示(約 3,900 文字)
【背景技術】
【0002】
液晶ディスプレイ、有機ELディスプレイなどのFPD(flat panel display,フラットパネルディスプレイ)の製造、あるいは、半導体装置の製造では、従来から、プラズマを用いて原料ガスを分解し、例えば、基板の被成膜面に薄膜を形成するプラズマ処理装置が知られている。このプラズマ処理装置においては、例えば、特許文献1に示すように、チャンバと、電極フランジと、チャンバおよび電極フランジによって挟まれた絶縁フランジとによって、処理室が構成されている。処理室は、成膜空間(反応室)を有する。
【0003】
処理室内には、シャワープレートと、基板が配置されるサセプタ(ヒータ)とが設けられている。シャワープレートは、電極フランジに接続され複数の噴出口を有する。シャワープレートと電極フランジとの間には空間が形成される。この空間は、原料ガスが導入されるガス導入空間である。
基板周縁部および基板の載置されていない基板ヒータに対する不必要な成膜を遮るために、枠状の基板マスク部が設けられる。基板マスク部は、成膜時に基板周端部を抑えて保持する。基板マスク部は、基板端面および裏面に膜が回り込んでしまうことを抑制する。同時に、基板マスク部は、プラズマを基板とシャワープレートとの間に閉じ込める。
【先行技術文献】
【特許文献】
【0004】
特開2023-083107号公報
【発明の概要】
【発明が解決しようとする課題】
【0005】
しかし、従来の技術では、基板マスクが基板端部を覆っているため、基板端部付近には成膜等のプラズマ処理をすることができない。基板上にデバイスを形成できる有効範囲を広げることで、生産性を向上させることが望まれている。同時に、基板の全面、さらに、端部まで均一な膜厚分布を求められる。さらに、基板マスクが覆う基板端部付近では電子密度が低く、膜厚が薄くなるためこれを改善したいという要求があった。
【0006】
本発明は、上記の事情に鑑みてなされたもので、以下の目的を達成しようとするものである。
1.プラズマ処理可能な基板範囲を拡大し、基板全面でのプラズマ処理を可能とすること。
2.プラズマ処理可能な基板範囲を拡大し、かつ、処理均一性を維持すること。
3.成膜領域を拡大しつつ、基板端の電子密度を上げて、基板全面での膜厚分布のばらつきを低減すること。
【課題を解決するための手段】
【0007】
(1)本発明の一態様にかかるプラズマ処理装置は、
プラズマ処理装置であって、
真空チャンバと、
前記真空チャンバの上部に配置されて反応室を形成する電極部を兼ねたシャワープレートと、
前記シャワープレートに接続されてプラズマを形成する高周波電力を印加する高周波電源と、
前記真空チャンバの下部に前記シャワープレートに対向して配置され、基板を載置して昇降可能な基板支持部と、
前記シャワープレートの外周部を前記基板および前記基板支持部に対して覆う電極マスク部と、
前記基板支持部の外周部を前記シャワープレートに対して覆うエッジフレームと、
を有し、
前記シャワープレートと前記基板とが互いに対向する対向面を有して成膜ギャップを形成し、
前記エッジフレームと前記電極マスク部とが互いに対向する対向面を有してマスクギャップを形成し、
前記マスクギャップは、前記成膜ギャップよりも小さい、
ことにより上記課題を解決した。
(2)本発明のプラズマ処理装置は、上記(1)において、
前記マスクギャップにおいて、前記エッジフレームの前記対向面は、前記基板の前記対向面よりも対向方向において前記電極マスク部に近接し、
前記成膜ギャップにおいて、前記電極マスク部の前記対向面は、前記シャワープレートの前記対向面よりも対向方向において前記エッジフレームに近接する、
ことができる。
(3)本発明のプラズマ処理装置は、上記(1)において、
前記マスクギャップは、6mm~13mmの範囲である、
ことができる。
(4)本発明のプラズマ処理装置は、上記(1)において、
前記エッジフレームは、その内縁が前記基板の外縁と離間して露出ギャップを形成する、
ことができる。
(5)本発明のプラズマ処理装置は、上記(4)において、
前記露出ギャップは、1mm~5mmの範囲である、
ことができる。
(6)本発明のプラズマ処理装置は、上記(4)において、
前記露出ギャップには、前記基板支持部の表面に絶縁物が設けられる、
ことができる。
(7)本発明のプラズマ処理装置は、上記(1)において、
前記エッジフレームの内縁は、前記電極マスク部の内縁よりも前記対向面に沿った方向で内方に位置する、
ことができる。
(8)本発明のプラズマ処理装置は、上記(7)において、
前記シャワープレートが処理ガスを前記成膜ギャップへと導入する複数のガス噴出口を有し、
前記成膜ギャップの最外周に位置する前記ガス噴出口は、前記基板の外縁よりも前記対向面に沿った方向で外方に位置し、かつ、前記電極マスク部の内縁よりも前記対向面に沿った方向で内方に位置する、
ことができる。
(9)本発明のプラズマ処理装置は、上記(8)において、
前記成膜ギャップの最外周に位置する前記ガス噴出口は、前記エッジフレームの内縁よりも前記対向面に沿った方向で外方に位置する、
ことができる。
(10)本発明のプラズマ処理装置は、上記(8)において、
前記成膜ギャップの最外周に位置する前記ガス噴出口は、前記電極マスク部の内縁に沿った列状に配置される、
ことができる。
(11)本発明のプラズマ処理装置は、上記(1)において、
前記エッジフレームを昇降駆動するエッジフレーム昇降駆動部を有する、
ことができる。
【0008】
(1)本発明の一態様にかかるプラズマ処理装置は、
プラズマ処理装置であって、
真空チャンバと、
前記真空チャンバの上部に配置されて反応室を形成する電極部を兼ねたシャワープレートと、
前記シャワープレートに接続されてプラズマを形成する高周波電力を印加する高周波電源と、
前記真空チャンバの下部に前記シャワープレートに対向して配置され、基板を載置して昇降可能な基板支持部と、
前記シャワープレートの外周部を前記基板および前記基板支持部に対して覆う電極マスク部と、
前記基板支持部の外周部を前記シャワープレートに対して覆うエッジフレームと、
を有し、
前記シャワープレートと前記基板とが互いに対向する対向面を有して成膜ギャップを形成し、
前記エッジフレームと前記電極マスク部とが互いに対向する対向面を有してマスクギャップを形成し、
前記マスクギャップは、前記成膜ギャップよりも小さい、
ことにより上記課題を解決した。
【0009】
上記の構成においては、Z方向において、マスクギャップを成膜ギャップよりも小さく設定することで、基板(ガラス基板)縁部の外側におけるガス流れを制御して、成膜中のガス流れを安定化することができる。これにより、基板中央部に比べて基板縁部の外側におけるプラズマ密度(電子密度)が低下することを抑制することができる。同時に、基板縁部付近でのプラズマ発生状態を安定化させることができる。したがって、基板中央部と基板縁部付近とのプラズマ密度を均一化すること、つまり、基板全面でのプラズマ密度の均一化を図ることができる。基板全面でのプラズマ処理(成膜)の均一化を図ることができる。
これにより、FPD製造等において、基板中央部に比べて基板端部におけるプラズマ成膜の膜厚が低下してしまうことを防止する。基板全面での膜厚分布を均一化して、膜厚分布を向上することができる。
同時に、基板縁部を基板マスクに代わるエッジフレームが覆わないことで、従来はできなかった基板縁部に対する成膜処理を可能とする。したがって、成膜範囲を拡大して、生産効率を向上し、さらに、成膜品質を向上することが可能となる。しかも、従来の基板マスクをエッジフレームに交換するだけで、少ない部品点数でこれらの効果を実現することができる。
【0010】
(2)本発明のプラズマ処理装置は、上記(1)において、
前記マスクギャップにおいて、前記エッジフレームの前記対向面は、前記基板の前記対向面よりも対向方向において前記電極マスク部に近接し、
前記成膜ギャップにおいて、前記電極マスク部の前記対向面は、前記シャワープレートの前記対向面よりも対向方向において前記エッジフレームに近接する、
ことができる。
(【0011】以降は省略されています)
この特許をJ-PlatPat(特許庁公式サイト)で参照する
関連特許
東ソー株式会社
絶縁電線
1か月前
APB株式会社
蓄電セル
28日前
個人
フレキシブル電気化学素子
1か月前
株式会社東芝
端子台
22日前
株式会社ユーシン
操作装置
1か月前
マクセル株式会社
電源装置
22日前
ローム株式会社
半導体装置
29日前
日新イオン機器株式会社
イオン源
1か月前
株式会社GSユアサ
蓄電装置
23日前
富士電機株式会社
電磁接触器
1日前
株式会社GSユアサ
蓄電設備
1か月前
株式会社GSユアサ
蓄電装置
15日前
株式会社GSユアサ
蓄電装置
23日前
株式会社GSユアサ
蓄電装置
1日前
三菱電機株式会社
回路遮断器
9日前
株式会社GSユアサ
蓄電設備
1か月前
株式会社ホロン
冷陰極電子源
1か月前
太陽誘電株式会社
コイル部品
1か月前
トヨタ自動車株式会社
蓄電装置
1か月前
日新イオン機器株式会社
基板処理装置
25日前
トヨタ自動車株式会社
バッテリ
28日前
日本特殊陶業株式会社
保持装置
1か月前
トヨタ自動車株式会社
冷却構造
1か月前
北道電設株式会社
配電具カバー
28日前
サクサ株式会社
電池の固定構造
1か月前
ノリタケ株式会社
熱伝導シート
1か月前
日本特殊陶業株式会社
保持装置
14日前
トヨタ自動車株式会社
蓄電装置
23日前
ヒロセ電機株式会社
電気コネクタ
1日前
トヨタ自動車株式会社
密閉型電池
24日前
日亜化学工業株式会社
半導体レーザ素子
25日前
株式会社デンソー
電子装置
25日前
株式会社トクヤマ
シリコンエッチング液
1か月前
株式会社トクヤマ
シリコンエッチング液
1か月前
株式会社レゾナック
冷却器
9日前
ベストテック株式会社
装置支持具
1か月前
続きを見る
他の特許を見る