TOP
|
特許
|
意匠
|
商標
特許ウォッチ
Twitter
他の特許を見る
10個以上の画像は省略されています。
公開番号
2025125484
公報種別
公開特許公報(A)
公開日
2025-08-27
出願番号
2024021572
出願日
2024-02-15
発明の名称
構造体および構造体の製造方法
出願人
株式会社FLOSFIA
代理人
主分類
C30B
29/16 20060101AFI20250820BHJP(結晶成長)
要約
【課題】品質の優れた構造体を提供することを課題とする。
【解決手段】基板と、前記基板上に直接または他の層を介して配置されて互いに隣り合い、且つ、結晶性酸化物を有する複数の半導体膜と、前記複数の半導体膜を互いに隔てる縁切部とを備える構造体。
【選択図】図1
特許請求の範囲
【請求項1】
基板と、
前記基板上に直接または他の層を介して配置されて互いに隣り合い、且つ、結晶性酸化物を有する複数の半導体膜と、
前記複数の半導体膜を互いに隔てる縁切部とを備える構造体。
続きを表示(約 630 文字)
【請求項2】
前記縁切部は、非晶質構造または前記複数の半導体膜の結晶構造とは異なる結晶構造を有する請求項1に記載の構造体。
【請求項3】
前記結晶性酸化物および前記縁切部の各々は、ガリウムを含む請求項2に記載の構造体。
【請求項4】
前記縁切部の上端は、前記複数の半導体膜よりも上方に位置する請求項1~3のいずれかに記載の構造体。
【請求項5】
前記縁切部の幅は、前記複数の半導体膜の厚さの3倍以上である請求項1~3のいずれかに記載の構造体。
【請求項6】
前記基板の表面には、前記複数の半導体膜の厚さよりも深い溝が形成され、
前記縁切部は、前記溝上に位置する請求項1~3のいずれかに記載の構造体。
【請求項7】
前記溝の縁は、前記基板の表面よりも上方に位置する請求項6に記載の構造体。
【請求項8】
前記基板の表面の一部には、他の部分よりも結晶成長が生じ難い領域が形成され、
前記縁切部は、前記領域に形成された請求項1に記載の構造体。
【請求項9】
前記縁切部は、前記結晶性酸化物に含まれる化合物とは異なる化合物を含む請求項1に記載の構造体。
【請求項10】
前記複数の半導体膜の厚さと前記縁切部の厚さとの差は、前記縁切部の幅よりも小さい請求項9に記載の構造体。
(【請求項11】以降は省略されています)
発明の詳細な説明
【技術分野】
【0001】
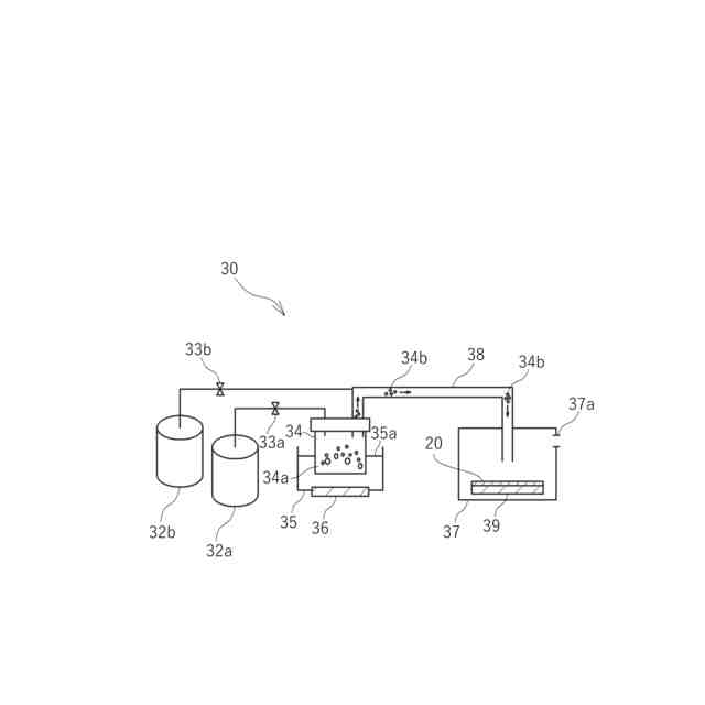
本開示は、構造体および構造体の製造方法に関する。
続きを表示(約 910 文字)
【背景技術】
【0002】
特許文献1には、下地基板上に、結晶性応力緩和層、半導体層、キャップ層および絶縁膜が形成された結晶体が開示されている。
【先行技術文献】
【特許文献】
【0003】
特許第5397794号
【発明の概要】
【発明が解決しようとする課題】
【0004】
前述した結晶体にあっては、反り、歪またはクラックなどが生じて、品質が低下する恐れがある。
【0005】
本開示は、品質の優れた構造体を提供することを課題とする。
【課題を解決するための手段】
【0006】
本開示の一態様の構造体は、基板と、前記基板上に直接または他の層を介して配置されて互いに隣り合い、且つ、結晶性酸化物を有する複数の半導体膜と、前記複数の半導体膜を互いに隔てる縁切部とを備える。
【0007】
本開示の一態様の構造体は、互いに隣り合い、且つ、結晶性酸化物を有する複数の半導体膜と、前記複数の半導体膜を互いに隔てる縁切部とを備える。
【0008】
本開示の一態様の構造体の製造方法は、基板の表面の一部を荒らして粗面を形成することと、前記粗面に縁切部を形成することと、前記基板の表面のうち前記粗面以外の部分に、前記縁切部を介して隔てられ、且つ、結晶性酸化物を有する複数の半導体膜を形成することとを含む。
【0009】
本開示の一態様の構造体の製造方法は、基板の表面に溝を形成することと、前記溝に縁切部を形成することと、前記基板の表面のうち前記溝以外の部分に、前記縁切部を介して隔てられ、且つ、結晶性酸化物を有する複数の半導体膜を形成することとを含む。
【0010】
本開示の一態様の構造体の製造方法は、基板の表面の一部に縁切部を形成することと、前記基板の表面のうち前記縁切部以外の部分に、前記縁切部を介して隔てられ、且つ、結晶性酸化物を有する複数の半導体膜を形成することとを含む。
【発明の効果】
(【0011】以降は省略されています)
この特許をJ-PlatPat(特許庁公式サイト)で参照する
関連特許
株式会社CUSIC
SiC積層体の製造方法
4か月前
SECカーボン株式会社
結晶成長装置
5か月前
住友金属鉱山株式会社
結晶育成装置
2か月前
学校法人 東洋大学
マルチカラー結晶の結晶成長方法
5か月前
株式会社FLOSFIA
構造体および構造体の製造方法
1か月前
株式会社SUMCO
単結晶の製造方法
3か月前
信越化学工業株式会社
炭化金属被覆材料
3か月前
コマディール・エス アー
サファイア棒状体の製造方法
4か月前
セイコーエプソン株式会社
人工水晶製造装置
1か月前
株式会社C&A
処理装置および方法
4か月前
日本碍子株式会社
AlN単結晶基板及びデバイス
15日前
株式会社レゾナック
SiCエピタキシャルウェハ
5か月前
住友金属鉱山株式会社
圧電性酸化物単結晶基板の製造方法
3か月前
住友金属鉱山株式会社
圧電性酸化物単結晶基板の製造方法
5か月前
住友金属鉱山株式会社
単結晶の育成方法及びその装置
5日前
住友電気工業株式会社
炭化珪素基板の製造方法
2か月前
住友電気工業株式会社
炭化珪素基板の製造方法
2か月前
住友化学株式会社
窒化物積層体の製造方法および窒化物積層体
2か月前
信越半導体株式会社
3C-SiC単結晶基板の評価方法
2か月前
旭化成株式会社
結晶の製造方法、六方晶系半導体結晶及び素子
5か月前
サイクリスタル ゲーエムベーハー
バルクSiC結晶の製造方法
19日前
株式会社SUMCO
単結晶シリコンインゴットの製造方法
3か月前
グローバルウェーハズ・ジャパン株式会社
半導体基板の製造方法
4か月前
株式会社Kanazawa Diamond
ダイヤモンド
4か月前
住友化学株式会社
窒化物結晶基板の製造方法、および窒化物結晶基板
5か月前
信越半導体株式会社
ヘテロエピタキシャルウェーハの製造方法
3か月前
学校法人 名城大学
結晶成長用基板の作製方法
1か月前
住友化学株式会社
窒化物結晶基板、および窒化物結晶基板の製造方法
3か月前
株式会社豊田中央研究所
種結晶基板および種結晶基板付黒鉛サセプタ
6か月前
株式会社レゾナック
SiCインゴット及びSiC基板の製造方法
3か月前
株式会社レゾナック
SiCインゴット及びSiC基板の製造方法
3か月前
学校法人 名城大学
半導体発光素子用エピウエハ
1か月前
株式会社SUMCO
エピタキシャルシリコンウェーハ及びその製造方法
4か月前
株式会社レゾナック
SiCインゴット及びSiCインゴットの製造方法
5か月前
国立大学法人茨城大学
Mg3Sb2薄膜の製造方法、Mg3Sb2薄膜
1か月前
SECカーボン株式会社
単結晶製造方法及び黒鉛坩堝
5か月前
続きを見る
他の特許を見る