TOP
|
特許
|
意匠
|
商標
特許ウォッチ
Twitter
他の特許を見る
10個以上の画像は省略されています。
公開番号
2025138592
公報種別
公開特許公報(A)
公開日
2025-09-25
出願番号
2025035435
出願日
2025-03-06
発明の名称
バルクSiC結晶の製造方法
出願人
サイクリスタル ゲーエムベーハー
代理人
個人
,
個人
主分類
C30B
29/36 20060101AFI20250917BHJP(結晶成長)
要約
【課題】より少ない応力を有するバルクSiC単結晶を作ることができる方法を提供する。
【解決手段】昇華成長によるバルクSiC単結晶の製造方法を提供する。ウェハー状単結晶SiC種結晶2にて、内部の初期応力測定を実行し、種結晶は、SiC成長を意図した表面3を有するウェハー前側4、ウェハー後側5及び軸方向に延びる結晶長手中間軸6を有し、半径方向が軸方向と垂直に指向している。SiC種結晶は応力測定結果を用いて、初期応力が第1応力境界値より低いときに第1クラスに分類され、初期応力が第1応力境界値から第2応力境界値までであるときに第2クラスに分類され、初期応力が第2応力境界値を超えるときに第3クラスに分類される。SiC種結晶が第1クラス又は第2クラスに分類されたときだけ、SiC種結晶を用いて昇華成長を実行し、第2クラスに分類された場合少なくとも1つの応力減少手段を実行する。
【選択図】図1
特許請求の範囲
【請求項1】
昇華成長によるバルクSiC単結晶の製造方法であって、
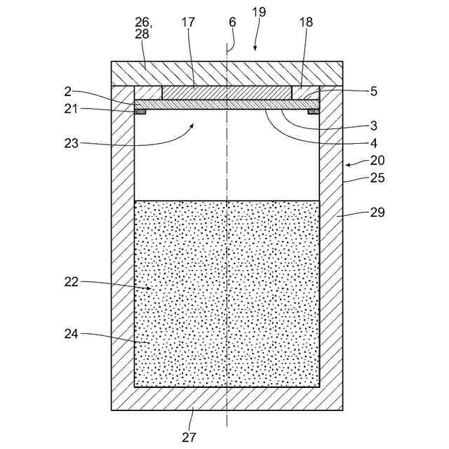
a) 内部の物理的な初期の種応力を検出するための応力測定を、ウェハー状の単結晶のSiC種結晶(2)にて実行し、前記SiC種結晶(2)は、成長させるべき前記バルクSiC単結晶の成長を意図した成長表面(3)を有するウェハー前側(4)、ウェハー後側(5)及び軸方向に延びる結晶長手中間軸(6)を有し、半径方向が前記軸方向と垂直に指向しており、
b) 前記応力測定を用いて、前記SiC種結晶(2)の分類を実行し、前記SiC種結晶(2)は、
b1)検出される前記初期の種応力が第1応力境界値より低いときに第1クラスに分類され、
b2)検出される前記初期の種応力が前記第1応力境界値から第2応力境界値までであるときに第2クラスに分類され、
b3)検出される前記初期の種応力が前記第2応力境界値を超えるときに第3クラスに分類され、
及び
c) 前記SiC種結晶(2)が前記第1クラス又は前記第2クラスに分類されたときだけ、前記バルクSiC単結晶が前記SiC種結晶(2)にて成長する実際の昇華成長を、前記SiC種結晶(2)を用いて実行し、
c1)前記第2クラスに分類された場合、少なくとも1つの応力減少手段を実行する、製造方法。
続きを表示(約 1,300 文字)
【請求項2】
応力測定を用いて、前記SiC種結晶(2)内の前記初期の種応力の応力分布を決定する、ことを特徴とする請求項1に記載の製造方法。
【請求項3】
前記結晶長手中間軸(6)上に配置される前記SiC種結晶(2)の中央と前記SiC種結晶(2)の半径方向縁領域(12)の間で測定される応力差であって、5MPa~15MPaの範囲内である、特に7.5MPa~12.5MPaの範囲内である、好ましくは10MPaである応力差が、第1応力境界値として使用される、ことを特徴とする請求項1又は2に記載の製造方法。
【請求項4】
前記結晶長手中間軸(6)上に配置される前記SiC種結晶(2)の中央と前記SiC種結晶(2)の半径方向縁領域(12)の間で測定される応力差であって、400MPa~600MPaの範囲内である、特に450MPa~550MPaの範囲内である、好ましくは500MPaである応力差が、第2応力境界値として使用される、ことを特徴とする請求項1~3のいずれか一項に記載の製造方法。
【請求項5】
前記SiC種結晶(2)の前記応力測定が、X線回折測定、中性子回折測定、ラマンシフトの測定又は光弾性の測定により実行される、ことを特徴とする請求項1~4のいずれか一項に記載の製造方法。
【請求項6】
前記少なくとも1つの応力減少手段が、前記SiC種結晶(2)の前記ウェハー後側(5)を複数の応力減少要素(17,18)に接触させることから成り、前記応力減少要素(17,18)は異なるレベルの熱伝導率を有する、ことを特徴とする請求項1~5のいずれか一項に記載の製造方法。
【請求項7】
前記少なくとも1つの応力減少手段が、前記昇華成長のための装置(30;34;46)の使用から成り、当該装置は、当該装置(30;34;46)に導入される前記SiC種結晶(2)の前記ウェハー後側(5)に軸方向に隣接する領域に少なくとも1つの横断キャビティ(33;39;48)を含む、ことを特徴とする請求項1~6のいずれか一項に記載の製造方法。
【請求項8】
前記横断キャビティ(33)が、前記SiC種結晶(2)の前記ウェハー後側(5)に直接隣接して配置される、ことを特徴とする請求項7に記載の製造方法。
【請求項9】
前記横断キャビティ(48)が、前記装置(46)のコンポーネントとして前記昇華成長のために使用される成長るつぼ(20)の軸方向前端壁(28,47)に配置される、ことを特徴とする請求項7又は8に記載の製造方法。
【請求項10】
前記少なくとも1つの応力減少手段が、前記昇華成長のために使用される成長るつぼ(20)を有する装置(40)から成り、当該装置(40)に導入される前記SiC種結晶(2)に隣接して配置される前記成長るつぼの軸方向前端壁(28,42)が少なくとも1つの凹部(45)を有する、ことを特徴とする請求項1~9のいずれか一項に記載の製造方法。
(【請求項11】以降は省略されています)
発明の詳細な説明
【技術分野】
【0001】
本発明は、昇華成長による少なくとも1つのバルクSiC結晶の製造方法に関する。
続きを表示(約 2,200 文字)
【背景技術】
【0002】
その優れた物理的、化学的、電気的及び光学特性の理由で、半導体材料炭化ケイ素(SiC)は、とりわけ、電力切り替え半導体部品のための、高周波部品のための及び特別な発光半導体部品のための出発原料として使用される。これらの部品(コンポーネント)は、最大の可能なサブストレート直径を有し、最高の可能な品質を有するSiCサブストレート(=SiCウェハー)を必要とする。これらは、高価値のバルクSiC単結晶を基礎とする。
【0003】
このようなバルクSiC単結晶は一般的に、物理気相輸送(PVT)により、例えば特許文献1に記載された昇華法により作られる。その場合、SiC種結晶としての単結晶SiCウェハーが、適切な原料物質と共に成長るつぼに導入される。制御された温度、圧力及びガス条件下で、原料物質が昇華される。ガス種(=SiC、Si
2
C、SiC
2
)が、軸方向の温度勾配の理由でSiC種結晶に輸送され、それらガス種はSiC成長気相からSiC種結晶上に析出され、バルクSiC単結晶が成長する。
【0004】
これらバルクSiC単結晶から、ウェハー状の単結晶SiCサブストレートが、例えばワイヤーソーによって切断され、次に、-特に-部品製造の一部としてのそれらの表面の多段階の研磨処理の後に、特にSiCから成る少なくとも1つのエピタキシャル層を備えられる。欠陥が一般的に、SiCサブストレートから適用されるエピタキシャル層に伝播され、ゆえに部品特性の劣化をもたらす。したがって、部品の品質は基本的に、成長したバルクSiC単結晶とそこから得られるSiCサブストレートの品質に依存する。
【0005】
使用されるSiCサブストレートの幾何学形状は部品のエピタキシャル層の製造にとって非常に重要である。よって、エピタキシャルリアクターにおいて、均質的且つ高品質のエピタキシャル層成長のために非常に重要である良好な熱カップリングは基本的に、相当な反りを有さないSiCサブストレートの場合にのみ実現される。対照的に、悪い幾何学的特性を有する、すなわち過度の量の反り及び/又は撓みを有するSiCサブストレートは、エピタキシャル工程からより悪い品質及び/又は低めの歩留まりを不可避的にもたらす。
【0006】
SiCサブストレートの品質を減少させ得るさらなる観点は材料内の応力である。成長されるバルクSiC結晶内に存在する応力は、具体的に、結晶欠陥(例えば、特に転移)の形成、さらなる工程中の破損、又はこのようなバルクSiC結晶から作られるSiCサブストレートにおける変形(上を参照)をもたらし得る。それにより、SiCサブストレートの経済的な製造能力が大いに損なわれる。さらには、このような応力誘起性の変形を有するSiCサブストレートは、限られた別な使用にしか利用できない。
【0007】
特許文献2は、SiCサブストレートがさらなる工程中に示す反りを見積もるためにSiCサブストレートにおけるこれら応力の測定を記載している。この目的に適した測定法は、SiC結晶格子でのラマン散乱又はラマンシフトの検出及び評価又はSiC結晶格子でのX線回折の検出及び評価に基づく。
【0008】
望まれない応力が、結晶成長のために必要な温度勾配という理由で成長工程中のSiC結晶成長中に生じ得る。これらの熱的効果は、一方で、材料輸送のための移動力が必要とされ(=SiC原料物質からSiC種結晶への温度差)、他方で、半径方向縁領域から結晶の中央の方向への欠陥の増殖を防止するために、成長するバルクSiC単結晶の成長境界(=成長表面)が或る凸状の湾曲を有さねばならない点で、作られる。しかしながら、バルクSiC単結晶における応力はまた、例えば成長るつぼとバルクSiC単結晶における異なる冷却挙動の理由のために実際の成長工程の後の冷却中に、るつぼ壁と成長されるバルクSiC単結晶の間で生じる力によって引き起こされ得る。よってこの場合、壁効果が原因である。材料内の応力の原因となる壁効果及び熱的効果は、SiC成長中に処理パラメータによってトリガー又は決定される。成長装置の適切な構造及び/又は適切な工程ガイドが、少なくともある程度、応力の原因としての熱的効果及び壁効果を弱める。
【0009】
特許文献3が、SiC種結晶内の温度が一様とされることを記載する。したがって、熱的効果から生じるSiC種結晶内の温度差及びそれゆえ内部応力は減少される。この目的のため、移動可能な適合要素を含むマルチパート断熱材がSiC種結晶の後側に配置される。前記適合要素の移動は、SiC種結晶の後側に設けられるキャビティ(空洞)がその寸法をそれぞれの(熱)条件に適合され得ることを意味する。しかしながら、この構造は複雑であり、ゆえに高価でもある。
【0010】
特許文献4は、壁効果によって引き起こされる応力を避けるために、内側層における多孔質グラファイト及び外側層における硬質グラファイトを備えた2層インサートが成長るつぼの内壁とSiC種結晶とそこで成長するバルクSiC単結晶の間にどのようにして導入されるかを記載する。
(【0011】以降は省略されています)
この特許をJ-PlatPat(特許庁公式サイト)で参照する
関連特許
SECカーボン株式会社
結晶成長装置
6か月前
株式会社CUSIC
SiC積層体の製造方法
5か月前
アムジエン・インコーポレーテツド
SLC30A8発現を阻害するためのRNAiコンストラクト及びその使用方法
1か月前
住友金属鉱山株式会社
結晶育成装置
3か月前
学校法人 東洋大学
マルチカラー結晶の結晶成長方法
6か月前
株式会社FLOSFIA
構造体および構造体の製造方法
2か月前
株式会社SUMCO
単結晶の製造方法
4か月前
信越化学工業株式会社
炭化金属被覆材料
5か月前
コマディール・エス アー
サファイア棒状体の製造方法
6か月前
セイコーエプソン株式会社
人工水晶製造装置
2か月前
株式会社C&A
処理装置および方法
5か月前
信越半導体株式会社
半導体ウェーハの製造方法
24日前
株式会社レゾナック
SiCエピタキシャルウェハ
6か月前
日本碍子株式会社
AlN単結晶基板及びデバイス
1か月前
住友金属鉱山株式会社
圧電性酸化物単結晶基板の製造方法
6か月前
住友金属鉱山株式会社
圧電性酸化物単結晶基板の製造方法
5か月前
住友金属鉱山株式会社
単結晶の育成方法及びその装置
1か月前
住友電気工業株式会社
炭化珪素基板の製造方法
3か月前
住友電気工業株式会社
炭化珪素基板の製造方法
3か月前
信越半導体株式会社
3C-SiC単結晶基板の評価方法
3か月前
住友化学株式会社
窒化物積層体の製造方法および窒化物積層体
3か月前
旭化成株式会社
結晶の製造方法、六方晶系半導体結晶及び素子
6か月前
サイクリスタル ゲーエムベーハー
バルクSiC結晶の製造方法
1か月前
株式会社Kanazawa Diamond
ダイヤモンド
6か月前
株式会社SUMCO
単結晶シリコンインゴットの製造方法
4か月前
グローバルウェーハズ・ジャパン株式会社
半導体基板の製造方法
5か月前
三菱マテリアル電子化成株式会社
シリコンインゴット
1か月前
株式会社豊田中央研究所
種結晶基板および種結晶基板付黒鉛サセプタ
7か月前
信越半導体株式会社
SiGe基板の作製方法及びSiGe基板
16日前
学校法人 名城大学
結晶成長用基板の作製方法
3か月前
信越半導体株式会社
ヘテロエピタキシャルウェーハの製造方法
4か月前
住友化学株式会社
窒化物結晶基板の製造方法、および窒化物結晶基板
6か月前
住友化学株式会社
窒化物結晶基板、および窒化物結晶基板の製造方法
4か月前
学校法人 名城大学
半導体発光素子用エピウエハ
3か月前
株式会社レゾナック
SiCインゴット及びSiC基板の製造方法
4か月前
株式会社レゾナック
SiCインゴット及びSiC基板の製造方法
4か月前
続きを見る
他の特許を見る