TOP
|
特許
|
意匠
|
商標
特許ウォッチ
Twitter
他の特許を見る
10個以上の画像は省略されています。
公開番号
2025112755
公報種別
公開特許公報(A)
公開日
2025-08-01
出願番号
2024007187
出願日
2024-01-22
発明の名称
炭化珪素基板の製造方法
出願人
住友電気工業株式会社
代理人
弁理士法人深見特許事務所
主分類
C30B
29/36 20060101AFI20250725BHJP(結晶成長)
要約
【課題】炭化珪素基板におけるクラックの発生を抑制可能な炭化珪素基板の製造方法を提供する。
【解決手段】炭化珪素基板の製造方法は、以下の工程を有している。ポリタイプが4Hである炭化珪素単結晶が準備される。炭化珪素単結晶は、第1端面と、第2端面と、外周面とを有している。第2端面は、第1端面の反対にある。外周面は、第1端面および第2端面の各々に連なっている。第1端面および第2端面の少なくとも一方において炭化珪素単結晶が研削される。外周面において炭化珪素単結晶が研削される。第1端面および第2端面の少なくとも一方において炭化珪素単結晶を研削する工程並びに外周面において炭化珪素単結晶を研削する工程の後に、炭化珪素単結晶を切断することによって炭化珪素ウェハが形成される。放電ワイヤ加工を用いて炭化珪素ウェハにノッチ部が形成される。
【選択図】図4
特許請求の範囲
【請求項1】
ポリタイプが4Hである炭化珪素単結晶を準備する工程を備え、
前記炭化珪素単結晶は、第1端面と、前記第1端面の反対にある第2端面と、前記第1端面および前記第2端面の各々に連なっている外周面とを有し、
前記第1端面および前記第2端面の少なくとも一方において前記炭化珪素単結晶を研削する工程と、
前記外周面において前記炭化珪素単結晶を研削する工程と、
前記第1端面および前記第2端面の少なくとも一方において前記炭化珪素単結晶を研削する工程並びに前記外周面において前記炭化珪素単結晶を研削する工程の後に、前記炭化珪素単結晶を切断することによって炭化珪素ウェハを形成する工程と、
放電ワイヤ加工を用いて前記炭化珪素ウェハにノッチ部を形成する工程とをさらに備える、炭化珪素基板の製造方法。
続きを表示(約 810 文字)
【請求項2】
前記ノッチ部に対して面取り加工を行う工程をさらに備える、請求項1に記載の炭化珪素基板の製造方法。
【請求項3】
前記面取り加工において、前記ノッチ部における削り量は、0.1mm以上である、請求項2に記載の炭化珪素基板の製造方法。
【請求項4】
ポリタイプが4Hである炭化珪素ウェハを準備する工程と、
放電ワイヤ加工を用いて前記炭化珪素ウェハにノッチ部を形成する工程とを備える、炭化珪素基板の製造方法。
【請求項5】
前記ノッチ部に対して面取り加工を行う工程をさらに備える、請求項4に記載の炭化珪素基板の製造方法。
【請求項6】
前記放電ワイヤ加工における印加電圧は、100V以上500V以下である、請求項1から請求項5のいずれか1項に記載の炭化珪素基板の製造方法。
【請求項7】
前記放電ワイヤ加工におけるワイヤの送り速度は、100m/分以上600m/分以下である、請求項1から請求項5のいずれか1項に記載の炭化珪素基板の製造方法。
【請求項8】
前記放電ワイヤ加工において、移動可能に構成されているステージの上に前記炭化珪素基板が配置され、
前記放電ワイヤ加工における前記ステージの送り速度は、0.5mm/分以上10mm/分以下である、請求項1から請求項5のいずれか1項に記載の炭化珪素基板の製造方法。
【請求項9】
前記外周面を研削する工程の後において、前記炭化珪素単結晶の直径は、150mm以上である、請求項1から請求項3のいずれか1項に記載の炭化珪素基板の製造方法。
【請求項10】
前記外周面を研削する工程の後において、前記炭化珪素単結晶の直径は、200mm以上である、請求項9に記載の炭化珪素基板の製造方法。
(【請求項11】以降は省略されています)
発明の詳細な説明
【技術分野】
【0001】
本開示は、炭化珪素基板の製造方法に関する。
続きを表示(約 1,800 文字)
【背景技術】
【0002】
特開2000-331897号公報(特許文献1)には、砥石を用いて、半導体ウェハの外周部にノッチを形成する半導体ウェハの製造方法が記載されている。
【先行技術文献】
【特許文献】
【0003】
特開2000-331897号公報
【発明の概要】
【発明が解決しようとする課題】
【0004】
特許文献1に記載の半導体ウェハの製造方法によれば、半導体ウェハにノッチを形成する際に、砥石と半導体ウェハとが接触する。このため、炭化珪素によって構成されている半導体ウェハにノッチを形成する場合、炭化珪素が硬い材料であることに起因して、半導体ウェハにクラックが発生することがある。
【0005】
本開示の目的は、炭化珪素基板におけるクラックの発生を抑制可能な炭化珪素基板の製造方法を提供することである。
【課題を解決するための手段】
【0006】
本開示に係る炭化珪素基板の製造方法は、以下の工程を備えている。ポリタイプが4Hである炭化珪素単結晶が準備される。炭化珪素単結晶は、第1端面と、第2端面と、外周面とを有している。第2端面は、第1端面の反対にある。外周面は、第1端面および第2端面の各々に連なっている。第1端面および第2端面の少なくとも一方において炭化珪素単結晶が研削される。外周面において炭化珪素単結晶が研削される。第1端面および第2端面の少なくとも一方において炭化珪素単結晶を研削する工程並びに外周面において炭化珪素単結晶を研削する工程の後に、炭化珪素単結晶を切断することによって炭化珪素ウェハが形成される。放電ワイヤ加工を用いて炭化珪素ウェハにノッチ部が形成される。
【発明の効果】
【0007】
本開示によれば、炭化珪素基板におけるクラックの発生を抑制可能な炭化珪素基板の製造方法を提供することができる。
【図面の簡単な説明】
【0008】
図1は、第1実施形態に係る炭化珪素基板の構成を示す平面模式図である。
図2は、図1のII-II線に沿った断面模式図である。
図3は、第2実施形態に係る炭化珪素基板の構成を示す断面模式図である。
図4は、本実施形態に係る炭化珪素基板の製造方法を概略的に示すフロー図である。
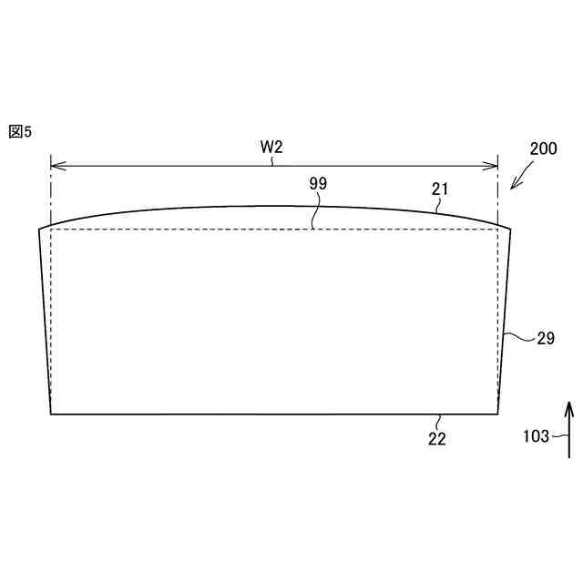
図5は、炭化珪素単結晶を準備する工程を示す断面模式図である。
図6は、放電ワイヤ加工を用いて炭化珪素ウェハにノッチ部を形成する工程を示す模式図である。
図7は、放電ワイヤ加工を用いて炭化珪素ウェハにノッチ部を形成する工程を示す平面模式図である。
図8は、円弧状部に対して面取り加工を行う工程を示す模式図である。
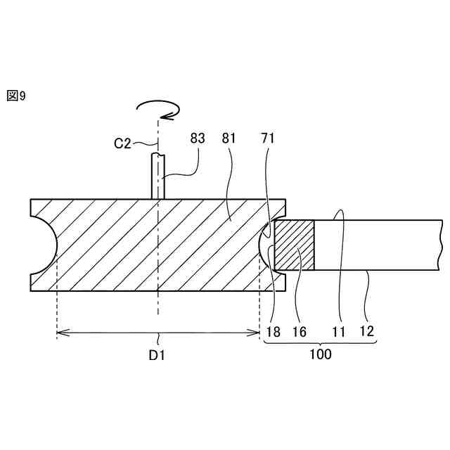
図9は、円弧状部に対して面取り加工を行う工程を示す部分断面模式図である。
図10は、ノッチ部に対して面取り加工を行う工程を示す拡大平面模式図である。
図11は、ノッチ部に対して面取り加工を行う工程を示す部分断面模式図である。
【発明を実施するための形態】
【0009】
[本開示の実施形態の説明]
最初に本開示の実施態様を列記して説明する。
【0010】
(1)本開示に係る炭化珪素基板の製造方法は、以下の工程を有している。ポリタイプが4Hである炭化珪素単結晶が準備される。炭化珪素単結晶は、第1端面と、第2端面と、外周面とを有している。第2端面は、第1端面の反対にある。外周面は、第1端面および第2端面の各々に連なっている。第1端面および第2端面の少なくとも一方において炭化珪素単結晶が研削される。外周面において炭化珪素単結晶が研削される。第1端面および第2端面の少なくとも一方において炭化珪素単結晶を研削する工程並びに外周面において炭化珪素単結晶を研削する工程の後に、炭化珪素単結晶を切断することによって炭化珪素ウェハが形成される。放電ワイヤ加工を用いて炭化珪素ウェハにノッチ部が形成される。これによって、砥石を用いてノッチ部を形成する場合と比較して、炭化珪素基板におけるクラックの発生を抑制できる。
(【0011】以降は省略されています)
この特許をJ-PlatPat(特許庁公式サイト)で参照する
関連特許
住友電気工業株式会社
受光素子
24日前
住友電気工業株式会社
光検出装置
26日前
住友電気工業株式会社
炭化珪素半導体装置
3日前
住友電気工業株式会社
光コネクタおよび接続構造
3日前
住友電気工業株式会社
窒化物半導体装置の製造方法
11日前
住友電気工業株式会社
アバランシェフォトダイオード
19日前
住友電気工業株式会社
タンク、およびレドックスフロー電池システム
4日前
住友電気工業株式会社
半導体装置の製造方法および半導体装置の検査方法
3日前
住友電気工業株式会社
半導体装置の製造方法および半導体装置の検査方法
3日前
住友電気工業株式会社
半導体装置の製造方法および半導体装置の検査方法
3日前
住友電気工業株式会社
画像処理装置、画像処理方法及び画像処理プログラム
25日前
住友電気工業株式会社
窒化物半導体装置および窒化物半導体装置の製造方法
3日前
住友電気工業株式会社
画像処理装置、画像処理方法及び画像処理プログラム
11日前
住友電気工業株式会社
電力変換システム、制御方法、コンピュータプログラム
11日前
住友電気工業株式会社
宅側装置、光通信システム、及びサブキャリアの選択方法
4日前
住友電気工業株式会社
絶縁層用樹脂組成物、絶縁電線および絶縁電線の製造方法
25日前
住友電気工業株式会社
プリント配線板用露光装置およびプリント配線板の製造方法
3日前
株式会社オートネットワーク技術研究所
電装品
24日前
株式会社オートネットワーク技術研究所
雌端子
1か月前
株式会社オートネットワーク技術研究所
電装品
24日前
住友電気工業株式会社
マルチコア光ファイバ
11日前
住友電気工業株式会社
高電子移動度トランジスタおよび高電子移動度トランジスタの製造方法
11日前
株式会社オートネットワーク技術研究所
端子金具
3日前
株式会社オートネットワーク技術研究所
端子金具
3日前
株式会社オートネットワーク技術研究所
コネクタ
11日前
株式会社オートネットワーク技術研究所
端子金具
3日前
株式会社オートネットワーク技術研究所
端子金具
3日前
株式会社オートネットワーク技術研究所
固定部材
25日前
株式会社オートネットワーク技術研究所
コネクタ
3日前
株式会社オートネットワーク技術研究所
電気接続箱
5日前
株式会社オートネットワーク技術研究所
基板用コネクタ
11日前
株式会社オートネットワーク技術研究所
電子部品モジュール
12日前
住友電気工業株式会社
導電部材、燃料電池および電解装置
5日前
株式会社オートネットワーク技術研究所
オプション機器追加用内装部材
11日前
株式会社オートネットワーク技術研究所
基板用コネクタ及びコネクタ装置
11日前
住友電気工業株式会社
レドックスフロー電池用電極、レドックスフロー電池セル、およびレドックスフロー電池システム
19日前
続きを見る
他の特許を見る