TOP
|
特許
|
意匠
|
商標
特許ウォッチ
Twitter
他の特許を見る
10個以上の画像は省略されています。
公開番号
2025070383
公報種別
公開特許公報(A)
公開日
2025-05-02
出願番号
2023180655
出願日
2023-10-19
発明の名称
結晶成長装置
出願人
SECカーボン株式会社
代理人
個人
主分類
C30B
23/06 20060101AFI20250424BHJP(結晶成長)
要約
【課題】本発明は、坩堝内に収容された原料加熱の均一性を向上することができる結晶成長装置の提供を目的とする。
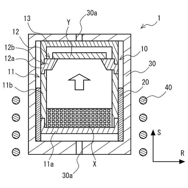
【解決手段】本発明の結晶成長装置は、昇華法による単結晶基板の製造に用いられる結晶成長装置であって、上記単結晶基板の原料を収容する原料収容部、上記単結晶基板の種結晶を取り付ける種結晶取付部及び蓋部がこの順に積み重ねられる坩堝と、上記原料を加熱可能に配置される加熱板と、上記原料収容部及び上記加熱板の外側に配置され、上記加熱板を加熱する誘導コイルとを備え、上記原料収容部、上記種結晶取付部及び上記蓋部が積み重ねられる積重方向の上記加熱板の熱伝導率が、上記積重方向に垂直で上記原料収容部の外側に向かう外方向の上記加熱板の熱伝導率より大きい。
【選択図】図1
特許請求の範囲
【請求項1】
昇華法による単結晶基板の製造に用いられる結晶成長装置であって、
上記単結晶基板の原料を収容する原料収容部、上記単結晶基板の種結晶を取り付ける種結晶取付部及び蓋部がこの順に積み重ねられる坩堝と、
上記原料を加熱可能に配置される加熱板と、
上記原料収容部及び上記加熱板の外側に配置され、上記加熱板を加熱する誘導コイルと
を備え、
上記原料収容部、上記種結晶取付部及び上記蓋部が積み重ねられる積重方向の上記加熱板の熱伝導率が、上記積重方向に垂直で上記原料収容部の外側に向かう外方向の上記加熱板の熱伝導率より大きい結晶成長装置。
続きを表示(約 500 文字)
【請求項2】
上記加熱板が上記原料収容部の外側に配置される請求項1に記載の結晶成長装置。
【請求項3】
上記加熱板及び上記誘導コイルが、上記種結晶取付部の外側には配置されていない請求項2に記載の結晶成長装置。
【請求項4】
上記加熱板及び上記誘導コイルが、上記種結晶取付部及び上記蓋部の外側に配置されている請求項2に記載の結晶成長装置。
【請求項5】
上記原料収容部が、底部と側壁とを有し、
上記加熱板が、上記側壁を取り囲むように配置されており、
上記誘導コイルが、上記加熱板を取り囲むように配置されている請求項2に記載の結晶成長装置。
【請求項6】
上記加熱板の一部が、上記底部より上記蓋部と反対方向に突出している請求項5に記載の結晶成長装置。
【請求項7】
上記加熱板の上記積重方向の熱伝導率が、上記坩堝の熱伝導率よりも大きい請求項1から請求項6のいずれか1項に記載の結晶成長装置。
【請求項8】
上記単結晶基板が、SiCである請求項1から請求項6のいずれか1項に記載の結晶成長装置。
発明の詳細な説明
【技術分野】
【0001】
本発明は、結晶成長装置に関する。
続きを表示(約 1,400 文字)
【背景技術】
【0002】
炭化珪素(SiC)の単結晶基板を得る方法として、昇華法が公知である(例えば特開2021-88476号公報参照)。昇華法による炭化珪素単結晶の製造方法では、昇華させた炭化珪素原料(SiC原料)を種結晶上に再結晶化させることで炭化珪素の単結晶を成長させている。
【0003】
単結晶を得るには、昇華させる原材料を均一に加熱することが必要となる。原材料に温度ムラが存在する場合、異なる型の結晶が成長し多結晶化し易い。このため、上記公報に記載の結晶成長装置では、誘導コイルに加えて、坩堝と誘導コイルとの間に複数の加熱部を設け、それぞれの加熱部を上記坩堝の高さ方向に間隔を置いて配置する等の工夫がなされている。
【先行技術文献】
【特許文献】
【0004】
特開2021-88476号公報
【発明の概要】
【発明が解決しようとする課題】
【0005】
上記公報に記載の結晶成長装置は、坩堝内に収容された原料加熱の均一化を図れるとされている。しかし、誘導コイルによる加熱は加熱対象の角部等に集中する傾向にあり、依然として特に高さ方向に温度勾配が生じ易い。原料加熱の均一性には依然として改善の余地がある。
【0006】
本発明は、以上のような事情に基づいてなされたものであり、坩堝内に収容された原料加熱の均一性を向上することができる結晶成長装置の提供を目的とする。
【課題を解決するための手段】
【0007】
(1)本発明の一態様に係る結晶成長装置は、昇華法による単結晶基板の製造に用いられる結晶成長装置であって、上記単結晶基板の原料を収容する原料収容部、上記単結晶基板の種結晶を取り付ける種結晶取付部及び蓋部がこの順に積み重ねられる坩堝と、上記原料を加熱可能に配置される加熱板と、上記原料収容部及び上記加熱板の外側に配置され、上記加熱板を加熱する誘導コイルとを備え、上記原料収容部、上記種結晶取付部及び上記蓋部が積み重ねられる積重方向の上記加熱板の熱伝導率が、上記積重方向に垂直で上記原料収容部の外側に向かう外方向の上記加熱板の熱伝導率より大きい。
【0008】
当該結晶成長装置は、誘導コイルと、原料を加熱可能な加熱板とが配置されているので、この加熱板を介した熱伝導又は輻射熱により原料加熱の均一化を図ることができる。また、上記加熱板は、積重方向の熱伝導率が外方向の熱伝導率より大きい。このため、加熱板自体の熱は特に積重方向に速やかに拡散し、原料加熱の均一性が向上する。
【0009】
(2)上記(1)の結晶成長装置において、上記加熱板が上記原料収容部の外側に配置されるとよい。このように上記加熱板を上記原料収容部の外側に配置することで、原料加熱の均一性をさらに向上できる。
【0010】
(3)上記(2)の結晶成長装置において、上記加熱板及び上記誘導コイルが、上記種結晶取付部の外側には配置されていないとよい。このように上記加熱板及び上記誘導コイルを上記種結晶取付部の外側には配置しないことで、種結晶の温度を原料の温度よりも低く保ち易く、単結晶の成長速度を向上できる。
(【0011】以降は省略されています)
この特許をJ-PlatPat(特許庁公式サイト)で参照する
関連特許
株式会社CUSIC
SiC積層体の製造方法
4か月前
SECカーボン株式会社
結晶成長装置
5か月前
住友金属鉱山株式会社
結晶育成装置
2か月前
学校法人 東洋大学
マルチカラー結晶の結晶成長方法
4か月前
株式会社FLOSFIA
構造体および構造体の製造方法
1か月前
株式会社SUMCO
単結晶の製造方法
3か月前
信越化学工業株式会社
炭化金属被覆材料
3か月前
コマディール・エス アー
サファイア棒状体の製造方法
4か月前
セイコーエプソン株式会社
人工水晶製造装置
1か月前
株式会社C&A
処理装置および方法
4か月前
日本碍子株式会社
AlN単結晶基板及びデバイス
13日前
株式会社レゾナック
SiCエピタキシャルウェハ
5か月前
住友金属鉱山株式会社
圧電性酸化物単結晶基板の製造方法
3か月前
住友金属鉱山株式会社
圧電性酸化物単結晶基板の製造方法
5か月前
住友金属鉱山株式会社
単結晶の育成方法及びその装置
3日前
旭化成株式会社
結晶の製造方法、六方晶系半導体結晶及び素子
5か月前
住友電気工業株式会社
炭化珪素基板の製造方法
2か月前
住友電気工業株式会社
炭化珪素基板の製造方法
2か月前
信越半導体株式会社
3C-SiC単結晶基板の評価方法
2か月前
住友化学株式会社
窒化物積層体の製造方法および窒化物積層体
2か月前
グローバルウェーハズ・ジャパン株式会社
半導体基板の製造方法
4か月前
サイクリスタル ゲーエムベーハー
バルクSiC結晶の製造方法
17日前
株式会社SUMCO
単結晶シリコンインゴットの製造方法
3か月前
株式会社Kanazawa Diamond
ダイヤモンド
4か月前
学校法人 名城大学
結晶成長用基板の作製方法
1か月前
住友化学株式会社
窒化物結晶基板、および窒化物結晶基板の製造方法
3か月前
住友化学株式会社
窒化物結晶基板の製造方法、および窒化物結晶基板
5か月前
信越半導体株式会社
ヘテロエピタキシャルウェーハの製造方法
3か月前
学校法人 名城大学
半導体発光素子用エピウエハ
1か月前
株式会社レゾナック
SiCインゴット及びSiC基板の製造方法
3か月前
株式会社レゾナック
SiCインゴット及びSiC基板の製造方法
3か月前
株式会社SUMCO
エピタキシャルシリコンウェーハ及びその製造方法
3か月前
株式会社レゾナック
SiCインゴット及びSiCインゴットの製造方法
5か月前
SECカーボン株式会社
単結晶製造方法及び黒鉛坩堝
4か月前
国立大学法人茨城大学
Mg3Sb2薄膜の製造方法、Mg3Sb2薄膜
1か月前
国立大学法人東海国立大学機構
金属ナノワイヤ製造方法および金属ナノワイヤデバイス
2か月前
続きを見る
他の特許を見る